Вернуться на главную
Поиск
Каталоги запчастей к технике
Спецтехника
Ammann
ASC 100
Hydraulic cylinder
Каталог запасных частей к технике: Ammann ASC 100. Hydraulic cylinder
zoom-in
zoom-out
enlarge
shrink
circle-right
circle-left
file-text2
info
cart
Тип техники
Не выбрано
Легковые автомобили
Грузовые автомобили и прицепы
Автобусы
Сельхозтехника
Спецтехника
Двигатели
Мототехника
Марка
Не выбрано
Ammann
BOMAG
CARMIX
CASE IH
Changlin
ChengGong
Dimex
Doosan
DYNAPAC
Foton
HAMM
Hidromek
Hitachi
Hyundai
JCB
JLG
John Deere
Komatsu
LIEBHERR
LiuGong
Lonking (LongGong)
Luneng
MANITOU
Mitsuber
New Holland
PENGPU
RM-Terex
SANY
SDLG
SEM
Shantui
Shehwa HBXG
Soosan
TIGARBO
VOGELE
Volvo
WAY
WIRTGEN
XCMG
XGMA
Xiamen
YTO
Yuchai
Zoomlion
Автокран
АЗСМ
Алтайлесмаш
Амкодор
АОМЗ
Атек
АТЗ
Балканкар Рекорд
БелАЗ
Беловеж
Борекс
Брянский Арсенал
Булат
ВЭКС
ГАЗ
Геомаш
Гидромаш
Донекс
Дормаш
Дормашина
Дорэлектромаш
ДЭЗ
ЕлАЗ
ЗЗГТ
Ижнефтемаш
Канаш-электрокар
КЗКТ
ККЗ
Клевер
Клинцовский автокрановый завод
КМЗ
КМЗ 1 Мая
Ковровец
Коммаш
Кранэкс
КЭЗ
КЭМЗ
ЛЗА
МАЗ
МЗИК
МЗКМ
МЗКТ
Михневский РМЗ
МоАЗ
Мозырский МЗ
МТЗ
ОЗП
Онежец
ПАО "ТЗА"
ППС Детва
Промтрактор
ПТЗ
Раскат
СпецАгрегат
ТВЭКС
ТТМ
УВЗ
Угличмаш
УЗТМ
ХТЗ
ЧЗКМ
ЧСДМ
ЧТЗ
ЭКСКО
ЭКСМАШ
ЮрМаш
Модель
Не выбрано
AP 240 (2008)
AP 240 (2011)
AP 240 (2012)
ARP 35 (2015)
ARS122 (2018)
ARW 65 (2012)
ASC 100 (2011)
ASC 100 (2012)
ASC 100 (2012)
ASC 100 (2013)
ASC 110 (2011)
ASC 120 (2011)
ASC 170 (2014)
AV 110 X (2007)
AV 70X (2013)
AV110X (2014)
AV12-2 (2009)
AV16-2 (2009)
AV16-2K (2009)
AV20-2 (2009)
Схема
>
Не выбрано
Spare part catalogue ASC 100
Engine
Engine
Set of pumps
Cooling system
Intake and exhaust pipe
Drive
Drum
Moteur hydraulique
Shock Mounts
Vibrator
Drum drive
Tyred wheel
Tyred wheel
Tyred wheel
Tyred wheel
Drive
Frame
Drum frame
Smooth scraper
Joint
Hose holder
Frame rear
Tank cap
Left stairs
Cover
Thermal barrier
Tank accessories
Screen
Left hatch
Joint lock
Cab
Operator seat
Operator platform
Pipe
Railing wiring
Platform mounting
Control
Travel controls
Cover
Cover hood
Cover hood
Protective cover
Hydraulic
Driving hydraulics
Vibration hydraulics
Steering hydraulics
Hydraulic oil tank
Steer cylinder
Lifting hydraulics
Fluid motor
Hydraulic cylinder
Fluid motor
Hydraulic cylinder
Hand pump
Housing
Piston
Electrical installation
Electrical installation
Plate
Basic equipment
Signs
Set
Accessories
Option
Rammer butt drum
Fluid motor
Scraper
Lock
Operator platform
Retractor belt
Operator platform
Pipe
Cab
Roof FOPS
Cab
Cab
Cab
Cab
Set
Pre-filter
Cab wiring
Windscreen wiper rear
Windscreen wiper
Windscreen wiper
Warning light
Reversing alarm
Press switch
Lock
Drum lock
Lamp
Instrument panel
Cover
Cover
Toolbox
Door
Tool kit
Set of spare parts
Set of spare parts
Segment
Screw clamp
Protective frame
Heating
Heating
Electrical installation
Heating connection
Air conditioning system
Tyre inflation system
Roof tarpaulin
Roof tarpaulin
Roof support
Roof
Roof
Roof
1
1
1
1
1
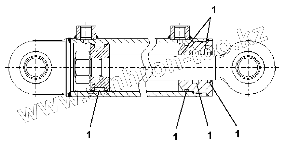
Позиция на иллюстрации
Заводской номер детали
Название детали
4-5451180154
4-5451180154
Hydraulic cylinder
1
4-8300750681
Gasket
Содержащиеся в справочниках-каталогах запасные части и детали не предлагаются к продаже, а носят исключительно информационный характер
Дополнительная информация
×
Название:
Номер:
Примечание: