Вернуться на главную
Поиск
Каталоги запчастей к технике
Спецтехника
Ammann
ASC 100
Hand pump
Каталог запасных частей к технике: Ammann ASC 100. Hand pump
zoom-in
zoom-out
enlarge
shrink
circle-right
circle-left
file-text2
info
cart
Тип техники
Не выбрано
Легковые автомобили
Грузовые автомобили и прицепы
Автобусы
Сельхозтехника
Спецтехника
Двигатели
Мототехника
Марка
Не выбрано
Ammann
BOMAG
CARMIX
CASE IH
Changlin
ChengGong
Dimex
Doosan
DYNAPAC
Foton
HAMM
Hidromek
Hitachi
Hyundai
JCB
JLG
John Deere
Komatsu
LIEBHERR
LiuGong
Lonking (LongGong)
Luneng
MANITOU
Mitsuber
New Holland
PENGPU
RM-Terex
SANY
SDLG
SEM
Shantui
Shehwa HBXG
Soosan
TIGARBO
VOGELE
Volvo
WAY
WIRTGEN
XCMG
XGMA
Xiamen
YTO
Yuchai
Zoomlion
Автокран
АЗСМ
Алтайлесмаш
Амкодор
АОМЗ
Атек
АТЗ
Балканкар Рекорд
БелАЗ
Беловеж
Борекс
Брянский Арсенал
Булат
ВЭКС
ГАЗ
Геомаш
Гидромаш
Донекс
Дормаш
Дормашина
Дорэлектромаш
ДЭЗ
ЕлАЗ
ЗЗГТ
Ижнефтемаш
Канаш-электрокар
КЗКТ
ККЗ
Клевер
Клинцовский автокрановый завод
КМЗ
КМЗ 1 Мая
Ковровец
Коммаш
Кранэкс
КЭЗ
КЭМЗ
ЛЗА
МАЗ
МЗИК
МЗКМ
МЗКТ
Михневский РМЗ
МоАЗ
Мозырский МЗ
МТЗ
ОЗП
Онежец
ПАО "ТЗА"
ППС Детва
Промтрактор
ПТЗ
Раскат
СпецАгрегат
ТВЭКС
ТТМ
УВЗ
Угличмаш
УЗТМ
ХТЗ
ЧЗКМ
ЧСДМ
ЧТЗ
ЭКСКО
ЭКСМАШ
ЮрМаш
Модель
Не выбрано
AP 240 (2008)
AP 240 (2011)
AP 240 (2012)
ARP 35 (2015)
ARS122 (2018)
ARW 65 (2012)
ASC 100 (2011)
ASC 100 (2012)
ASC 100 (2012)
ASC 100 (2013)
ASC 110 (2011)
ASC 120 (2011)
ASC 170 (2014)
AV 110 X (2007)
AV 70X (2013)
AV110X (2014)
AV12-2 (2009)
AV16-2 (2009)
AV16-2K (2009)
AV20-2 (2009)
Схема
>
Не выбрано
Engine
Engine
Set of pumps
Cooling system
Intake and exhaust pipe
Drive
Smooth drum
Shock Mounts
Vibrator
Drum drive
Tyred wheel
Drive
Frame
Drum frame
Smooth scraper
Joint
Hose holder
Rear frame
Tank cap
Left stairs
Cover
Thermal barrier
Tank accessories
Screen
Left hatch
Joint lock
Cab
Operator platform
Pipe
Railing wiring
Platform mounting
Control
Travel controls
Cover
Cover hood
Cover hood
Protective cover
Hydraulic
Driving hydraulics
Vibration hydraulics
Steering hydraulics
Hydraulic oil tank
Steer cylinder
Lifting hydraulics
Fluid motor
Hydraulic cylinder
Fluid motor
Hydraulic cylinder
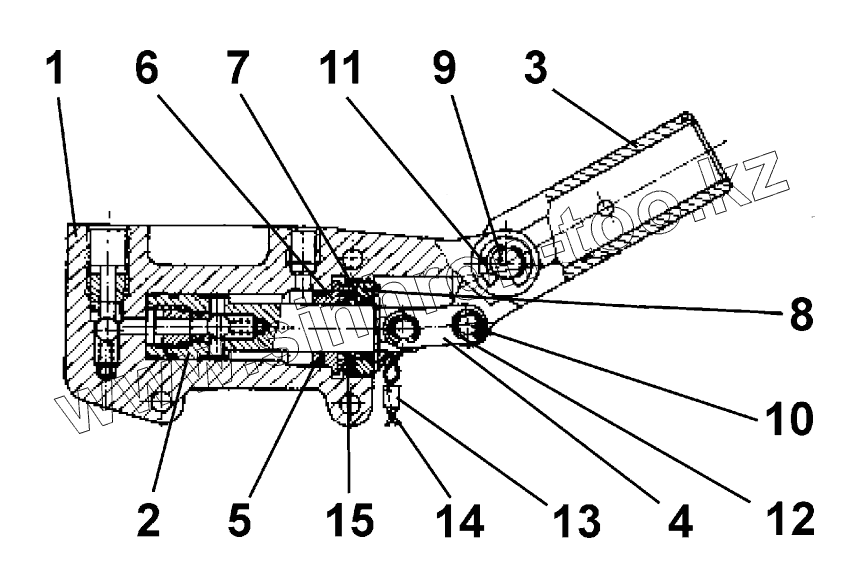
Hand pump
Housing
Piston
Electrical system
Electrical installation
Instrument panel
Basic equipment
Signs
Signs
Signs
Signs
Plate
Accessories
Option
Rammer butt drum
Tyred wheel
Tyred wheel
Tyred wheel
Scraper
Lock
Platform
Retractor belt
Cab seat
Plattform
Cab
Roof FOPS
Cab
Cab
Cab
Cabin equipment
Cab set without air conditioning
Pre-filter
Cab wiring
Windscreen wiper rear
Windscreen wiper
Windscreen wiper
Warning light
Reversing alarm
Press switch
Lock
Drum lock
Instrument panel
Cover
Cover
Toolbox
Door
Tool kit
Set of spare parts
Set of spare parts
Segment
Screw clamp
Protective frame
Heating
Heating
Electrical installation
Heater connection
Air conditioning system
Tyre inflation system
Canvas canopy for the revolving light
Roof tarpaulin
Roof support
Roof
1
2
3
4
5
6
7
8
9
10
11
12
13
14
15
Позиция на иллюстрации
Заводской номер детали
Название детали
4-5451080041
4-5451080041
Hand pump
1
4-STP12219020
Housing
2
4-STP12219030
Piston
3
4-TP12209050
Plug
4
4-TP12200030
Clutch
5
4-TP12210060
Insert
6
4-TP19440530
Ring
7
4-TP19450190
Stripper ring
8
4-TP12210070
Screw
9
4-TP12200050
Bolt
10
4-TP12200040
Bolt
11
4-TP19760810
Ring
12
4-TP19760800
Ring
13
4-TP19910010
Lead seal
14
4-TP99120010
Wire
15
4-TPH19440140
Ring
Содержащиеся в справочниках-каталогах запасные части и детали не предлагаются к продаже, а носят исключительно информационный характер
Дополнительная информация
×
Название:
Номер:
Примечание: