Вернуться на главную
Поиск
Каталоги запчастей к технике
Спецтехника
Ammann
AP 240
ТУМБА;FOOT
Каталог запасных частей к технике: Ammann AP 240. ТУМБА;FOOT
zoom-in
zoom-out
enlarge
shrink
circle-right
circle-left
file-text2
info
cart
Тип техники
Не выбрано
Легковые автомобили
Грузовые автомобили и прицепы
Автобусы
Сельхозтехника
Спецтехника
Двигатели
Мототехника
Марка
Не выбрано
Ammann
BOMAG
CARMIX
CASE IH
Changlin
ChengGong
Dimex
Doosan
DYNAPAC
Foton
HAMM
Hidromek
Hitachi
Hyundai
JCB
JLG
John Deere
Komatsu
LIEBHERR
LiuGong
Lonking (LongGong)
Luneng
MANITOU
Mitsuber
New Holland
PENGPU
RM-Terex
SANY
SDLG
SEM
Shantui
Shehwa HBXG
Soosan
TIGARBO
VOGELE
Volvo
WAY
WIRTGEN
XCMG
XGMA
Xiamen
YTO
Yuchai
Zoomlion
Автокран
АЗСМ
Алтайлесмаш
Амкодор
АОМЗ
Атек
АТЗ
Балканкар Рекорд
БелАЗ
Беловеж
Борекс
Брянский Арсенал
Булат
ВЭКС
ГАЗ
Геомаш
Гидромаш
Донекс
Дормаш
Дормашина
Дорэлектромаш
ДЭЗ
ЕлАЗ
ЗЗГТ
Ижнефтемаш
Канаш-электрокар
КЗКТ
ККЗ
Клевер
Клинцовский автокрановый завод
КМЗ
КМЗ 1 Мая
Ковровец
Коммаш
Кранэкс
КЭЗ
КЭМЗ
ЛЗА
МАЗ
МЗИК
МЗКМ
МЗКТ
Михневский РМЗ
МоАЗ
Мозырский МЗ
МТЗ
ОЗП
Онежец
ПАО "ТЗА"
ППС Детва
Промтрактор
ПТЗ
Раскат
СпецАгрегат
ТВЭКС
ТТМ
УВЗ
Угличмаш
УЗТМ
ХТЗ
ЧЗКМ
ЧСДМ
ЧТЗ
ЭКСКО
ЭКСМАШ
ЮрМаш
Модель
Не выбрано
AP 240 (2008)
AP 240 (2011)
AP 240 (2012)
ARP 35 (2015)
ARS122 (2018)
ARW 65 (2012)
ASC 100 (2011)
ASC 100 (2012)
ASC 100 (2012)
ASC 100 (2013)
ASC 110 (2011)
ASC 120 (2011)
ASC 170 (2014)
AV 110 X (2007)
AV 70X (2013)
AV110X (2014)
AV12-2 (2009)
AV16-2 (2009)
AV16-2K (2009)
AV20-2 (2009)
Схема
>
Не выбрано
СОДЕРЖАНИЕ;CONTENTS
ПЕРЕДНЯЯ ОСЬ;FRONT AXLE
ОПОРА ПЕРЕДНЯЯ;FRONT FOOT
ТУМБА;FOOT
КОЛЬЦО;WHEEL
КОЛЬЦО;WHEEL
ОБЛИЦОВКА ЖЁЛТАЯ;COWLING YELLOW
ОБЛИЦОВКА ЧЁЕРНАЯ;COWLING BLACK
ПОДВЕС;SUSPENSION
СКРЕБКИ;SCRAPERS
СКРЕБКИ;SPRING PLUG
ПОРШЕНЬ;PISTON
СКРЕБКИ;SCRAPERS
СКРЕБКИ;SCRAPERS
ВЫПУСК;DISCHARGE
РАМА;FRAME
РАМА;FRAME
ТОЛПИВНЫЙ БАК;FUEL TANK
КОЖУХ;FRONT COVER
СТУПЕНЬ;STEP
РАМА;WATER PROOF FRAME
РАМА;WATER PROOF FRAME
ТОРМОЗ;BRAKE ASSY
УВЛАЖНЕНИЕ;SPRINKLING
ТРУБКА;PIPE
ДВИГАТЕЛЬ;ENGINE
РЕСЕРВУАР;EQUALIZER TANK
ПОДВОД ТОПЛИВА;FUEL SUPPLY
ПРОПЕЛЛЕР;PROPELLER
ВСАСЫВАНИЕ;SUCTION
ВЫХЛОП;EXHAUST
ПРИВОД ЗАДНЕГО МОСТА;DRIVE OF REAR AXLE
ТОРМОЗ;BRAKE ASSY
КОРОБКА ПЕРЕДАЧ;GEAR BOX
ВАЛ ШАРНИРНЫЙ;JOINT SHAFT
ВАЛ ШАРНИРНЫЙ;JOINT SHAFT
РАЗДАТОЧНАЯ КОРОБКА;FINAL DRIVE
ДИФФЕРИНЦИАЛ;DIFFERENTIAL
РАЗДАТОЧНАЯ КОРОБКА;FINAL DRIVE
ДИФФЕРИНЦИАЛ;DIFFERENTIAL
ПЛАТФОРМА;PLATFORM
СТОЛ;CONTROL DESK
КАБИНА;CABIN
КРОВЛЯ;ROOF
КАБИНА КОМПЛЕТНАЯ;COMPLETE CABIN
КАБИНА КОМПЛЕТНАЯ;COMPLETE CABIN
АНТИШУМНЫЙ КОЖУХ;NOISE REDUCTION
ОГРАЖДЕНИЕ;RAILING
РАМА КРЫШИ;ROOF FRAME
КРОНШТЕЙН;CARRIER
ЗЕРКАЛО;MIRROR
КОЖУХ;COVER
УПРАВЛЕНИЕ;CONTROL
ВАЛ;SHAFT
КРЫШКА ЖЁЛТАЯ;CANOPY YELLOW
КРЫШКА ЧЁРНАЯ;CANOPY BLACK
КАПОТ В СБОРЕ;COMPLETE BONNET
КАПОТ В СБОРЕ;COMPLETE BONNET
АНТИШУМНЫЙ КОЖУХ;NOISE REDUCTION
БЕЗ АНТИШУМН. КОЖУХА;WITHOUT NOISE REDUCT
УПРАВЛ. ЗАТВОРА;LOCK CONTROL
ГИДРАВЛИКА УПРАВЛЕН.;HYDR.SYS.OF STEERING
ГИДРАВЛИКА УПРАВЛЕН.;HYDR.SYS.OF STEERING
ГИДРАВЛИКА УПРАВЛЕН.;HYDR.SYS.OF STEERING
ГИДРОЦИЛИНД УПРАВЛ.;STEERING CYLINDER
ПРЕПУСКНОЙ КЛАПАН;PRIORITY VALVE
НАСОС;PUMP
ГИДРОСИСТ. ТОРМОЗОБ.;HYDRAULIC OF BRAKES
ТОРМОЗ РУЧНОЙ;HAND BRAKE
ТОРМОЗ РУЧНОЙ;HAND BRAKE
ВОЗДУХОРАС ПРЕДЕЛ.;AIR DISTRIBUTION
НАПОЛНИТЕЛЬ ШИНЫ;TYRE INFLATION
НАПОЛНИТЕЛЬ ШИНЫ;TYRE INFLATION
ЭЛЕКТР УСТАНОВКА;ELECT. INSTALLATION
ПАНЕЛЬ ПРИБОРОВ;DASHBOARD
ЭЛЕКТРООБОРУД;WIRING CAB
МАЯК;FLASHING BEACON
ФОНАРЬ;LIGHT
ГУДОК;HORN
МАЯК;FLASHING BEACON
МАЯК;FLASHING BEACON
ЗНАК;SIGN
ЗНАК;SIGN
ЗИП;ACCESSORY
ОГНЕТУШИТЕЛЬ;FIRE EXTINGUISHER
ЗИП;ACCESSORY
ЗАП. ЧАСТИ ДЛЯ;OPERATION KIT
ОБРЕЗНОЕ ПРИСПОСОБЛЕНИЕ;EDGE CUTTER
ОБРЕЗНОЕ ПРИСПОСОБЛЕНИЕ;EDGE CUTTER
ОБРЕЗНОЕ ПРИСПОСОБЛЕНИЕ;EDGE CUTTER
КОНСОЛЬ;BRACKET
УВЛАЖНЕНИЕ;SPRINKLING
ГИДРАВЛИКА;HYDRAULIC
КОМАНДО АППАРАТ;CONTROLLERS
РАМА РОПС;FRAME ROPS
РАМА РОПС;FRAME ROPS
ГИРИА;EXTRA WEIGHT
ГИРИА;EXTRA WEIGHT
ГИРИА;EXTRA WEIGHT
КОЖУХ ВЕНТИЛЯТОРА;FAN COVER
ПОДКЛАД. КЛИН;SCOTCH BLOCKS
ОТОПЛЕНИЕ;HEATER
СОЕДИНЕНИЕ;HEATER CONNECTION
КОНДИЦИОНИРОВАНИЕ ВОЗДУХА;CONDITIONING
КОНДИЦИОНИРОВАНИЕ ВОЗДУХА;CONDITIONING
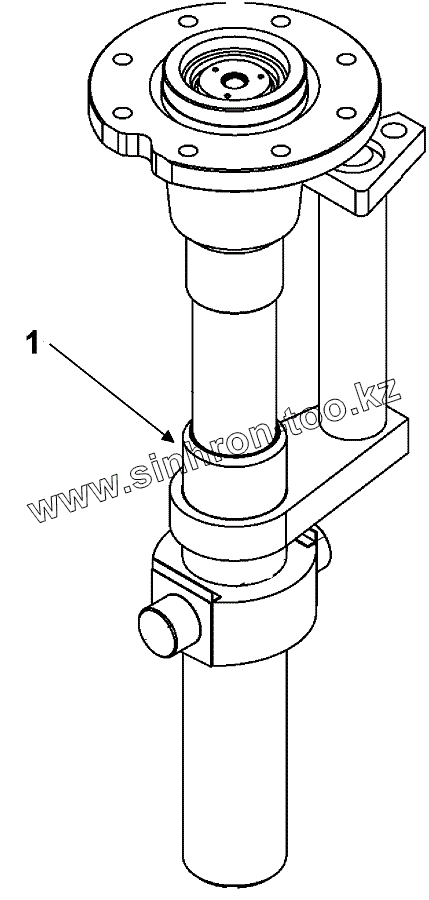
1
Позиция на иллюстрации
Заводской номер детали
Название детали
4-5451180161
4-5451180161
ТУМБА
1
4-8300750455
УПЛОТНЕНИЕ ГИДРОЦИЛ
Содержащиеся в справочниках-каталогах запасные части и детали не предлагаются к продаже, а носят исключительно информационный характер
Дополнительная информация
×
Название:
Номер:
Примечание: