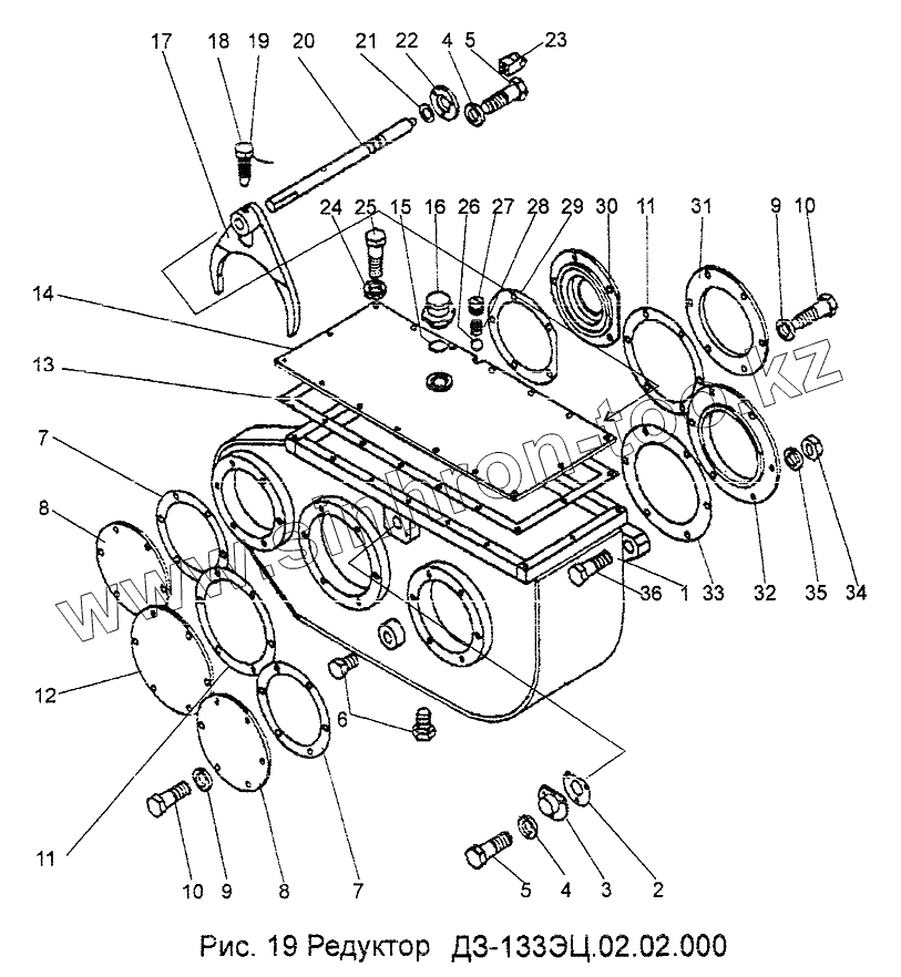
Каталог запасных частей к технике: Амкодор-91 (ДЗ-133ЭЦ). Редуктор
1
2
3
4
4
5
5
6
7
7
8
8
9
9
10
10
11
11
12
13
14
15
16
17
18
19
20
21
22
23
24
25
26
27
28
29
30
31
32
33
34
35
36
| Позиция на иллюстрации | Заводской номер детали | Название детали | |
|---|---|---|---|
| 1 | ДЗ-133ЭЦ.02.02.100 | Корпус | |
| 2 | ДЗ-133ЭЦ.02.02.043 | Шайба | |
| 3 | ДЗ-133ЭЦ.02.02.042 | Крышка | |
| 4 | 6.6402 | Шайба | |
| 5 | М16Х16.7796 | Болт | |
| 6 | 2-1/2".22-1624.18 | Пробка | |
| 7 | ДЗ-133ЭЦ.02.02.004 | Шайба | |
| 8 | ДЗ-133ЭЦ.02.02.005 | Крышка | |
| 9 | 10.6402 | Шайба | |
| 10 | М10х25.7796 | Болт | |
| 11 | ДЗ-133ЭЦ.02.02.014 | Шайба | |
| 12 | ДЗ-133ЭЦ.02.02.013 | Крышка | |
| 13 | ДЗ-133ЭЦ.02.02.039 | Прокладка | |
| 14 | ДЗ-133ЭЦ.02.02.300 | Крышка | |
| 15 | ДЕ-7.32.00.047 | Шайба | |
| 16 | У2237-19.000 | Отдушина | |
| 17 | ДЗ-133ЭЦ.02.02.200 | Вилка | |
| 18 | Б-2-1,6.9389 | Проволока стопорная | |
| 19 | ДЕ-224.33.00.01.053 | Винт | |
| 20 | ДЗ-133ЭЦ.02.02.041 | Валик | |
| 21 | 020-025-30.9833 | Кольцо | |
| 22 | У2237-35.00.093 | Крышка | |
| 23 | ДЕ-224.35.20.018 | Вилка | |
| 24 | 8.6402 | Шайба | |
| 25 | М18х20.7796 | Болт | |
| 26 | 10-200.3722 | Шарик | |
| 27 | М12х12.1477 | Винт | |
| 28 | У2237-35.00.008 | Пружина | |
| 29 | ДЗ-133ЭЦ.02.02.022 | Прокладка | |
| 30 | ДЗ-133ЭЦ.02.02.019 | Крышка | |
| 31 | ДЗ-133ЭЦ.02.02.029 | Крышка | |
| 32 | ДЗ-133ЭЦ.02.02.036 | Крышка | |
| 33 | ДЗ-133ЭЦ.02.02.037 | Прокладка | |
| 34 | М16.5915 | Гайка | |
| 35 | 16.6402 | Шайба | |
| 36 | М16х80.7796 | Болт |
Содержащиеся в справочниках-каталогах запасные части и детали не предлагаются к продаже, а носят исключительно информационный характер