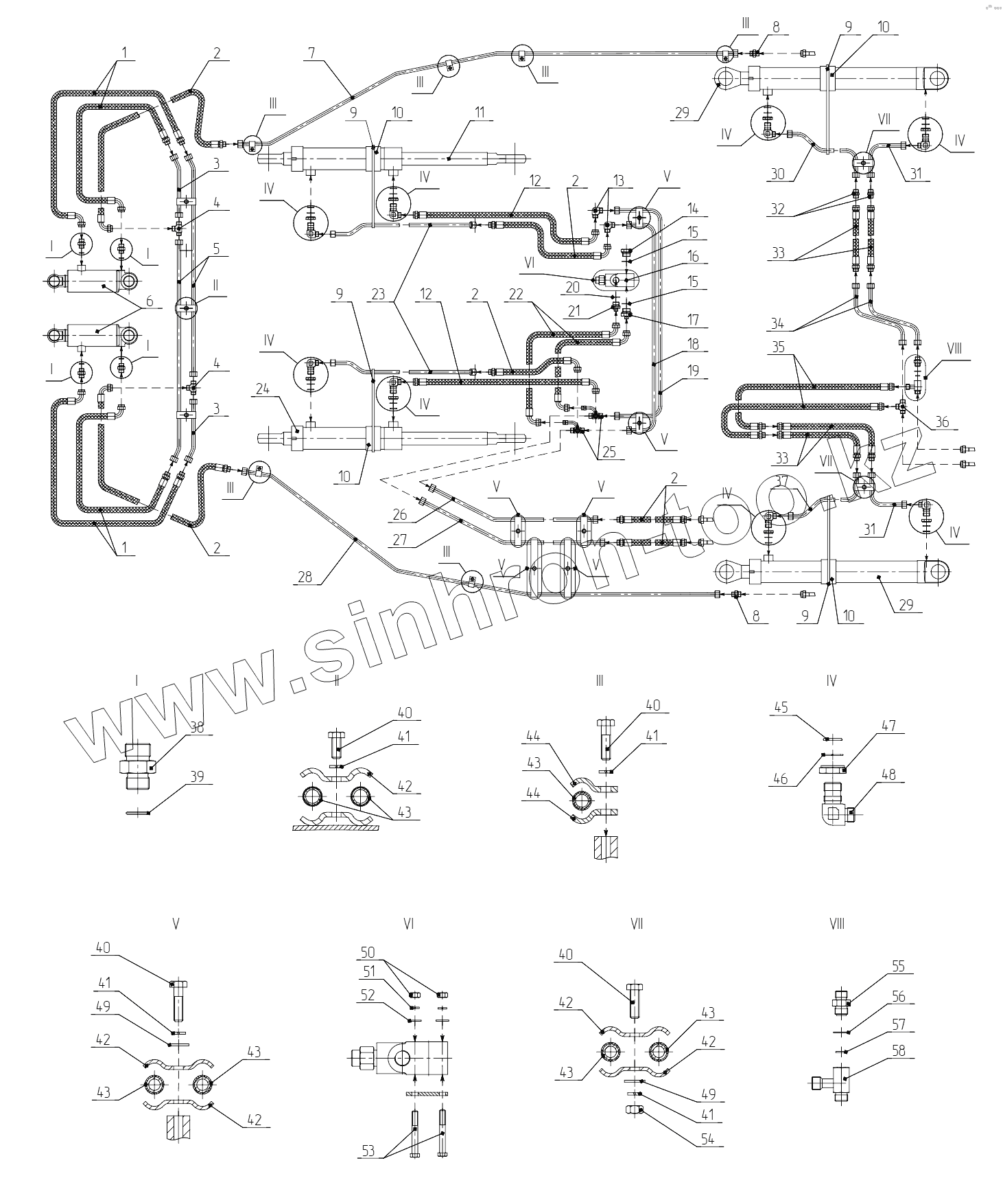
Каталог запасных частей к технике: Амкодор-702ЕМ-03. 702ЕА.46.00.000 Гидросистема
1
1
2
2
2
2
2
3
3
4
4
5
6
7
8
8
9
9
9
9
10
10
10
10
11
12
12
13
14
15
15
16
17
18
19
20
21
22
23
24
25
26
27
28
29
29
30
31
31
32
33
33
34
35
36
37
38
39
40
40
40
40
41
41
41
41
42
42
42
42
42
43
43
43
43
43
43
44
44
45
46
47
48
49
49
50
51
52
53
54
55
56
57
58
| Позиция на иллюстрации | Заводской номер детали | Название детали | |
|---|---|---|---|
| 1 | 2SN№13x650A61J10 | Рукав | |
| 2 | 2SN№13x850A61J10 | Рукав | |
| 3 | 702ЕА.01.08.620 | Трубопровод | |
| 4 | ПГУ1-03002 | Тройник | |
| 5 | 702ЕА.01.08.610 | Трубопровод | |
| 6 | КГЦ-263.00.000 | Гидроцилиндр | |
| 7 | 702ЕА.46.00.160 | Трубопровод | |
| 8 | ПГУ1-05.010 | Штуцер | |
| 9 | 90-110 | Хомут "NORMA" | |
| 10 | 702ЕА.02.12.707 | Прокладка | |
| 11 | 702ЕА.01.13.000-01 | Гидроцилиндр | |
| 12 | 2SN№13x850А60А61 | Рукав | |
| 13 | ПГУ1-20.019 | Угольник | |
| 14 | ПГУ1-21.015 | Пробка | |
| 15 | 33М3 | Прокладка | |
| 16 | У462.805.1 | Клапан предохрпнительный | |
| 17 | ПГУ1-01.043 | Штуцер | |
| 18 | 702ЕА.46.00.120 | Трубопровод | |
| 19 | 702ЕА.46.00.130 | Трубопровод | |
| 20 | 27М3 | Прокладка | |
| 21 | ПГУ1-01.040 | Штуцер | |
| 22 | 2SN№8x500А61А61 | Рукав | |
| 23 | 702ЕА.46.00.220 | Трубопровод | |
| 24 | 702ЕА.01.13.000 | Гидроцилиндр | |
| 25 | 702ЕА.46.00.040 | Тройник | |
| 26 | 702ЕА.46.00.180 | Трубопровод | |
| 27 | 702ЕА.46.00.190 | Трубопровод | |
| 28 | 702ЕА.46.00.170 | Трубопровод | |
| 29 | ЦГ-80.56х560.11 | Гидроцилиндр | |
| 30 | 702ЕА.46.00.240 | Трубопровод | |
| 31 | 702ЕА.46.00.230 | Трубопровод | |
| 32 | ПГУ1-05.009 | Штуцер | |
| 33 | 2SNNP13x650А60J10 | Рукав | |
| 34 | 702EA.46.00.250 | Трубопровод | |
| 35 | 2SNNP13x850A60J10 | Рукав | |
| 36 | ПГУ1-03.005 | Тройник | |
| 37 | 702EA.46.00.240-01 | Трубопровод | |
| 38 | ПГУ1-01.037 | Штуцер | |
| 39 | 017-020-19-2-2 | Кольцо | |
| 40 | М8-6gх20.56.0115 | Болт | |
| 41 | 8.65Г.0115 | Шайба | |
| 42 | ПДУ-09001 | Скоба | |
| 43 | 702EA.02.12.701 | Прокладка | |
| 44 | ПДУ-09002 | Скоба | |
| 45 | 024-029-30-2-2 | Кольцо | |
| 46 | 702ЕА.02.12.711 | Шайба защитная | |
| 47 | ПГУ1-22.005 | Гайка установочная | |
| 48 | ПГУ1-20.002 | Угольник | |
| 49 | С8.02.Ст3.0115 | Шайба | |
| 50 | М10-6Н.5.0115 | Гайка | |
| 51 | 10.65Г.0115 | Шайба | |
| 52 | С10.02.Ст3.0115 | Шайба | |
| 53 | М10-6gх80.56.0115 | Болт | |
| 54 | М8-6Н.5.0115 | Гайка | |
| 55 | 702ЕА.46.01.001-01 | Штуцер | |
| 56 | 22М3 | Прокладка | |
| 57 | 702ЕА.02.12.714 | Шайба | |
| 58 | 702ЕА.46.01.010 | Корпус |
Содержащиеся в справочниках-каталогах запасные части и детали не предлагаются к продаже, а носят исключительно информационный характер