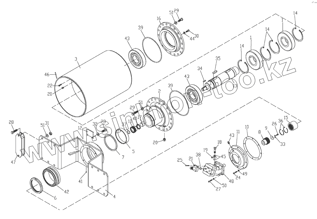
Каталог запасных частей к технике: Амкодор-6712А. 6712А.20.01.000 Вибровалец
1
1
2
3
4
5
6
7
8
9
10
10
11
12
13
14
14
14
15
16
17
18
19
20
20
21
22
23
24
25
26
27
28
29
29
30
31
32
33
34
35
36
37
38
39
39
40
41
42
43
43
43
44
45
46
47
48
49
50
51
51
51
| Позиция на иллюстрации | Заводской номер детали | Название детали | |
|---|---|---|---|
| 1 | 6712А.20.01.100 | Дебаланс | |
| 2 | 6712А.20.01.200 | Опора | |
| 3 | ВГ-1202А.20.01.100 | Валец | |
| 4 | ВГ-1202А.20.01.200 | Опора | |
| 5 | 6622.20.01.003 | Втулка | |
| 6 | 6622.20.01.005 | Гайка | |
| 7 | 6622.20.01.011 | Кольцо | |
| 8 | 6622.20.01.019 | Полумуфта | |
| 9 | 6622.20.01.021 | Шайба | |
| 10 | 6622.20.01.022 | Полумуфта | |
| 11 | 6712.20.01.001 | Крышка | |
| 12 | 6712.20.01.006 | Кронштейн | |
| 13 | 6712А.20.01.001 | Вал | |
| 14 | 6712А.20.01.003 | Кольцо | |
| 15 | ВА-9002.20.01.003 | Муфта | |
| 16 | ВГ-1202А.20.01.005 | Опора | |
| 17 | ВГ-1202А.20.01.011 | Втулка | |
| 18 | УДГ1-05.00.007 | Болт | |
| 19 | УДГ1-06.03.006 | Угольник | |
| 20 | УДГ1-09.03.005 | Заглушка | |
| 21 | УДГ1-20.01.007 | Фланец | |
| 22 | 3М8х16.7796 | Болт | |
| 23 | М10х20.7796 | Болт | |
| 24 | М10х30.109.40Х.0115.7796 | Болт | |
| 25 | М10х40.109.40Х.0115.7796 | Болт | |
| 26 | М12х25.7796 | Болт | |
| 27 | М12х40.109.40Х.0115.7796 | Болт | |
| 28 | М20х1,5х45.109.40Х.0115.7796 | Болт | |
| 29 | М20х1,5х55.109.40Х.0115.7796 | Болт | |
| 30 | М10х20.88.35.0115.11738 | Винт | |
| 31 | М20х1,5х10.40Х.0115.5915 | Гайка | |
| 32 | 10.6402 | Шайба | |
| 33 | 12.3463 | Шайба | |
| 34 | 12х8х45 | Шпонка | |
| 35 | 40х22х120 | Шпонка | |
| 36 | В70.13943 | Кольцо | |
| 37 | В40.13940 | Кольцо | |
| 38 | 032-036-25-2-2.9833/18829 | Кольцо | |
| 39 | 430-440-58-2-2.9833/18829 | Кольцо | |
| 40 | 1.1-50х70-2.8752/38-05146 | Манжета | |
| 41 | 2.3.45.19853 | Масленка | |
| 42 | 2097936.63641 | Подшипник | |
| 43 | 42630.8328 | Подшипник | |
| 44 | 10М3.23358 | Прокладка | |
| 45 | 18М3.23358 | Прокладка | |
| 46 | 2-0-4.3282 | Проволока | |
| 47 | Д-722-05-50 | Амортизатор | |
| 48 | 310.2.56.00.06.У1 | Гидромотор | |
| 49 | 413110.DIN6796 | Шайба зажимная | |
| 50 | 413112.DIN6796 | Шайба зажимная | |
| 51 | 413118.DIN6796 | Шайба зажимная |
Содержащиеся в справочниках-каталогах запасные части и детали не предлагаются к продаже, а носят исключительно информационный характер