Каталог запасных частей к технике: Амкодор-6622. 6622.15.05.000 Подкабинник
1
2
2
3
4
5
6
6
6
7
7
8
8
8
8
8
8
9
9
9
10
10
10
10
10
10
10
11
11
12
13
14
15
16
17
17
18
19
19
19
20
21
22
22
23
24
25
26
27
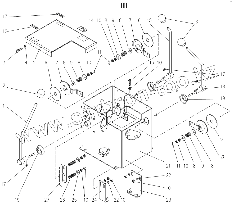
| Позиция на иллюстрации | Заводской номер детали | Название детали | |
|---|---|---|---|
| 1 | 6622.15.05.780 | Рычаг | |
| 2 | ТО-28.15.10.007 | Ручка | |
| 3 | М6х20.7798 | Болт | |
| 4 | 6.65Г.6402 | Шайба | |
| 5 | 6622.15.05.550 | Крышка | |
| 6 | 6622.15.05.006 | Прокладка | |
| 7 | 6622.15.05.650 | Рычаг | |
| 8 | С10.6958 | Шайба | |
| 9 | ТО-18.02.04.119 | Пружина | |
| 10 | М8.5915 | Гайка | |
| 11 | 2,5х25.397 | Шплинт | |
| 12 | 6712.12.02.804 | Табличка | |
| 13 | 6712.12.02.805 | Табличка | |
| 14 | 6712.12.02.806 | Табличка | |
| 15 | 6622.15.05.600 | Рычаг | |
| 16 | М8х40.7796 | Болт | |
| 17 | 6x20.24071 | Шпонка | |
| 18 | 6622.15.05.700 | Рычаг | |
| 19 | 6622.15.05.005 | Крышка | |
| 20 | 6622.15.05.500 | Рычаг | |
| 21 | 6622.15.05.450 | Стойка | |
| 22 | 8.65Г.6402 | Шайба | |
| 23 | 6622.15.05.003 | Уголок | |
| 24 | 6622.15.05.014 | Уголок | |
| 25 | С8.6958 | Шайба | |
| 26 | ТМ-59М.50.01.006 | Пружина | |
| 27 | 6622.15.05.004 | Планка |
Содержащиеся в справочниках-каталогах запасные части и детали не предлагаются к продаже, а носят исключительно информационный характер