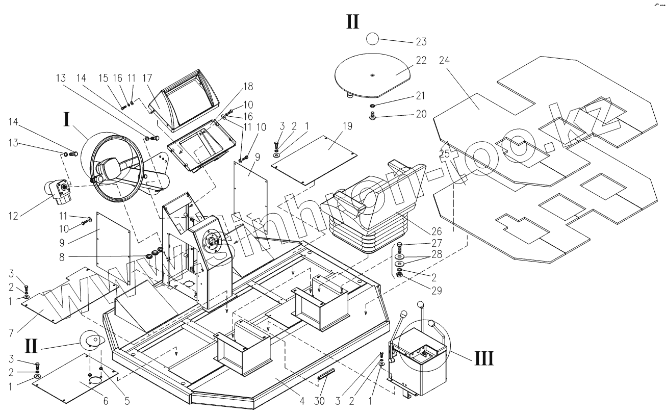
Каталог запасных частей к технике: Амкодор-6622. 6622.15.05.000 Подкабинник
1
1
1
1
2
2
2
2
2
3
3
3
3
4
5
6
7
8
9
9
10
10
10
11
11
11
12
12
13
13
14
14
15
16
16
17
18
19
20
21
22
23
24
25
26
27
28
29
30
| Позиция на иллюстрации | Заводской номер детали | Название детали | |
|---|---|---|---|
| 1 | С8.11371 | Шайба | |
| 2 | 8.6402 | Шайба | |
| 3 | М8х20.7796 | Болт | |
| 4 | 6622.15.05.100 | Подкабинник | |
| 5 | У22-2.37-5002-01 | Втулка | |
| 6 | 6622.15.05.011 | Крышка | |
| 7 | 6622.15.05.013 | Крышка | |
| 8 | У22-2.37-5002-04 | Втулка | |
| 9 | 6622.15.05.750 | Крышка | |
| 10 | М6х20.7798 | Болт | |
| 11 | С6.11371 | Шайба | |
| 12 | Т/250-У1 | Руль гидравлический | |
| 12 | 1132250HON | Руль гидравлический | |
| 13 | 10.6402 | Шайба | |
| 14 | М10х30.7796 | Болт | |
| 15 | М6х20.17473 | Винт | |
| 16 | 6.6402 | Шайба | |
| 17 | 6622.78.05.002 | Панель | |
| 18 | 6622.78.05.300 | Основание | |
| 19 | 6622.15.05.012 | Крышка | |
| 20 | М5х10.17473 | Винт | |
| 21 | 5.6402 | Шайба | |
| 22 | 6622.15.05.770 | Крышка | |
| 23 | Д-565.4211-170 | Ручка | |
| 24 | 6622.15.05.001 | Коврик | |
| 25 | 6622.15.05.002 | Подкладка | |
| 26 | УНВ-102.01.20.10.00 | Сиденье | |
| 27 | М8х25.7796 | Болт | |
| 28 | С8.6958 | Шайба | |
| 29 | М8.5915 | Гайка | |
| 30 | А37.08.017 | Уплотнитель |
Содержащиеся в справочниках-каталогах запасные части и детали не предлагаются к продаже, а носят исключительно информационный характер