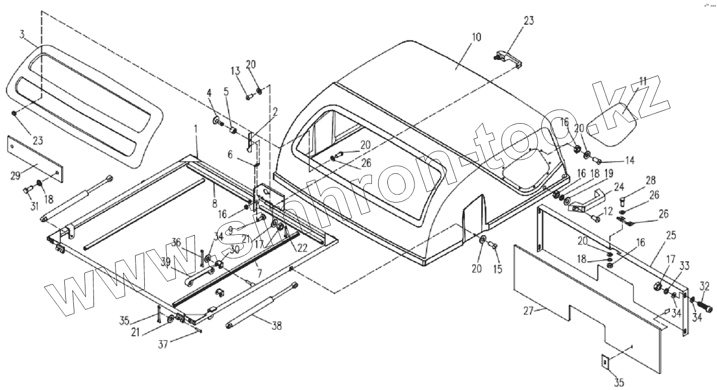
Каталог запасных частей к технике: Амкодор-6223Е. 6223Е.84.00.000 Облицовка
1
2
3
4
5
6
7
8
9
10
11
12
13
14
15
16
16
16
16
17
17
18
18
18
19
20
20
20
20
20
21
21
22
23
23
24
25
26
26
26
27
28
29
30
31
32
33
34
34
34
35
35
36
37
38
39
| Позиция на иллюстрации | Заводской номер детали | Название детали | |
|---|---|---|---|
| 1 | 6222.38.01.200-01 | Рамка | |
| 2 | 6222.38.01.300-01 | Кронштейн | |
| 3 | 6222.38.01.400-01 | Крышка | |
| 4 | 6222.38.00104-01 | Ось | |
| 5 | 6222.38.00.105-01 | Втулка | |
| 6 | 6222.38.00.107 | Пружина | |
| 7 | 6222.38.00.108-01 | Уплотнитель | |
| 8 | 6222.38.00.111-01 | Уплотнитель | |
| 9 | 6222.38.00.112-01 | Упор | |
| 10 | 6223Е.84.01.001 | Капот | |
| 11 | 6223Е.84.01.002 | Лист | |
| 12 | М6х30.11738 | Винт | |
| 13 | ВМ6х12.17473 | Винт | |
| 14 | ВМ6х16.17473 | Винт | |
| 15 | ВМ6х25.17473 | Винт | |
| 16 | М6.5915 | Гайка | |
| 17 | М10.5915 | Гайка | |
| 18 | 6.6402 | Шайба | |
| 19 | C6.6958 | Шайба | |
| 20 | C6.11371 | Шайба | |
| 21 | C8.11371 | Шайба | |
| 22 | 1.6x12.397 | Шплинт | |
| 23 | 80-6105300А1 | Ручка наружная с ключами | |
| 24 | 8132-8203107 | Ручка | |
| 25 | 6223Е.84.02.100 | Щит | |
| 26 | 6222.38.02.200-01 | Ловитель | |
| 27 | 6223Е.84.02.001 | Пластина | |
| 28 | М6х25.7798 | Болт | |
| 29 | 6222.38.00.009-01 | Табличка | |
| 30 | 6222.38.00.011-01 | Скоба | |
| 31 | М6х16.7798 | Болт | |
| 32 | М10х20.11738 | Винт | |
| 33 | 10.6402 | Шайба | |
| 34 | C10.11371 | Шайба | |
| 35 | 2x16.397 | Шплинт | |
| 36 | 2.5х25.397 | Шплинт | |
| 37 | 6-8d11x65.9650 | Ось | |
| 38 | 11.8407010-20 | Цилиндр | |
| 39 | СТП1 | Строп |
Содержащиеся в справочниках-каталогах запасные части и детали не предлагаются к продаже, а носят исключительно информационный характер