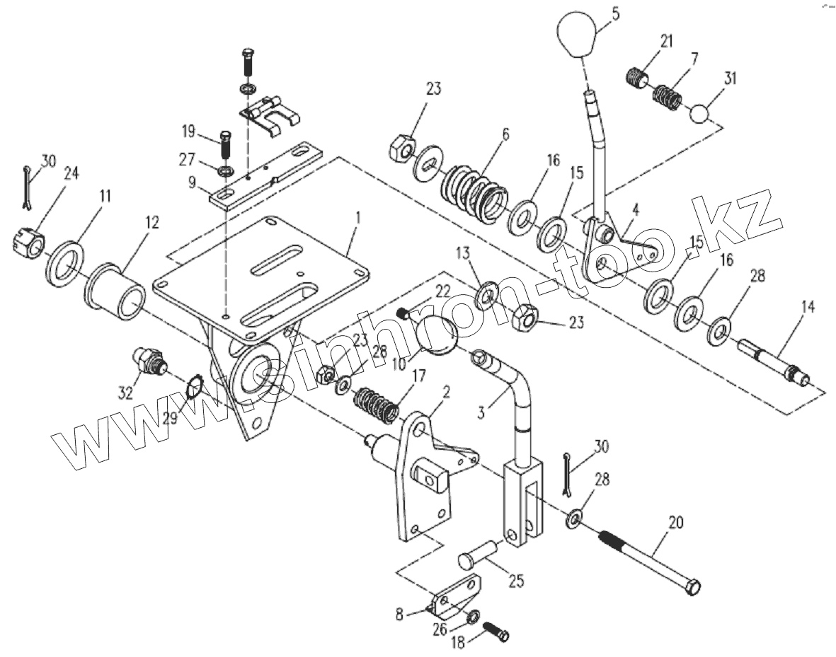
Каталог запасных частей к технике: Амкодор-6223Е. 6122А.30.01.000 Блок рычагов
1
2
3
4
5
6
7
8
9
10
11
12
13
14
15
15
15
16
17
18
19
20
21
22
23
23
23
24
25
26
27
28
28
28
29
30
30
31
32
| Позиция на иллюстрации | Заводской номер детали | Название детали | |
|---|---|---|---|
| 1 | 6622А.14.30.020 | Основание | |
| 2 | 6622А.14.30.040 | Опора | |
| 3 | 6122А.30.01.300 | Рычаг | |
| 4 | 6122А.30.01.400 | Рычаг | |
| 5 | ТО-28.15.10.007 | Ручка | |
| 6 | ВА-251.30.00.004 | Пружина | |
| 7 | ВА-252.30.00.004 | Пружина | |
| 8 | 6622А.14.30.001 | Упор | |
| 9 | ВА-252.30.00.037 | Пластина | |
| 10 | ВА-252.30.00.038 | Ручка | |
| 11 | ВА-252.30.00.027-01 | Шайба | |
| 12 | ВА-252.30.00.029-01 | Втулка | |
| 13 | 413112 | Шайба | |
| 14 | 6122А.30.01.001 | Ось | |
| 15 | 6122А.30.01.002 | Прокладка | |
| 16 | 6122А.30.01.003 | Шайба | |
| 17 | 6122А.30.01.004 | Пружина | |
| 18 | М8х16.7796 | Болт | |
| 19 | М8х16.7796 | Болт | |
| 20 | М12х110.7796 | Болт | |
| 21 | М12х14.1477 | Винт | |
| 22 | М6х10.1476 | Винт | |
| 23 | М12.5918 | Гайка | |
| 24 | М12.5919 | Гайка | |
| 25 | 12d11x28.9650 | Ось | |
| 26 | 8.6402 | Шайба | |
| 27 | 8.6402 | Шайба | |
| 28 | C12.11371 | Шайба | |
| 29 | 16,16463 | Шайба | |
| 30 | 3.2x25.397 | Шплинт | |
| 31 | 10-3.3722 | Шарик | |
| 32 | ВК12-4 | Выключатель | |
| 33 | 6122А.30.01.500 | Фиксатор |
Содержащиеся в справочниках-каталогах запасные части и детали не предлагаются к продаже, а носят исключительно информационный характер