Вернуться на главную
Поиск
Каталоги запчастей к технике
Спецтехника
Амкодор
Амкодор-451A(2011)
Дифференциал 451.16.60.030
Каталог запасных частей к технике: Амкодор-451A(2011). Дифференциал 451.16.60.030
zoom-in
zoom-out
enlarge
shrink
circle-right
circle-left
file-text2
info
cart
Тип техники
Не выбрано
Легковые автомобили
Грузовые автомобили и прицепы
Автобусы
Сельхозтехника
Спецтехника
Двигатели
Мототехника
Марка
Не выбрано
Ammann
BOMAG
CARMIX
CASE IH
Changlin
ChengGong
Dimex
Doosan
DYNAPAC
Foton
HAMM
Hidromek
Hitachi
Hyundai
JCB
JLG
John Deere
Komatsu
LIEBHERR
LiuGong
Lonking (LongGong)
Luneng
MANITOU
Mitsuber
New Holland
PENGPU
RM-Terex
SANY
SDLG
SEM
Shantui
Shehwa HBXG
Soosan
TIGARBO
VOGELE
Volvo
WAY
WIRTGEN
XCMG
XGMA
Xiamen
YTO
Yuchai
Zoomlion
Автокран
АЗСМ
Алтайлесмаш
Амкодор
АОМЗ
Атек
АТЗ
Балканкар Рекорд
БелАЗ
Беловеж
Борекс
Брянский Арсенал
Булат
ВЭКС
ГАЗ
Геомаш
Гидромаш
Донекс
Дормаш
Дормашина
Дорэлектромаш
ДЭЗ
ЕлАЗ
ЗЗГТ
Ижнефтемаш
Канаш-электрокар
КЗКТ
ККЗ
Клевер
Клинцовский автокрановый завод
КМЗ
КМЗ 1 Мая
Ковровец
Коммаш
Кранэкс
КЭЗ
КЭМЗ
ЛЗА
МАЗ
МЗИК
МЗКМ
МЗКТ
Михневский РМЗ
МоАЗ
Мозырский МЗ
МТЗ
ОЗП
Онежец
ПАО "ТЗА"
ППС Детва
Промтрактор
ПТЗ
Раскат
СпецАгрегат
ТВЭКС
ТТМ
УВЗ
Угличмаш
УЗТМ
ХТЗ
ЧЗКМ
ЧСДМ
ЧТЗ
ЭКСКО
ЭКСМАШ
ЮрМаш
Модель
Не выбрано
2561 (2021)
352C (2019)
Амкодор-208А (2006)
Амкодор-208В (2006)
Амкодор-211 (2009)
Амкодор-211 (2011)
Амкодор-211nev (2009)
Амкодор-211Е (2014)
Амкодор-211Е (2016)
Амкодор-2243В (2012)
Амкодор-2541 (2013)
Амкодор-2541 (2021)
Амкодор-2551 (2011)
Амкодор-2551 (2020)
Амкодор-2661-01 (2011)
Амкодор-2662 (2015)
Амкодор-2904 (2020)
Амкодор-320 (2009)
Амкодор-320 (2011)
Амкодор-320СЕ (2013)
Амкодор-3225 (2018)
Амкодор-325 (ТО-18К) (2006)
Амкодор-327 (ТО-18Д) (2003)
Амкодор-332B, 332B4 (2008)
Амкодор-332С-01 (2006)
Амкодор-332С4 (2016)
Амкодор-332С4 (2018)
Амкодор-332С4, 332С4-02 (2008)
Амкодор-333 (ТО-18Б) (2004)
Амкодор-333А (ТО-18Б2) (2006)
Амкодор-333В (ТО-18Б3)
Амкодор-333В, 332С (2008)
Амкодор-342 (ТО-28) (2004)
Амкодор-342А (ТО-28А)
Амкодор-342В (ТО-18А) (2006)
Амкодор-342В, 342С4, 342Р (2008)
Амкодор-342В, 342С4, 342Р (2010)
Амкодор-342С (2006)
Амкодор-342С-03 (2008)
Амкодор-342С4 (2018)
Амкодор-351 (2006)
Амкодор-352 (2006)
Амкодор-352 (2008)
Амкодор-352 (2021)
Амкодор-352 (352C, 352Л) (2008)
Амкодор-352-10 (2010)
Амкодор-352-10 (2021)
Амкодор-352C (2006)
Амкодор-352СА (2017)
Амкодор-361 (2006)
Амкодор-37 (2012)
Амкодор-371 (2009)
Амкодор-371 (2014)
Амкодор-371А (2009)
Амкодор-451A (2006)
Амкодор-451A(2011) (2011)
Амкодор-527 (2009)
Амкодор-6223 (2007)
Амкодор-6223А (2007)
Амкодор-6223А (2016)
Амкодор-6223Е (2014)
Амкодор-6622 (2007)
Амкодор-6622А (2014)
Амкодор-6712B (2013)
Амкодор-6712А (2007)
Амкодор-702 (2006)
Амкодор-702EA (2007)
Амкодор-702EA(2012) (2012)
Амкодор-702EВ (2012)
Амкодор-702В (ТО-49-40) (2003)
Амкодор-702Е (2008)
Амкодор-702ЕМ-03 (2010)
Амкодор-732 (2015)
Амкодор-732 (2016)
Амкодор-8047А (2007)
Амкодор-91 (ДЗ-133ЭЦ) (2006)
Амкодор-9211А1 (2010)
Амкодор-9531 (ДЭ-226) (2006)
Амкодор-Е16 (2011)
Амкодор-Е25 (2017)
Амкодор-ЕР30 (2017)
Амкодор-ТО-18А (2000)
ГМП 2541.17.00.010-А (2013)
ГМП серии 120 модели G160.17.15.000 (2021)
ГМП серии У35615 модели 332.17.15.000 (2018)
ГМП серии У35615 модели 332С4.17.00.010-А 2018 (2018)
Мост ведущий неуправляемый 10Н.23.00.000 (2019)
Мост ведущий неуправляемый 10НР.24.00.000 (2019)
Мост ведущий неуправляемый 25Н (2018)
Мосты ведущие (2018)
Мосты ведущие серии 342 (2015)
Мосты серии 451 (2019)
Рабочие органы Амкодор-352 (2010)
Т400-70 (2020)
Схема
>
Не выбрано
Общий вид 451A.00.00.000, 451A.00.00.000-01, 451A.00.00.000-02, 451A.00.00.000-03
Рама 451A.01.00.000, 451А.01.00.000-01
Установка силовая 451A.02.00.000, 451A.02.00.000-01
Установка двигателя 451A.02.01.000, 451А.02.01.000-01
Установка демпфера 451A.02.02.000
Система охлаждения 451A.02.03.000-01
Блок радиаторов ТО-18К.02.02.100
Топливная система 451А.02.04.000
Останов двигателя 451А.02.05.000
Управление подачей топлива 451А.02.06.000
Система выпуска отработавших газов 451А.02.07.000
Система выпуска отработавших газов 451А.02.07.000-01
Установка мостов и колес 451A.20.00.000
Мост ведущий 451.16.00.000-02, 451.16.00.000-02-01
Главная передача 451.16.20.000-02
Шестерня ведущая 451.15.60.000
Дифференциал 451.16.60.030
Колесо 451А.20.01.000, 451А.20.01.000-01
Колесо 451А.20.02.000
Мост управляемый 451А.20.20.000-01-А
Гидроцилиндр 451.20.02.400
Установка стояночного тормоза 451А.26.00.000
Механизм тормозной У35615-35.510
Установка карданных валов 451А.36.00.000 и 451А.36.00.000-01
Установка ГМП 451A.38.00.000, 451A.38.00.000-01, 451A.38.00.000Т, 451A.38.00.000-01Т
Система охлаждения ГМП 451A.38.02.000-01
Система охлаждения ГМП 451A.38.02.000-A
Электросистема 451A.42.00.000 и 451A.42.00.000-01
Гидросистема рабочего оборудования 451A.45.00.000-01
Гидросистема рабочего оборудования 451A.45.00.000-Б
Гидробак 451A.45.06.100
Гидроцилиндр наклона 451А.45.14.000
Гидросистема рулевого управления 451A.74.00.000
Гидросистема тормозов 451A.75.00.000
Оборудование погрузочное 451.60.00.000-01
Грузоподъемник 451.61.00.000-01
Грузоподъемник 451.61.00.000-01
Грузоподъемник 451.61.00.000-01
Грузоподъемник 451.61.00.000-01
Гидроцилиндр 451.61.17.000-01
Гидроцилиндр 451.65.00.000
Гидроцилиндр 451.65.00.000-01
Грузоподъемник 451А.60.03.000
Стрела крановая 451А.52.00.000-Б и 451А.52.00.000-01-Б
Удлинитель вил 451А.53.00.000
Установка кабины 451А.78.00.000
Установка трубопроводов отопителя 451А.86.00.000
Облицовка 451А.87.00.000-01 и 451А.87.00.000-01.01
Облицовка 451А.87.00.000-01 и 451А.87.00.000-01.01
Облицовка 451А.87.00.000-01 и 451А.87.00.000-01.01
Облицовка 451А.87.00.000-01 и 451А.87.00.000-01.01
Установка противовеса 451А.87.01.000
Капот 451А.87.08.000-01
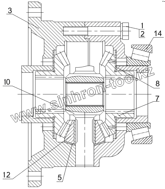
1
1
2
3
5
7
8
10
12
14
Позиция на иллюстрации
Заводской номер детали
Название детали
1
M12-6gx80.88.35.0115
Болт
1
50-2403034-А
Болт
2
12ОТ.65Г.0115
Шайба
3
85-2403015
Корпус дифференциала
5
85-2403025
Шайба сателлита
7
85-2403048
Шестерня полуоси
8
85-2403049Б
Шайба опорная
10
85-2403052А2
Крестовина
12
85-2403055
Сателлит
14
7515
Подшипник
Содержащиеся в справочниках-каталогах запасные части и детали не предлагаются к продаже, а носят исключительно информационный характер
Дополнительная информация
×
Название:
Номер:
Примечание: