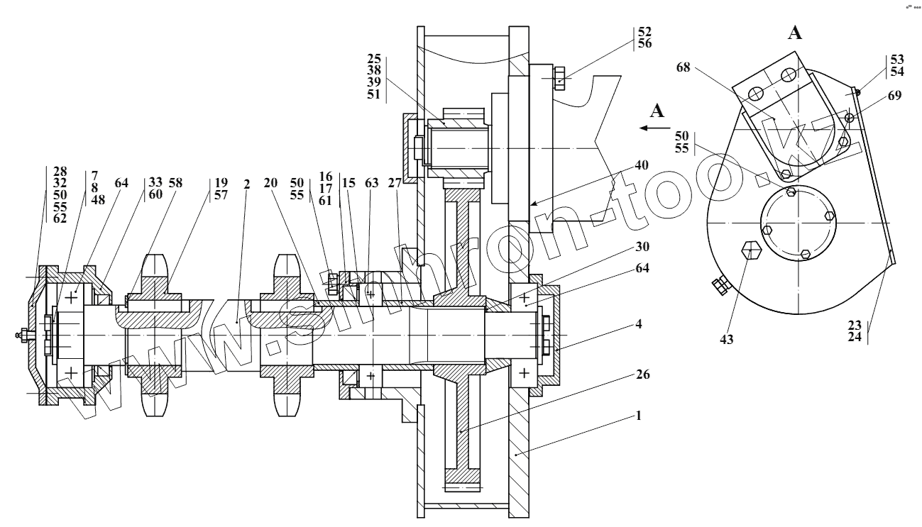
Каталог запасных частей к технике: Амкодор-37. Привод МПУ-1.22.07.000
1
1
2
4
4
7
8
15
16
17
19
20
23
24
25
26
27
28
30
32
33
38
39
40
43
48
50
50
50
51
52
53
54
55
55
55
56
57
58
60
61
62
63
64
64
68
69
| Позиция на иллюстрации | Заводской номер детали | Название детали | |
|---|---|---|---|
| 1 | МПУ-122.07.003 | Корпус | |
| 1 | МПУ-122.07.100 | Корпус | |
| 2 | МПУ-122.07.200 | Вал | |
| 4 | Д-5653110-65 | Крышка | |
| 4 | Д-5653110-65А | Крышка | |
| 7 | Д-90210.11.003 | Шайба | |
| 8 | Д-90280.00.031 | Планка | |
| 15 | МПУ-120.03.005 | Кольцо | |
| 16 | МПУ-120.03.006 | Крышка | |
| 17 | МПУ-120.03.007 | Прокладка | |
| 19 | МПУ-120.03.009 | Звездочка | |
| 20 | МПУ-120.03.010 | Втулка | |
| 23 | МПУ-122.06.001 | Крышка | |
| 24 | МПУ-122.06.002 | Прокладка | |
| 25 | МПУ-122.06.003 | Шестерня | |
| 26 | МПУ-122.06.004 | Шестерня | |
| 27 | МПУ-122.07.001 | Втулка | |
| 28 | МПУ-122.07.002 | Крышка | |
| 30 | ТМ-340.00.021 | Втулка | |
| 32 | ТМ-370.01.302 | Прокладка | |
| 33 | ТМ-370.01.303 | Опора | |
| 38 | ТО-1802.04.906 | Шайба стопорная | |
| 39 | ТО-2802.04.015 | Шайба | |
| 40 | ТО-2802.04.029 | Прокладка | |
| 43 | УДГ1-09.03.006 | Заглушка | |
| 48 | М8-6gх25.56.0115 | Болт | |
| 50 | М10-6gх25.56.0115 | Болт | |
| 51 | М12-6gх25.56.0115 | Болт | |
| 52 | М12-6gх35.56.0115 | Болт | |
| 53 | В.М5-6gх12.46.0115 | Винт | |
| 54 | 5.65Г.0115 | Шайба | |
| 55 | 10.65Г.0115 | Шайба | |
| 56 | 12.65Г.0115 | Шайба | |
| 57 | 2-16х10х45 | Шпонка | |
| 58 | В50 | Кольцо | |
| 60 | 1.2-50х70-1 | Манжета | |
| 61 | 1.2-60х85-1 | Манжета | |
| 62 | 1.3.Ц6.ХР | Масленка | |
| 63 | 210 | Подшипник | |
| 64 | 1308 | Подшипник | |
| 68 | 310.3.56.00.06 | Гидромотор | |
| 69 | 298430-П29 | Сапун |
Содержащиеся в справочниках-каталогах запасные части и детали не предлагаются к продаже, а носят исключительно информационный характер