Каталог запасных частей к технике: Амкодор-342 (ТО-28). Пневмосистема
1
2
2
3
3
4
4
5
5
5
5
5
6
6
7
7
8
9
10
10
11
11
12
12
13
13
14
15
16
17
18
19
20
21
22
23
24
25
26
27
28
29
30
31
32
32
33
34
35
36
37
38
39
40
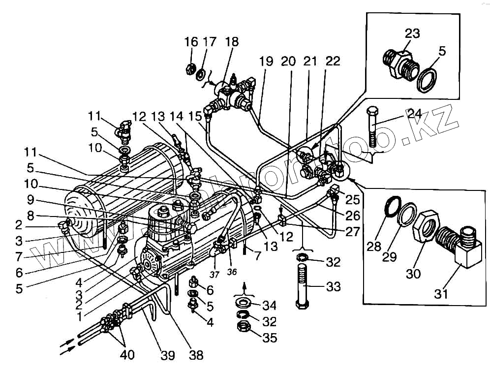
| Позиция на иллюстрации | Заводской номер детали | Название детали | |
|---|---|---|---|
| 1 | ТО-18А.16.03.500 | Установка компрессора | |
| 2 | ТО-18.18.00.022 | Угольник ввертной | |
| 3 | 200-35.13.015 | Баллон воздушный | |
| 4 | 100-3513110 | Кран слива конденсата | |
| 5 | 2М3.23358 | Прокладка | |
| 6 | ТО-28.18.00.004 | Переходник | |
| 7 | ТО-28.18.00.046-01 | Стремянка | |
| 8 | ТМ-59МГ.90.10.025 | Пробка | |
| 9 | ТО-28.18.026-01 | Переходник | |
| 10 | ТО-28.18.00.062 | Переходник | |
| 11 | 131515310 | Клапан контрольного вывода | |
| 12 | 12М3.23358 | Прокладка | |
| 13 | ММ124Д-38.10.600 | Датчик | |
| 14 | ТО-28.18.00.015 | Тройник | |
| 15 | ТО-28.18.00.110 | Трубопровод | |
| 16 | М10.5915 | Гайка | |
| 17 | 10.6402 | Шайба | |
| 18 | 11.35.12.010 | Регулятор давления с предохранительным клапаном | |
| 19 | ТО-28.18.00.120 | Трубопровод | |
| 20 | ТО-28.18.00.130 | Трубопровод | |
| 21 | ТО--28.18.00.160 | Трубопровод | |
| 22 | 100-3515110 | Клапан защитный двойной | |
| 23 | ТО-28.18.00.064 | Штуцер | |
| 24 | М8х70.7796 | Болт | |
| 25 | Д-565.4300-18 | Угольник | |
| 26 | ТО-28.18.00.100 | Трубопровод | |
| 27 | ТО-28.18.00.042 | Колодка | |
| 28 | 019-023-25.9833 | Кольцо | |
| 29 | ТО-28.18.00.019 | Шайба | |
| 30 | М22.15803 | Контргайка | |
| 31 | ТО-28.18.00.032 | Угольник | |
| 32 | 8.6402 | Шайба | |
| 33 | М8х50.7796 | Болт | |
| 34 | 8х1.4.11371 | Шайба | |
| 35 | М8.5915 | Гайка | |
| 36 | 120-3506085 | Шланг гибкий | |
| 37 | ТО-28.18.00.027-01 | Угольник | |
| 38 | ТО-28.18.00.170 | Трубопровод | |
| 39 | ТО-28.18.00.140 | Трубопровод | |
| 40 | ТО-28.18.00.039-01 | Штуцер |
Содержащиеся в справочниках-каталогах запасные части и детали не предлагаются к продаже, а носят исключительно информационный характер