Каталог запасных частей к технике: Амкодор-342 (ТО-28). Гидробак
1
2
3
3
3
4
4
4
5
5
5
5
5
6
7
8
9
10
11
11
12
13
14
15
15
16
17
18
19
20
21
22
23
24
25
26
27
28
29
30
31
32
33
34
36
37
38
39
40
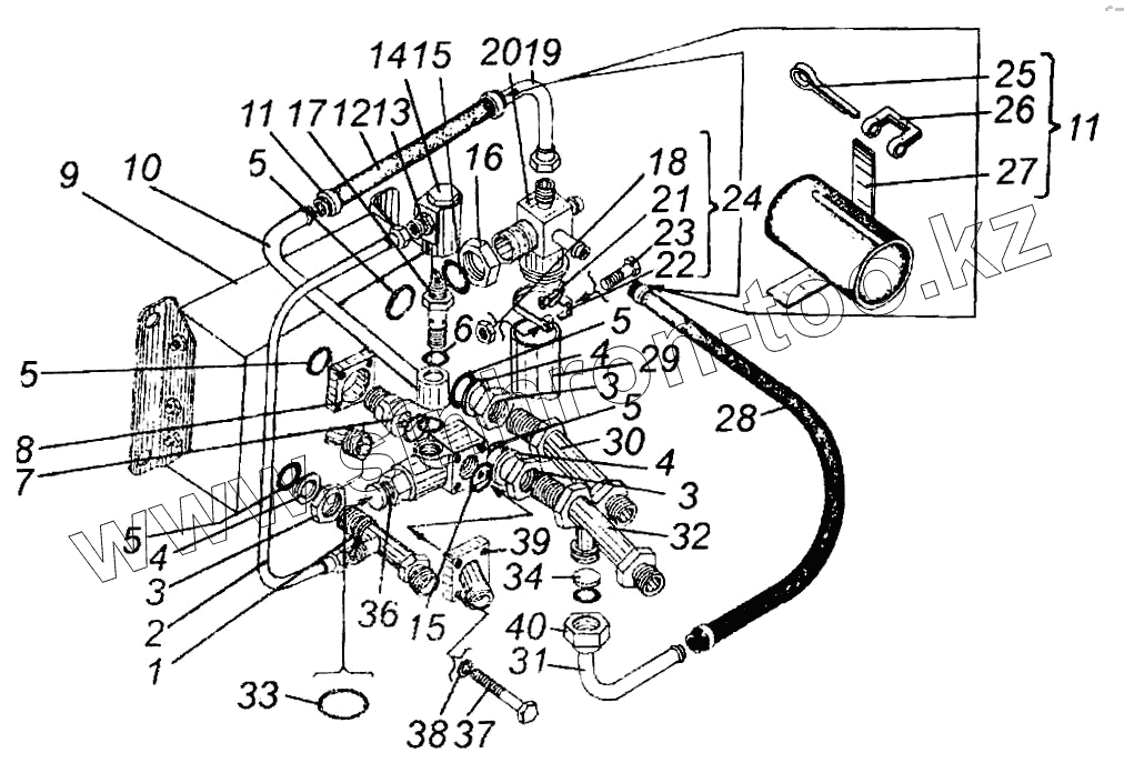
| Позиция на иллюстрации | Заводской номер детали | Название детали | |
|---|---|---|---|
| 1 | ТО-28.30.01.300 | Тройник поворотный | |
| 2 | ТО-28.26.02.210 | Трубопровод | |
| 3 | ТО-18А.26.00.001 | Гайка | |
| 4 | ТО-18А.26.66.002 | Шайба | |
| 5 | 029-035-36.9833 | Кольцо | |
| 6 | Д-565.4600-30 | Кольцо | |
| 7 | ТО-28.36.01.003 | Штуцер | |
| 8 | ТО-28.26.01.006 | Фланец | |
| 9 | ТО-28.30.02.100 | Гидрораспределитель | |
| 10 | ТО-28.30.01.320 | Трубопровод | |
| 11 | ТО-18.02.02.600-01 | Хомут | |
| 12 | 16х26,5.10362 | Рукав-деталь | |
| 13 | ЛО-16.70.00.011 | Штуцер | |
| 14 | Г51-32 | Гидроклапан обратный | |
| 15 | 039-045.36.9833 | Кольцо | |
| 16 | ТО-18.08.00.033 | Гайка | |
| 17 | ТО-28.26.01.007 | Штуцер проходной | |
| 18 | М8.5915 | Гайка | |
| 19 | ТО-28.30.01.310 | Трубопровод | |
| 20 | ТО-28.30.01.260 | Коллектор | |
| 21 | ЛО-16.90.00.922 | Вкладыш | |
| 22 | ЛО-16.90.00.921 | Хомут | |
| 23 | М8х50.7796 | Болт | |
| 24 | ЛО-16.90.00.920 | Хомут | |
| 25 | ТО-18.02.02.602 | Шплинт | |
| 26 | ТО-18.02.02.601 | Серьга | |
| 27 | ТО-18.02.02.603-02 | Лента | |
| 28 | 16х26,5.10362 | Рукав-деталь | |
| 29 | 48х62.10362 | Рукав (L=200) | |
| 30 | ТО-28.30.01.290 | Трубопровод | |
| 31 | ТО-18А.26.00.160 | Трубопровод | |
| 32 | ТО-28.30.01.280 | Трубопровод | |
| 33 | 020-025-30-9833 | Кольцо | |
| 34 | ТО-18А.26.00.005 | Шайба | |
| 35 | ТО-28.30.01.351 | Штуцер фланцевый | |
| 36 | 521.20.06.00 | Гидроклапан предохранительный | |
| 37 | М10х100.7796 | Болт | |
| 38 | 10.6402 | Шайба | |
| 39 | ТО-28.30.01.350 | Штуцер фланцевый | |
| 40 | ТО-18.07.00.111 | Гайка | |
| 41 | 06-0-4.3282 | Проволока 0,02 |
Содержащиеся в справочниках-каталогах запасные части и детали не предлагаются к продаже, а носят исключительно информационный характер