Каталог запасных частей к технике: Амкодор-342 (ТО-28). Электорсистема
1
1
2
2
3
3
4
4
4
4
4
4
5
5
6
6
7
8
9
10
11
12
13
13
14
14
15
15
16
16
17
18
19
20
21
22
23
24
25
26
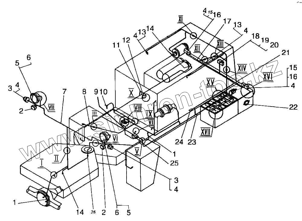
| Позиция на иллюстрации | Заводской номер детали | Название детали | |
|---|---|---|---|
| 1 | ТО-28.42.00.320 | Провод М-7 | |
| 2 | 23.3712 | Фонарь передний | |
| 3 | УП101-Г | Повторитель боковой указателя поворота | |
| 4 | А12-5 | Лампа | |
| 5 | 3102.3711 | Фара | |
| 6 | А12-45446 | Лампа | |
| 7 | ТО-28.42.00.100 | Жгут | |
| 8 | ТО-28.42.00.780 | Провод М-5 | |
| 9 | ВК 403 | Выключатель блокировки | |
| 10 | ММ25-Д | Выключатель сигнала торможения | |
| 11 | ТМ 111 | Датчик сигнализатора температуры | |
| 12 | ММ106-6 | Датчик сигнализатора давления | |
| 13 | ММ308-6 | Лампа подкапотная | |
| 14 | ММ124-Д | Датчик сигнализатора давления | |
| 15 | 333716 | Фонарь задний | |
| 16 | А12-21-3 | Лампа | |
| 17 | ТО-28.42.00.200 | Жгут 6 | |
| 18 | ФП131 | Фонарь освещения номерного знака | |
| 19 | М6.5915 | Гайка | |
| 20 | 6.8402 | Шайба | |
| 21 | ТО-28.42.00.250 | Жгут 7 | |
| 22 | ФП 136 | Световозвращатель боковой | |
| 23 | ТО-18.02.05.400 | Жгут проводов | |
| 24 | ПЖ6-300В | Электрооборудование подогревателя предпускового | |
| 25 | ТМ100-В | Датчик указателя температуры | |
| 26 | Д565.41.00-07 | Втулка |
Содержащиеся в справочниках-каталогах запасные части и детали не предлагаются к продаже, а носят исключительно информационный характер