Каталог запасных частей к технике: Амкодор-333 (ТО-18Б). Пневмосистема
1
1
2
2
3
3
4
4
5
5
6
6
7
8
8
9
10
11
12
13
14
15
16
17
20
21
21
21
22
23
24
25
26
26
26
27
28
29
30
31
32
33
34
35
36
37
38
39
40
41
42
43
44
46
47
47
48
48
49
50
51
52
53
54
55
56
57
58
59
60
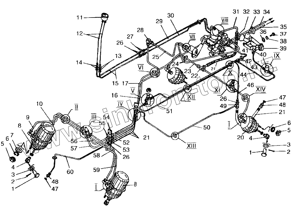
| Позиция на иллюстрации | Заводской номер детали | Название детали | |
|---|---|---|---|
| 1 | 6-14х40.9650 | Ось | |
| 2 | 3.2х20.397 | Шплинт | |
| 3 | 14.11371 | Шайба | |
| 4 | ТО-28.18.00.047-01 | Вилка | |
| 5 | М16х1.5.5915 | Гайка | |
| 6 | 16.6402 | Шайба | |
| 7 | 16.11371 | Шайба | |
| 8 | 100-3519100 | Камера тормозная (тип 20/20) | |
| 9 | ТО-28.18.00.320 | Трубопровод | |
| 10 | ТО-28.18.00.230 | Трубопровод | |
| 11 | 1102.3830010.1701 | Манометр | |
| 12 | ТО-18А.18.00.110 | Трубопровод | |
| 13 | М10х1.13958 | Гайка | |
| 14 | ТО-28.18.00.001 | Штуцер | |
| 15 | ТО-28.18.00.440 | Трубопровод | |
| 16 | ТО28.18.00.290 | Трубопровод | |
| 17 | ТО-28.18.00.200 | Трубопровод | |
| 18 | ТО-18А.18.02.009 | Гайка | |
| 19 | ТО-28.18.00.390 | Трубопровод | |
| 20 | 100-3519110 | Камера тормозная (тип 20) | |
| 21 | 120-3506085 | Шланг гибкий | |
| 22 | ТО18.18.00.007 | Тройник | |
| 23 | ТО-28.18.00.270 | Трубопровод | |
| 24 | ТО-28.18.00.190 | Трубопровод | |
| 25 | ТО-28.18.00.280 | Трубопровод | |
| 26 | М14.15803 | Контргайка | |
| 27 | ТО-28.18.00.002 | Штуцер | |
| 28 | Д-565.4300-18 | Угольник | |
| 29 | ТО-28.18.00.430 | Трубопровод | |
| 30 | ТО-28.18.00.450 | Трубопровод | |
| 31 | ТО28.18.00.240 | Трубопровод | |
| 32 | ТО-18.18.00.003 | Штуцер | |
| 33 | М30.15803 | Контргайка | |
| 34 | ТО-28.18.00.180 | Трубопровод | |
| 35 | ТО-28.18.00.150 | Трубопровод | |
| 36 | 12х3.11371 | Шайба | |
| 37 | М12х20.7796 | Болт | |
| 38 | 12.6402 | Шайба | |
| 39 | С40-3721000 В | Сигнал пневматический двух канальный | |
| 40 | ТО-18.18.00.019 | Угольник ввертный | |
| 41 | ТО-28.18.00.360 | Трубопровод | |
| 42 | ТО-28.18.00.038-01 | Т ройник | |
| 43 | ТО-28.18.00.420 | Трубопровод | |
| 44 | ТО-28.18.00.380 | Трубопровод | |
| 45 | ТО-28.18.00.250 | Трубопровод | |
| 46 | ТО28.18.00.260 | Трубопровод | |
| 47 | 12М3.23358 | Прокладка | |
| 48 | ТО-18А.18.02.003 | Штуцер | |
| 49 | ТО-28.18.00.035-01 | Тройник | |
| 50 | ТО-28.18.00.400 | Трубопровод | |
| 51 | ТО-28.18.00.370 | Трубопровод | |
| 52 | ТО-28.18.00.008-01 | Штуцер | |
| 53 | ТО-28.18.00.007-01 | Штуцер | |
| 54 | ТО-28.18.00.048 | Кронштейн | |
| 55 | М18.15803 | Контргайка | |
| 56 | ТО-28.18.00.300 | Трубопровод | |
| 57 | ТО-28.18.00.210 | Трубопровод | |
| 58 | ТО-28.18.00.220 | Трубопровод | |
| 59 | ТО-28.18.00.310 | Трубопровод | |
| 60 | ТО-28.18.06.416 | Трубопровод |
Содержащиеся в справочниках-каталогах запасные части и детали не предлагаются к продаже, а носят исключительно информационный характер