Каталог запасных частей к технике: Амкодор-333 (ТО-18Б). Кабина
1
1
2
2
3
3
4
4
5
6
7
8
9
10
11
12
13
14
15
16
17
18
19
20
21
22
23
24
25
26
27
28
29
30
31
32
33
34
35
36
36
37
37
38
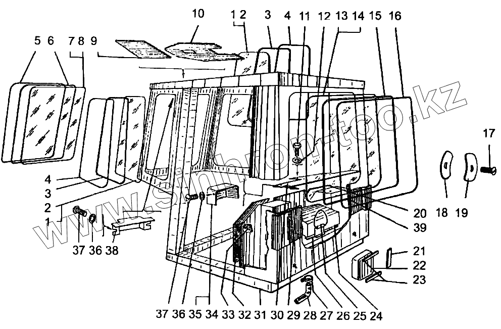
| Позиция на иллюстрации | Заводской номер детали | Название детали | |
|---|---|---|---|
| 1 | У7810.7-5.01.00.001 | Стекло | |
| 2 | У7810.7-5.01.00.004 | Стекло | |
| 3 | У7810.7-5.01.00.007 | Уплотнитель | |
| 4 | У7810.7-5.01.00.008 | Замок уплотнителя | |
| 5 | У7810.7-5.01.00.011 | Замок уплотнителя | |
| 6 | У7810.7-5.01.00.009 | Уплотнитель | |
| 7 | У7810.7-5.01.00.006 | Стекло | |
| 8 | У7810.7-5.01.00.003 | Стекло | |
| 9 | У7810.7-5.01.00.150 | Панель | |
| 10 | У78107-5.01.00.200 | Панель | |
| 11 | М6х16.7798 | Болт | |
| 12 | 6.11371 | Шайба | |
| 13 | У7810.7-5.01.00.002 | Стекло | |
| 14 | У7810.7-9.01.00.005 | Стекло | |
| 15 | У7810.7-5.01.00.012 | Уплотнитель | |
| 16 | У7810.7-5.01.00.013 | Замок уплотнителя | |
| 17 | ВМ4х25.17473 | Винт | |
| 18 | У7810.7-5.01.00.025 | Скоба зажима | |
| 19 | У7810.7-5.01.00.025-01 | Скоба зажима | |
| 20 | У7810.7-5.01.00.250 | Панель | |
| 21 | У7810.7-5.01.00.024 | Уплотнитель | |
| 22 | 80-8101050 | Фильтр | |
| 23 | У7810.7-5.01.00.024-02 | Уплотнитель | |
| 24 | 5043-8101060 | Радиатор отопителя | |
| 25 | 120-130-58 9833 | Кольцо | |
| 26 | У7810.7-5.01.00.024-01 | Уплотнитель | |
| 27 | ТО-18.02.02.600-01 | Хомут | |
| 28 | 10-24-550 | Рукав деталь | |
| 29 | У7810.7-5.01.00.050 | Стенка | |
| 30 | У7810.7-5.01.00.400 | Панель | |
| 31 | У7810.7-5.01.10.000 | Корпус кабины | |
| 32 | У7810.7-5,01.00.300 | Панель | |
| 33 | У7810.7-5.01.00.032 | Коврик | |
| 34 | У7810.7-5.01.00.500 | Кожух | |
| 35 | У7810.7-5.01.00.022 | Кожух | |
| 36 | 6.6402 | Шайба | |
| 37 | ВМ6х16.17473 | Винт | |
| 38 | У7810.7-5.01.06.000 | Крышка |
Содержащиеся в справочниках-каталогах запасные части и детали не предлагаются к продаже, а носят исключительно информационный характер