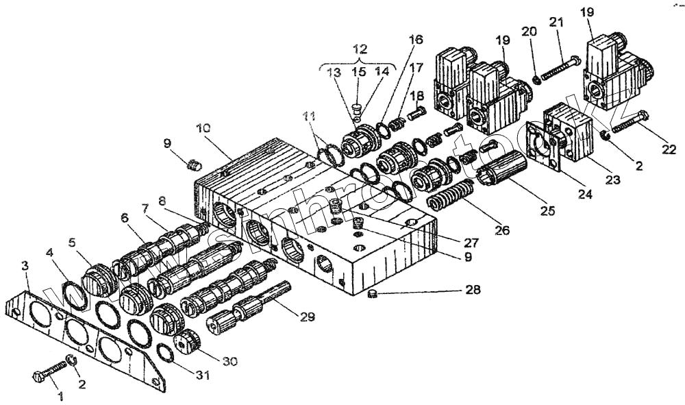
Каталог запасных частей к технике: Амкодор-327 (ТО-18Д). Механизм управления
1
2
2
3
4
5
6
7
8
9
9
10
11
12
13
14
15
16
17
18
19
19
20
21
22
23
24
25
26
27
28
29
30
31
| Позиция на иллюстрации | Заводской номер детали | Название детали | |
|---|---|---|---|
| У35.605М-03.000-03 | У35.605М-03.000-03 | Механизм управления | |
| 1 | М8х20.7808 | Болт | |
| 2 | 8.6402 | Шайба | |
| 3 | У35.605М-03.005-03 | Крышка | |
| 4 | 030-035-30.9833 | Кольцо | |
| 5 | У35.605М-03.007-03 | Крышка | |
| 6 | У35.605М-03.070 | Золотник | |
| 7 | У35.605М-03.060 | Золотник | |
| 8 | У35.605М-03.008 | Пружина | |
| 9 | 1-1/8.22-1624.18-84 | Пробка | |
| 10 | У35.605М-03.002-03 | Корпус | |
| 11 | 023-028-30.9833 | Кольцо | |
| 12 | У35.605М-03.040 | Клапан управления | |
| 13 | У35.605М-03.041 | Корпус | |
| 14 | 5.556-10.3722 | Шарик | |
| 15 | У35.605М-03.042 | Заглушка | |
| 16 | 016-019-19.9833 | Кольцо | |
| 17 | У35.605М-03.011 | Пружина | |
| 18 | У35.605М-03.009 | Толкатель | |
| 19 | ЭМ24-52412-65-73(246) | Электромагнит | |
| 20 | 4.6402 | Шайба | |
| 21 | ВМ4х70.17473 | Винт | |
| 22 | М8х45.7808 | Болт | |
| 23 | У35.605М-03.004 | Крышка | |
| 24 | У35.605М-03.005 | Прокладка | |
| 25 | У35.605М-03.017 | Поршень | |
| 26 | У35.605М-03.018 | Пружина | |
| 27 | 1-1/4.22-1624.18-84 | Пробка | |
| 28 | У35.605М-03.003 | Дроссель | |
| 29 | У35.605М-03.016 | Золотник | |
| 30 | У35.605М-04.005 | Втулка | |
| 31 | 018-022-25.9833 | Кольцо |
Содержащиеся в справочниках-каталогах запасные части и детали не предлагаются к продаже, а носят исключительно информационный характер