Вернуться на главную
Поиск
Каталоги запчастей к технике
Спецтехника
Амкодор
Амкодор-320
320.82.01.200 Зеркало внутреннее
Каталог запасных частей к технике: Амкодор-320. 320.82.01.200 Зеркало внутреннее
zoom-in
zoom-out
enlarge
shrink
circle-right
circle-left
file-text2
info
cart
Тип техники
Не выбрано
Легковые автомобили
Грузовые автомобили и прицепы
Автобусы
Сельхозтехника
Спецтехника
Двигатели
Мототехника
Марка
Не выбрано
Ammann
BOMAG
CARMIX
CASE IH
Changlin
ChengGong
Dimex
Doosan
DYNAPAC
Foton
HAMM
Hidromek
Hitachi
Hyundai
JCB
JLG
John Deere
Komatsu
LIEBHERR
LiuGong
Lonking (LongGong)
Luneng
MANITOU
Mitsuber
New Holland
PENGPU
RM-Terex
SANY
SDLG
SEM
Shantui
Shehwa HBXG
Soosan
TIGARBO
VOGELE
Volvo
WAY
WIRTGEN
XCMG
XGMA
Xiamen
YTO
Yuchai
Zoomlion
Автокран
АЗСМ
Алтайлесмаш
Амкодор
АОМЗ
Атек
АТЗ
Балканкар Рекорд
БелАЗ
Беловеж
Борекс
Брянский Арсенал
Булат
ВЭКС
ГАЗ
Геомаш
Гидромаш
Донекс
Дормаш
Дормашина
Дорэлектромаш
ДЭЗ
ЕлАЗ
ЗЗГТ
Ижнефтемаш
Канаш-электрокар
КЗКТ
ККЗ
Клевер
Клинцовский автокрановый завод
КМЗ
КМЗ 1 Мая
Ковровец
Коммаш
Кранэкс
КЭЗ
КЭМЗ
ЛЗА
МАЗ
МЗИК
МЗКМ
МЗКТ
Михневский РМЗ
МоАЗ
Мозырский МЗ
МТЗ
ОЗП
Онежец
ПАО "ТЗА"
ППС Детва
Промтрактор
ПТЗ
Раскат
СпецАгрегат
ТВЭКС
ТТМ
УВЗ
Угличмаш
УЗТМ
ХТЗ
ЧЗКМ
ЧСДМ
ЧТЗ
ЭКСКО
ЭКСМАШ
ЮрМаш
Модель
Не выбрано
2561 (2021)
352C (2019)
Амкодор-208А (2006)
Амкодор-208В (2006)
Амкодор-211 (2009)
Амкодор-211 (2011)
Амкодор-211nev (2009)
Амкодор-211Е (2014)
Амкодор-211Е (2016)
Амкодор-2243В (2012)
Амкодор-2541 (2013)
Амкодор-2541 (2021)
Амкодор-2551 (2011)
Амкодор-2551 (2020)
Амкодор-2661-01 (2011)
Амкодор-2662 (2015)
Амкодор-2904 (2020)
Амкодор-320 (2009)
Амкодор-320 (2011)
Амкодор-320СЕ (2013)
Амкодор-3225 (2018)
Амкодор-325 (ТО-18К) (2006)
Амкодор-327 (ТО-18Д) (2003)
Амкодор-332B, 332B4 (2008)
Амкодор-332С-01 (2006)
Амкодор-332С4 (2016)
Амкодор-332С4 (2018)
Амкодор-332С4, 332С4-02 (2008)
Амкодор-333 (ТО-18Б) (2004)
Амкодор-333А (ТО-18Б2) (2006)
Амкодор-333В (ТО-18Б3)
Амкодор-333В, 332С (2008)
Амкодор-342 (ТО-28) (2004)
Амкодор-342А (ТО-28А)
Амкодор-342В (ТО-18А) (2006)
Амкодор-342В, 342С4, 342Р (2008)
Амкодор-342В, 342С4, 342Р (2010)
Амкодор-342С (2006)
Амкодор-342С-03 (2008)
Амкодор-342С4 (2018)
Амкодор-351 (2006)
Амкодор-352 (2006)
Амкодор-352 (2008)
Амкодор-352 (2021)
Амкодор-352 (352C, 352Л) (2008)
Амкодор-352-10 (2010)
Амкодор-352-10 (2021)
Амкодор-352C (2006)
Амкодор-352СА (2017)
Амкодор-361 (2006)
Амкодор-37 (2012)
Амкодор-371 (2009)
Амкодор-371 (2014)
Амкодор-371А (2009)
Амкодор-451A (2006)
Амкодор-451A(2011) (2011)
Амкодор-527 (2009)
Амкодор-6223 (2007)
Амкодор-6223А (2007)
Амкодор-6223А (2016)
Амкодор-6223Е (2014)
Амкодор-6622 (2007)
Амкодор-6622А (2014)
Амкодор-6712B (2013)
Амкодор-6712А (2007)
Амкодор-702 (2006)
Амкодор-702EA (2007)
Амкодор-702EA(2012) (2012)
Амкодор-702EВ (2012)
Амкодор-702В (ТО-49-40) (2003)
Амкодор-702Е (2008)
Амкодор-702ЕМ-03 (2010)
Амкодор-732 (2015)
Амкодор-732 (2016)
Амкодор-8047А (2007)
Амкодор-91 (ДЗ-133ЭЦ) (2006)
Амкодор-9211А1 (2010)
Амкодор-9531 (ДЭ-226) (2006)
Амкодор-Е16 (2011)
Амкодор-Е25 (2017)
Амкодор-ЕР30 (2017)
Амкодор-ТО-18А (2000)
ГМП 2541.17.00.010-А (2013)
ГМП серии 120 модели G160.17.15.000 (2021)
ГМП серии У35615 модели 332.17.15.000 (2018)
ГМП серии У35615 модели 332С4.17.00.010-А 2018 (2018)
Мост ведущий неуправляемый 10Н.23.00.000 (2019)
Мост ведущий неуправляемый 10НР.24.00.000 (2019)
Мост ведущий неуправляемый 25Н (2018)
Мосты ведущие (2018)
Мосты ведущие серии 342 (2015)
Мосты серии 451 (2019)
Рабочие органы Амкодор-352 (2010)
Т400-70 (2020)
Схема
>
Не выбрано
Общий вид 320.00.00.000, 320.00.00.000-01
Подвеска дизеля 320.10.01.000-Б
Редуктор отбора мощности 320.16.20.000-Б
Электросистема силовой установки 320.10.37.000
Система питания 320.11.00.000-Б
Установка воздухоочистителя 320.11.09.000-Б
Бак топливный 320.11.01.000-Б
320.12.00.000-Б Система выхлопа
Система охлаждения 320.13.00.000-Б
Блок радиаторов 320.13.01.000-Б
320.19.50.000 Гидросистема хода
320.28.00.000 и 320.28.00.000-01 Рама
320.29.00.000 Установка мостов
320.29.40.000 Установка мостов
320.31.00.000, 320.31.00.000-01, 320.31.00.000-02 и 320.31.00.000-03 Колесо
320.34.07.000 Гидросистема рулевого управления
320.34.29.000 Гидроцилиндр
320.35.05.000 Гидросистема тормозов (мосты CARRARO)
320.35.05.000-01 Гидросистема тормозов (мосты DANA)
320.35.05.005 и 320.35.05.005-01 Установка главного тормозного цилиндра
320.37.00.000 Электросистема
320.44.00.000-Б Рабочее оборудование
320.46.00.000 Гидросистема рабочего оборудования
Гидроцилиндр 320.46.13.000
Гидроцилиндр 320.46.14.000
Гидробак 320.46.15.000
320.50.00.005, (-01, -02, -03, -04 и -05) Установка кабины
320.65.00.000 Управление
320.65.40.000 Управление
320.83.00.000 Установка трубопроводов отопителя
320.84.00.000 Облицовка
320.50.00.010 и 320.50.00.010-01 Кабина
320.50.08.020 Дверь
320.82.01.010 Запорное устройство двери
320.50.08.120 Окно боковое
320.82.01.020 Фиксатор
320.50.08.220 и 320.50.08.220-01 Окно боковое
320.82.01.040 и 320.82.01.040-01 Фиксатор
320.68.00.000 Сиденье
320.82.01.100-Б Установка зеркала
320.82.01.200 Зеркало внутреннее
320.82.01.250 Установка маяка сигнального
320.45.62.000 Установка отвала для снега Pronar
320.45.82.000 Установка подметально уборочного оборудования Tuchel
352С.45.62.000 Установка отвала для снега Arctic Machine
352С.45.81.000 Установка щетки дорожной Arctic Machine
352C.45.81.300 Электросистема
320.45.83.000 Установка подметально уборочного оборудования Holms
352C.45.82.000 Установка подметально уборочного оборудования Holms
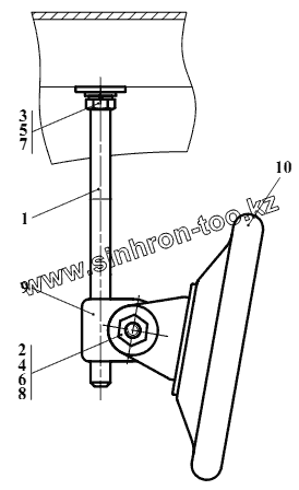
1
2
3
4
5
6
7
8
9
10
Позиция на иллюстрации
Заводской номер детали
Название детали
1
320.82.01.210
Кронштейн
2
M8-6gx25.88.35.0115
Болт
3
M6-6gx20.88.35.0115
Болт
4
M8-6H.8.35.0115
Гайка
5
6.65Г.0115
Шайба
6
8.65Г.0115
Шайба
7
C8.02.Ст3.0115
Шайба
8
C8.02.Ст3.0115
Шайба
9
80-8201035
Зеркало внутреннее
10
А30.04.071
Хомут
Содержащиеся в справочниках-каталогах запасные части и детали не предлагаются к продаже, а носят исключительно информационный характер
Дополнительная информация
×
Название:
Номер:
Примечание: