Вернуться на главную
Поиск
Каталоги запчастей к технике
Спецтехника
Амкодор
Амкодор-2662
Установка колес 2682.30.00.005
Каталог запасных частей к технике: Амкодор-2662. Установка колес 2682.30.00.005
zoom-in
zoom-out
enlarge
shrink
circle-right
circle-left
file-text2
info
cart
Тип техники
Не выбрано
Легковые автомобили
Грузовые автомобили и прицепы
Автобусы
Сельхозтехника
Спецтехника
Двигатели
Мототехника
Марка
Не выбрано
Ammann
BOMAG
CARMIX
CASE IH
Changlin
ChengGong
Dimex
Doosan
DYNAPAC
Foton
HAMM
Hidromek
Hitachi
Hyundai
JCB
JLG
John Deere
Komatsu
LIEBHERR
LiuGong
Lonking (LongGong)
Luneng
MANITOU
Mitsuber
New Holland
PENGPU
RM-Terex
SANY
SDLG
SEM
Shantui
Shehwa HBXG
Soosan
TIGARBO
VOGELE
Volvo
WAY
WIRTGEN
XCMG
XGMA
Xiamen
YTO
Yuchai
Zoomlion
Автокран
АЗСМ
Алтайлесмаш
Амкодор
АОМЗ
Атек
АТЗ
Балканкар Рекорд
БелАЗ
Беловеж
Борекс
Брянский Арсенал
Булат
ВЭКС
ГАЗ
Геомаш
Гидромаш
Донекс
Дормаш
Дормашина
Дорэлектромаш
ДЭЗ
ЕлАЗ
ЗЗГТ
Ижнефтемаш
Канаш-электрокар
КЗКТ
ККЗ
Клевер
Клинцовский автокрановый завод
КМЗ
КМЗ 1 Мая
Ковровец
Коммаш
Кранэкс
КЭЗ
КЭМЗ
ЛЗА
МАЗ
МЗИК
МЗКМ
МЗКТ
Михневский РМЗ
МоАЗ
Мозырский МЗ
МТЗ
ОЗП
Онежец
ПАО "ТЗА"
ППС Детва
Промтрактор
ПТЗ
Раскат
СпецАгрегат
ТВЭКС
ТТМ
УВЗ
Угличмаш
УЗТМ
ХТЗ
ЧЗКМ
ЧСДМ
ЧТЗ
ЭКСКО
ЭКСМАШ
ЮрМаш
Модель
Не выбрано
2561 (2021)
352C (2019)
Амкодор-208А (2006)
Амкодор-208В (2006)
Амкодор-211 (2009)
Амкодор-211 (2011)
Амкодор-211nev (2009)
Амкодор-211Е (2014)
Амкодор-211Е (2016)
Амкодор-2243В (2012)
Амкодор-2541 (2013)
Амкодор-2541 (2021)
Амкодор-2551 (2011)
Амкодор-2551 (2020)
Амкодор-2661-01 (2011)
Амкодор-2662 (2015)
Амкодор-2904 (2020)
Амкодор-320 (2009)
Амкодор-320 (2011)
Амкодор-320СЕ (2013)
Амкодор-3225 (2018)
Амкодор-325 (ТО-18К) (2006)
Амкодор-327 (ТО-18Д) (2003)
Амкодор-332B, 332B4 (2008)
Амкодор-332С-01 (2006)
Амкодор-332С4 (2016)
Амкодор-332С4 (2018)
Амкодор-332С4, 332С4-02 (2008)
Амкодор-333 (ТО-18Б) (2004)
Амкодор-333А (ТО-18Б2) (2006)
Амкодор-333В (ТО-18Б3)
Амкодор-333В, 332С (2008)
Амкодор-342 (ТО-28) (2004)
Амкодор-342А (ТО-28А)
Амкодор-342В (ТО-18А) (2006)
Амкодор-342В, 342С4, 342Р (2008)
Амкодор-342В, 342С4, 342Р (2010)
Амкодор-342С (2006)
Амкодор-342С-03 (2008)
Амкодор-342С4 (2018)
Амкодор-351 (2006)
Амкодор-352 (2006)
Амкодор-352 (2008)
Амкодор-352 (2021)
Амкодор-352 (352C, 352Л) (2008)
Амкодор-352-10 (2010)
Амкодор-352-10 (2021)
Амкодор-352C (2006)
Амкодор-352СА (2017)
Амкодор-361 (2006)
Амкодор-37 (2012)
Амкодор-371 (2009)
Амкодор-371 (2014)
Амкодор-371А (2009)
Амкодор-451A (2006)
Амкодор-451A(2011) (2011)
Амкодор-527 (2009)
Амкодор-6223 (2007)
Амкодор-6223А (2007)
Амкодор-6223А (2016)
Амкодор-6223Е (2014)
Амкодор-6622 (2007)
Амкодор-6622А (2014)
Амкодор-6712B (2013)
Амкодор-6712А (2007)
Амкодор-702 (2006)
Амкодор-702EA (2007)
Амкодор-702EA(2012) (2012)
Амкодор-702EВ (2012)
Амкодор-702В (ТО-49-40) (2003)
Амкодор-702Е (2008)
Амкодор-702ЕМ-03 (2010)
Амкодор-732 (2015)
Амкодор-732 (2016)
Амкодор-8047А (2007)
Амкодор-91 (ДЗ-133ЭЦ) (2006)
Амкодор-9211А1 (2010)
Амкодор-9531 (ДЭ-226) (2006)
Амкодор-Е16 (2011)
Амкодор-Е25 (2017)
Амкодор-ЕР30 (2017)
Амкодор-ТО-18А (2000)
ГМП 2541.17.00.010-А (2013)
ГМП серии 120 модели G160.17.15.000 (2021)
ГМП серии У35615 модели 332.17.15.000 (2018)
ГМП серии У35615 модели 332С4.17.00.010-А 2018 (2018)
Мост ведущий неуправляемый 10Н.23.00.000 (2019)
Мост ведущий неуправляемый 10НР.24.00.000 (2019)
Мост ведущий неуправляемый 25Н (2018)
Мосты ведущие (2018)
Мосты ведущие серии 342 (2015)
Мосты серии 451 (2019)
Рабочие органы Амкодор-352 (2010)
Т400-70 (2020)
Схема
>
Не выбрано
Форвардер АМКОДОР 2662. Общий вид. 2662.00.00.000
Установка силовая 2662.10.00.000-Б
Подвеска дизеля 2662.10.01.000-Б
Редуктор отбора мощности 2662.16.20.010
Установка демпфера ТО-28А.02.00.900-Б
Система питания 2662.11.00.000-Б
Бак топливный 2662.11.01.000
Система выпуска отработавших газов 2662.12.00.000-Б
Система охлаждения 2662.13.00.000-Б
Блок радиаторов 2662.13.01.010-Б
Установка подогревателя 2662.10.15.005-А
Управление подачей топлива 2662.11.08.010-А
Установка ГМП 2662.17.00.005
Установка управления ГМП 2662.17.03.010
Установка системы охлаждения ГМП 2662.17.14.005
Фильтр магистральный ТО-28А.07.05.000
Клапан перепускной ТО-27-1-10 01.03.000
Установка карданных валов 2662.22.00.000
Опора промежуточная 2662.22.01.000
Гидросистема отключения моста 2662.22.90.010
Рама 2662.28.00.010-А
Гидросистема блокировки полурам 2662.28.90.010
Клапан блокировки 2681.46.60.000
Гидроцилиндр 2681.46.68.000-А
Установка мостов 2662.29.00.005
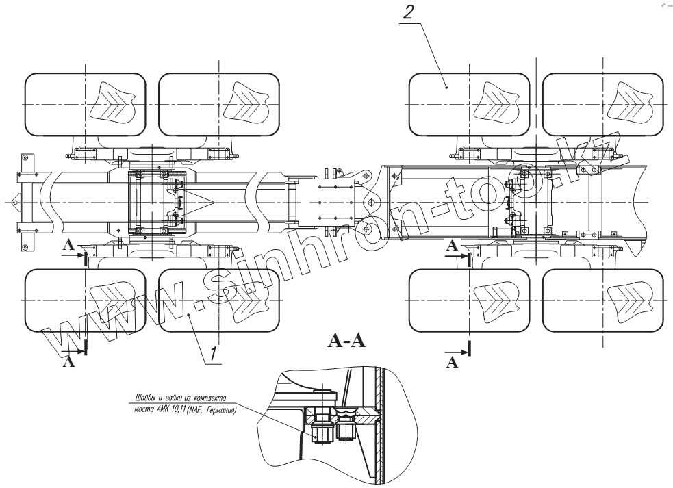
Установка колес 2662.30.00.005
Колесо 2661.05.07.000-В
Колесо 2661.05.14.000
Колесо 2662.31.01.010
Система для накачивания шин 2662.33.01.000
Гидросистема рулевого управления 2662.34.07.010
Гидроцилиндр 2662.34.29.010
Гидросистема рабочего оборудования (без отвала) 2662.46.00.010
Гидробак 2662.46.15.000
Гидросистема рабочего оборудования (с отвалом) 2662.47.00.010
Гидроцилиндр ЦГ-100.50х400.11-03
Гидросистема подъема кабины 2662.49.00.005-А
Гидросистема тормозов 2682.35.05.010
Фильтр УГА1.08.01.000
Блок разгрузочный УГА2.01.01.000
Электросистема 2662.37.00.000
Сигнализатор 2662.37.00.900
Электросистема кабины 2661Б.38.00.000
Магнитола 2661.78.42.950- Б
Система аккустическая (Ural AS-U1301) 2661.78.42.960
Панель аппаратов 2661Б.38.00.700
Панель коммутации 2661Б.38.00.720
Выключатель конечный 2661Б.38.00.900
Электросистема рулевой колонки 2661Б.38.01.000
Установка кабины 2662.50.00.000
Амортизатор 2661.77.00.400
Кабина 2661Б.50.00.000
Тяга 2661.50.03.150-Б
Тяга 2661.50.03.160-Б
Вал 2661Б.50.03.170
Установка ограждения фар 2661.50.07.600
Дверь 2661.50.08.000
Фиксатор 2661.50.08.500
Дверь 2661Б.50.08.000
Фиксатор У7810.7-9.01.01.700-01
Cиденье 2661.68.02.000
2662.81.00.010-А Система кондиционирования
Установка кондиционера и отопителя 2661.81.07.000-Б
Установка теплоизоляции 2661Б.50.05.100
Установка тормозного крана 2662.35.05.020
Кран тормозной УГА2-05.01.000
Педаль У7810.7-9.02.00.350-01
Педаль У10.78.73.000
Установка отвала 2662.45.61.005-А
2662.60.00.000 Установка манипулятора
2662.61.00.005 Установка щита и коников
Облицовка 2662.84.00.000
Капот 2662.84.01.000
Дверца 2662.84.01.200
Растяжка 2662.84.06.000-Б
Кожух 2662.84.61.000
Форвардер АМКОДОР 2682. Общий вид. Состав машины
Установка карданных валов 2682.22.00.000
Рама 2682.28.00.010-А
Установка мостов 2682.29.00.005-А
Установка колес 2682.30.00.005
Колесо 2661.05.14.000-Б
Колесо 2661.05.07.000-В
Облицовка 2682.84.00.000-Б
1
1
1
1
2
2
2
2
Позиция на иллюстрации
Заводской номер детали
Название детали
1
2661.05.14.000-Б
Колесо
1
2661.05.14.000-02-Б
Колесо
1
2661.05.14.000-04-Б
Колесо
1
2661.05.07.000-01-В
Колесо
2
2661.05.14.000-01-Б
Колесо
2
2661.05.14.000-03-Б
Колесо
2
2661.05.14.000-05-Б
Колесо
2
2661.05.07.000-В
Колесо
Содержащиеся в справочниках-каталогах запасные части и детали не предлагаются к продаже, а носят исключительно информационный характер
Дополнительная информация
×
Название:
Номер:
Примечание: