Каталог запасных частей к технике: Амкодор-2551. Рама 2551.01.00.000-Б
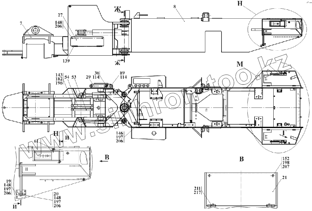
7
8
19
20
21
27
29
36
53
54
61
89
114
114
139
143
146
148
148
148
152
182
196
197
197
197
198
206
206
206
206
207
211
217
| Позиция на иллюстрации | Заводской номер детали | Название детали | |
|---|---|---|---|
| 1 | 2241.13.08.400 | Петля | |
| 4 | 2551.01.00.100-Б | Кронштейн | |
| 7 | 2551.01.01.000-Б | Полурама | |
| 8 | 2551.01.02.000-В | Полурама | |
| 15 | 2661.01.00.200 | Установка передних фонарей | |
| 16 | 2661.01.00.300 | Лестница | |
| 17 | 2661.01.00.300-01 | Лестница | |
| 18 | 2661.01.00.400 | Кронштейн | |
| 19 | 2661.01.00.500 | Кронштейн | |
| 20 | 2661.01.00.500-01 | Кронштейн | |
| 21 | 2661.01.00.600 | Щит | |
| 23 | 2661.01.00.800 | Рамка | |
| 24 | 2661.01.00.800-01 | Рамка | |
| 27 | 2661.01.00.860 | Крышка | |
| 29 | 2661.01.00.940 | Звено безопасности | |
| 36 | ТО-18Б.01.03.000 | Палец | |
| 51 | 2241.21.00.002 | Пружина | |
| 53 | 2551.01.00.001 | Уголок | |
| 54 | 2551.01.00.001-01 | Уголок | |
| 58 | 2661.01.00.001 | Лист | |
| 59 | 2661.01.00.002-03 | Стекло защитное | |
| 60 | 2661.01.00.003 | Фиксатор | |
| 61 | 2661.01.00.004 | Винт | |
| 62 | 2661.01.00.005 | Лист | |
| 73 | 2661.01.00.013 | Ось | |
| 74 | 2661.01.00.014 | Палец | |
| 77 | 2661.01.00.017 | Ригель | |
| 78 | 2661.01.00.018 | Ригель | |
| 79 | 2661.01.00.019 | Палец | |
| 86 | ДЭ-214С.13.006 | Кольцо | |
| 89 | ТО-18А.01.00.001-01 | Палец | |
| 91 | ТО-18А.01.00.010 | Шайба | |
| 95 | ТО-18А.01.00.014 | Крышка | |
| 95 | ТО-18А.01.00.014-01 | Крышка | |
| 101 | ТО-18А.01.00.015 | Крышка | |
| 101 | ТО-18А.01.00.015-01 | Крышка | |
| 108 | ТО-18А.01.00.022 | Прокладка | |
| 109 | ТО-18А.01.00.022-01 | Прокладка | |
| 110 | ТО-18А.01.00.022-02 | Прокладка | |
| 114 | ТО-18Б.01.00.003 | Шплинт | |
| 117 | ТО-18Б.71.00.001 | Палец | |
| 119 | ТО-18Б.71.00.003 | Втулка | |
| 120 | ТО-18Б.71.00.003-01 | Втулка | |
| 123 | ТО-18Б.71.00.006 | Прокладка | |
| 124 | ТО-18Б.71.00.006-01 | Прокладка | |
| 125 | ТО-18Б.71.00.006-02 | Прокладка | |
| 130 | ТО-18К.14.00.004 | Втулка | |
| 134 | ТО-28А.01.00.004 | Болт | |
| 139 | У7810.7.02.00.401 | Ось | |
| 143 | M8-6gx20.88.35.0115 | Болт | |
| 146 | M10-6gx25.88.35.0115 | Болт | |
| 148 | M10-6gx30.88.35.0115 | Винт | |
| 152 | M12-6gx35.88.35.0115 | Болт | |
| 157 | M12-6gx35.109.40X.0115 | Болт | |
| 161 | M12-6gx45.88.35.0115 | Болт | |
| 165 | M16-6gx40.88.35.0115 | Болт | |
| 166 | M16-6gx40.109.40X.0115 | Болт | |
| 172 | M6-6gx16.88.35.0115 | Болт | |
| 182 | М8-6Н.8.35.0115 | Гайка | |
| 183 | М10-6Н.8.35.0115 | Гайка | |
| 195 | 6.65Г.0115 | Шайба | |
| 196 | 8.65Г.0115 | Шайба | |
| 197 | 10.65Г.0115 | Шайба | |
| 198 | 12.65Г.0115 | Шайба | |
| 199 | 16.65Г.0115 | Шайба | |
| 204 | С.6.02.Ст3.0115 | Шайба | |
| 205 | С.8.02.Ст3.0115 | Шайба | |
| 206 | С.10.02.Ст3.0115 | Шайба | |
| 207 | С.12.02.Ст3.0115 | Шайба | |
| 208 | С.16.02.Ст3.0115 | Шайба | |
| 211 | 3,2x20.019 | Шплинт | |
| 212 | 4x25.019 | Шплинт | |
| 217 | 6-12d11х105.45.Ц15.хр | Ось | |
| 225 | 1.2-55x75-1 | Манжета | |
| 227 | 1.2-70x95-1 | Манжета | |
| 229 | 1.2-80x105-1 | Манжета | |
| 232 | В75 | Кольцо | |
| 236 | Г3.Ц6.хр | Масленка | |
| 240 | 2.3.90.Ц6.хр | Маслёнка | |
| 245 | ШСП50К | Подшипник | |
| 246 | ШСЛ 70 | Подшипник |
Содержащиеся в справочниках-каталогах запасные части и детали не предлагаются к продаже, а носят исключительно информационный характер