Каталог запасных частей к технике: Амкодор-2551. 2661.50.00.000 Кабина
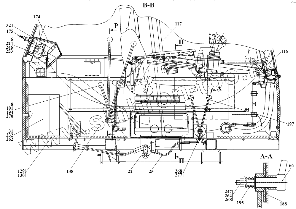
6
8
22
22
25
31
66
101
116
117
129
130
130
130
138
138
174
174
175
175
188
194
195
197
224
232
246
247
253
262
264
268
268
270
277
321
| Позиция на иллюстрации | Заводской номер детали | Название детали | |
|---|---|---|---|
| 1 | 451.78.30.000 | Педаль | |
| 2 | 451.78.31.000 | Кронштейн | |
| 6 | 2661.50.00.100 | Кронштейн | |
| 7 | 2661.50.00.100-01 | Кронштейн | |
| 8 | 2661.50.00.120 | Рычаг | |
| 9 | 2661.50.00.140 | Рычаг | |
| 10 | 2661.50.00.150 | Кронштейн | |
| 11 | 2661.50.00.160 | Кронштейн | |
| 12 | 2661.50.00.170 | Кронштейн | |
| 13 | 2661.50.00.180 | Рычаг | |
| 14 | 2661.50.00.190 | Кронштейн | |
| 15 | 2661.50.00.200 | Кронштейн | |
| 16 | 2661.50.01.000 | Корпус кабины | |
| 16 | 2661.50.01.000-01 | Корпус кабины | |
| 16 | 2661.50.01.000-02 | Корпус кабины | |
| 16 | 2661.50.01.000-03 | Корпус кабины | |
| 16 | 2661.50.01.000-04 | Корпус кабины | |
| 18 | 2661.50.03.100 | Опора | |
| 19 | 2661.50.03.120 | Поручень | |
| 20 | 2661.50.03.150 | Тяга | |
| 21 | 2661.50.03.160 | Тяга | |
| 22 | 2661.50.03.170 | Вал | |
| 22 | 2661.50.03.170-01 | Вал | |
| 24 | 2661.50.03.300 | Кожух | |
| 25 | 2661.50.03.400 | Тяга | |
| 26 | 2661.50.04.100 | Панель | |
| 27 | 2661.50.03.130 | Поручень | |
| 29 | 2661.50.04.150 | Панель | |
| 30 | 2661.50.04.200 | Накладка | |
| 31 | 2661.50.04.250 | Кожух | |
| 33 | 2661.50.04.320 | Кожух | |
| 34 | 2661.50.04.350 | Накладка | |
| 35 | 2661.50.04.400 | Накладка | |
| 36 | 2661.50.04.450 | Панель | |
| 37 | 2661.50.04.500 | Крышка | |
| 38 | 2661.50.04.550 | Панель | |
| 39 | 2661.50.04.600 | Панель | |
| 42 | 2661.50.07.370 | Крыша | |
| 44 | 2661.50.08.000 | Дверь | |
| 45 | 2661.50.08.000-01 | Дверь | |
| 57 | 2661.68.00.000 | Сиденье | |
| 57 | 2661.68.00.000-01 | Сиденье | |
| 58 | 2661.68.01.000 | Сиденье | |
| 59 | 2661.68.02.000 | Сиденье | |
| 59 | 2661.68.02.000-01 | Сиденье | |
| 60 | 2661.78.42.000 | Электросистема кабины | |
| 60 | 2551.78.42.000 | Электросистема кабины | |
| 60 | 2243.78.42.000 | Электросистема кабины | |
| 60 | 2243.78.42.000-01 | Электросистема кабины | |
| 60 | 2243В.78.42.000 | Электросистема кабины | |
| 60 | 2243С.78.42.000 | Электросистема кабины | |
| 60 | 2681.38.00.000 | Электросистема кабины | |
| 62 | У10.78.73.000 | Педаль | |
| 65 | У7810.7-9.01.00.850-01 | Кронштейн | |
| 66 | У7810.7-9.02.02.450-01 | Рычаг | |
| 67 | У7810.7-9.02.02.480-01 | Рычаг | |
| 68 | У7810.7-9.02.00.350-01 | Педаль | |
| 70 | ТО-18Д.09.00.003 | Пружина | |
| 71 | 361.78.10.003 | Проушина | |
| 72 | 535.78.01.003 | Табличка | |
| 74 | 2243.00.00.005 | Табличка | |
| 75 | 2243.00.00.006 | Табличка | |
| 77 | 2243А.00.00.005 | Табличка | |
| 78 | 2243А.00.00.006 | Табличка | |
| 80 | 2243С.00.00.005 | Табличка | |
| 81 | 2243С.00.00.006 | Табличка | |
| 82 | 2551.00.00.004-Б | Табличка | |
| 83 | 2551.00.00.005-Б | Табличка | |
| 86 | 2661.00.00.002 | Табличка | |
| 87 | 2661.00.00.003 | Табличка | |
| 90 | 2661.50.00.003 | Втулка | |
| 93 | 2661.50.00.006 | Ручка | |
| 94 | 2661.50.00.007 | Табличка маркировочная | |
| 94 | 2661.50.00.007-01 | Табличка маркировочная | |
| 94 | 2661.50.00.007-02 | Табличка маркировочная | |
| 94 | 2661.50.00.007-03 | Табличка маркировочная | |
| 94 | 2661.50.00.007-04 | Табличка маркировочная | |
| 94 | 2661.50.00.007-05 | Табличка маркировочная | |
| 94 | 2661.50.00.007-06 | Табличка маркировочная | |
| 94 | 2661.50.00.007-07 | Табличка маркировочная | |
| 96 | 2661.50.00.009 | Табличка | |
| 97 | 2661.50.00.011 | Планка | |
| 98 | 2661.50.00.012 | Планка | |
| 99 | 2661.50.00.014 | Обивка | |
| 100 | 2661.50.00.015 | Крышка | |
| 101 | 2661.50.00.016 | Трубка | |
| 102 | 2661.50.00.016-01 | Трубка | |
| 103 | 2661.50.00.017 | Гайка | |
| 104 | 2661.50.00.018 | Прокладка | |
| 105 | 2661.50.00.019 | Уголок | |
| 106 | 2661.50.00.021 | Кронштейн | |
| 107 | 2661.50.00.022 | Прокладка | |
| 108 | 2661.50.00.023 | Кронштейн | |
| 109 | 2661.50.00.024 | Прокладка | |
| 110 | 2661.50.00.025 | Зажим | |
| 111 | 2661.50.00.026 | Уголок | |
| 112 | 2661.50.00.027 | Проушина | |
| 113 | 2661.50.00.028 | Крышка | |
| 116 | 2661.50.00.032 | Кронштейн | |
| 117 | 2661.50.00.033 | Табличка | |
| 118 | 2661.50.00.034 | Кулиса | |
| 120 | 2661.50.00.036 | Табличка | |
| 121 | 2661.50.00.037 | Кожух | |
| 129 | 2661.50.05.001 | Коврик | |
| 129 | 2661.50.05.001-01 | Коврик | |
| 129 | 2661.50.05.001-02 | Коврик | |
| 130 | 2661.50.05.002 | Прокладка | |
| 130 | 2661.50.05.002-01 | Прокладка | |
| 130 | 2661.50.05.002-02 | Прокладка | |
| 131 | 2661.50.05.003 | Коврик | |
| 132 | 2661.50.05.004 | Прокладка | |
| 136 | 2661.50.05.008 | Обивка | |
| 137 | 2661.50.05.009 | Обивка | |
| 137 | 2661.50.05.009-01 | Обивка | |
| 138 | 2661.50.05.011 | Обивка | |
| 138 | 2661.50.05.011-01 | Обивка | |
| 140 | 2661.50.05.013 | Обивка | |
| 141 | 2661.50.00.014 | Обивка | |
| 142 | 2661.50.05.015 | Обивка | |
| 143 | 2661.50.05.016 | Обивка | |
| 144 | 2661.50.05.017 | Обивка | |
| 146 | 2661.50.05.019 | Обивка | |
| 147 | 2661.50.05.021 | Обивка | |
| 148 | 2661.50.05.023 | Обивка | |
| 149 | 2661.50.05.024 | Обивка | |
| 150 | 2661.50.05.025 | Обивка | |
| 151 | 2661.50.05.026 | Обивка | |
| 152 | 2661.50.05.027 | Обивка | |
| 153 | 2661.50.05.028 | Обивка | |
| 154 | 2661.50.05.029 | Обивка | |
| 155 | 2661.50.05.031 | Обивка | |
| 157 | 2661.50.05.033 | Обивка | |
| 158 | 2661.50.05.034 | Обивка | |
| 159 | 2661.50.05.035 | Обивка | |
| 160 | 2661.50.05.036 | Обивка | |
| 161 | 2661.50.05.037 | Обивка | |
| 168 | 2661.50.06.055 | Панель левая | |
| 169 | 2661.50.06.056 | Панель правая | |
| 169 | 2661.50.06.056-01 | Панель правая | |
| 170 | 2661.50.06.057 | Панель передняя | |
| 171 | 2661.50.06.058 | Панель боковая | |
| 172 | 2661.50.06.059 | Крышка | |
| 172 | 2661.50.06.059-01 | Крышка | |
| 172 | 2661.50.06.059-02 | Крышка | |
| 173 | 2661.50.06.061 | Кожух моторедуктора | |
| 174 | 2661.50.06.062 | Кожух моторедуктора | |
| 174 | 2661.50.06.062-01 | Кожух моторедуктора | |
| 175 | 2661.50.06.063 | Панель | |
| 175 | 2661.50.06.063-01 | Панель | |
| 178 | 2661.50.08.901 | Стекло | |
| 179 | 2661.50.08.902 | Стекло | |
| 182 | 2661.50.08.908-Б | Стекло | |
| 183 | 2661.50.08.909-Б | Стекло | |
| 188 | 6622.15.05.005 | Крышка | |
| 190 | 6712.12.02.807 | Табличка | |
| 194 | Д565.7125-02А | Рычаг | |
| 195 | ТО-18.02.04.119 | Пружина | |
| 197 | ТО-28.15.10.007 | Ручка | |
| 199 | У10.78.10.002 | Табличка | |
| 204 | У7810.7.00.00.022 | Табличка | |
| 205 | У7810.7.02.00.401-01 | Ось | |
| 207 | У7810.7-5.01.00.253 | Кольцо | |
| 208 | У7810.7-5.02.00.331 | Втулка | |
| 209 | У7810.7-9.00.00.001-01 | Табличка | |
| 211 | У7810.7-9.01.00.021-01 | Скоба | |
| 212 | У7810.7-9.01.00.028-01 | Шайба | |
| 215 | У7810.7-9.02.00.005-02 | Кулиса | |
| 219 | УКТ-01.00.007 | Табличка | |
| 224 | М8-6gx16.88.35.0115 | Болт | |
| 225 | М8-6gx20.88.35.0115 | Болт | |
| 226 | М8-6gx40.88.35.0115 | Болт | |
| 227 | M10-6gx25.88.35.0115 | Болт | |
| 230 | М20-6gx55.88.35.0115 | Болт | |
| 232 | М6-6gx16.88.35.0115 | Болт | |
| 235 | В.М4-6gx12.46.0115 | Винт | |
| 238 | В.М5-6gx10.46.0115 | Винт | |
| 241 | В.М6-6gx30.46.0115 | Винт | |
| 245 | М6-6Н.8.35.0115 | Гайка | |
| 246 | М8-6Н.8.35.0115 | Гайка | |
| 247 | М10-6Н.8.35.0115 | Гайка | |
| 251 | 4.65Г.0115 | Шайба | |
| 252 | 6.65Г.0115 | Шайба | |
| 253 | 8.65Г.0115 | Шайба | |
| 254 | 10.65Г.0115 | Шайба | |
| 256 | 20.65Г.0115 | Шайба | |
| 257 | С.6.02.Ст3.0115 | Шайба | |
| 258 | С.8.02.Ст3.0115 | Шайба | |
| 259 | С.10.02.Ст3.0115 | Шайба | |
| 261 | С.5.02.Ст3.0115 | Шайба | |
| 262 | С.6.02.Ст3.0115 | Шайба | |
| 263 | С.8.02.Ст3.0115 | Шайба | |
| 264 | С.10.02.Ст3.0115 | Шайба | |
| 266 | 3,2x32.019 | Шплинт | |
| 267 | 4x36.019 | Шплинт | |
| 268 | 2,5x25.019 | Шплинт | |
| 270 | 6x9 | Шпонка | |
| 272 | 1-4x25 | Шуруп | |
| 274 | 6-12d11х40.45.Ц15.хр | Ось | |
| 275 | 6-12d11x60.45. Ц15.хр | Ось | |
| 276 | 6-16d11x32.45. Ц15.хр | Ось | |
| 277 | 6-8d11x32.45. Ц15.хр | Ось | |
| 285 | ОЭОВ-95/2 | Фильтр | |
| 286 | 008-B37/C-42D | Электродвигатель вентилятора 008-B37/C-42D | |
| 287 | 251688890002 | Тройник | |
| 288 | 10211431000 | Воздуховод | |
| 289 | 102114310000 | Воздуховод | |
| 290 | 102114310000 | Воздуховод | |
| 291 | 102114310000 | Воздуховод | |
| 292 | 102114310000 | Воздуховод | |
| 293 | 34003230 | Дифростер | |
| 294 | 34003280 | Дифростер | |
| 295 | Poly-90 | Шторка | |
| 296 | 50-70/9A7W2 | Зажим TORRO | |
| 297 | 150.95301 | Воздухораспределитель | |
| 300 | 102114310000 | Воздуховод | |
| 301 | C3AT-04,24V | Омыватель электрический | |
| 303 | 80-8201035 | Зеркало внутреннее | |
| 304 | A 300-4071 | Хомут | |
| 305 | 70-3912151 | Крышка аптечки | |
| 306 | 70-3912152 | Корпус аптечки | |
| 307 | 70-3912153 | Кронштейн аптечки | |
| 308 | A30.09.011 | Крючок | |
| 309 | TSP 0325092 | Фильтр | |
| 310 | 535A-5713062 | Буфер | |
| 312 | 70-6708189 | Ось | |
| 315 | A30.04.017 | Колпачок | |
| 316 | A30.04.017-01 | Колпачок | |
| 318 | КСЧ-300 | Стяжка кабельная | |
| 319 | WF-4216 | Винт самонарезной | |
| 320 | A30.04.017-02 | Колпачок | |
| 321 | 3,0x10,0 DIN 7337 | Заклепка потайная PIAS | |
| 325 | САКД-458.201.030 | Зеркало наружное | |
| 331 | 50-4607064 | Втулка |
Содержащиеся в справочниках-каталогах запасные части и детали не предлагаются к продаже, а носят исключительно информационный характер