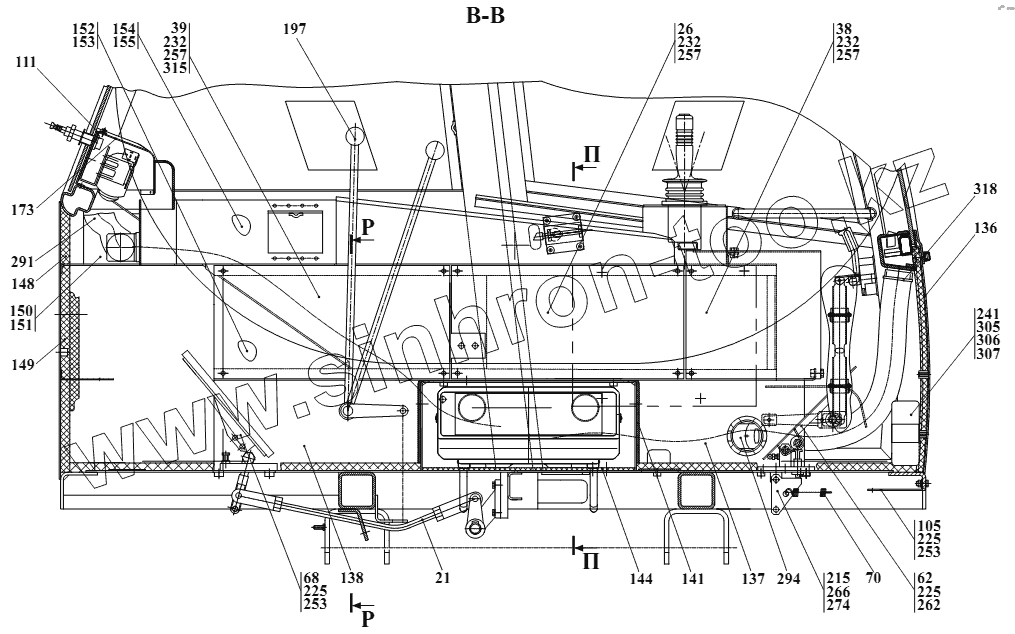
Каталог запасных частей к технике: Амкодор-2551. 2661.50.00.000 Кабина
21
26
38
39
62
68
70
105
111
136
137
137
138
138
141
144
148
149
150
151
152
153
154
155
173
197
215
225
225
225
232
232
232
241
253
253
257
257
257
262
266
274
291
294
305
306
307
315
318
| Позиция на иллюстрации | Заводской номер детали | Название детали | |
|---|---|---|---|
| 1 | 451.78.30.000 | Педаль | |
| 2 | 451.78.31.000 | Кронштейн | |
| 6 | 2661.50.00.100 | Кронштейн | |
| 7 | 2661.50.00.100-01 | Кронштейн | |
| 8 | 2661.50.00.120 | Рычаг | |
| 9 | 2661.50.00.140 | Рычаг | |
| 10 | 2661.50.00.150 | Кронштейн | |
| 11 | 2661.50.00.160 | Кронштейн | |
| 12 | 2661.50.00.170 | Кронштейн | |
| 13 | 2661.50.00.180 | Рычаг | |
| 14 | 2661.50.00.190 | Кронштейн | |
| 15 | 2661.50.00.200 | Кронштейн | |
| 16 | 2661.50.01.000 | Корпус кабины | |
| 16 | 2661.50.01.000-01 | Корпус кабины | |
| 16 | 2661.50.01.000-02 | Корпус кабины | |
| 16 | 2661.50.01.000-03 | Корпус кабины | |
| 16 | 2661.50.01.000-04 | Корпус кабины | |
| 18 | 2661.50.03.100 | Опора | |
| 19 | 2661.50.03.120 | Поручень | |
| 20 | 2661.50.03.150 | Тяга | |
| 21 | 2661.50.03.160 | Тяга | |
| 22 | 2661.50.03.170 | Вал | |
| 22 | 2661.50.03.170-01 | Вал | |
| 24 | 2661.50.03.300 | Кожух | |
| 25 | 2661.50.03.400 | Тяга | |
| 26 | 2661.50.04.100 | Панель | |
| 27 | 2661.50.03.130 | Поручень | |
| 29 | 2661.50.04.150 | Панель | |
| 30 | 2661.50.04.200 | Накладка | |
| 31 | 2661.50.04.250 | Кожух | |
| 33 | 2661.50.04.320 | Кожух | |
| 34 | 2661.50.04.350 | Накладка | |
| 35 | 2661.50.04.400 | Накладка | |
| 36 | 2661.50.04.450 | Панель | |
| 37 | 2661.50.04.500 | Крышка | |
| 38 | 2661.50.04.550 | Панель | |
| 39 | 2661.50.04.600 | Панель | |
| 42 | 2661.50.07.370 | Крыша | |
| 44 | 2661.50.08.000 | Дверь | |
| 45 | 2661.50.08.000-01 | Дверь | |
| 57 | 2661.68.00.000 | Сиденье | |
| 57 | 2661.68.00.000-01 | Сиденье | |
| 58 | 2661.68.01.000 | Сиденье | |
| 59 | 2661.68.02.000 | Сиденье | |
| 59 | 2661.68.02.000-01 | Сиденье | |
| 60 | 2661.78.42.000 | Электросистема кабины | |
| 60 | 2551.78.42.000 | Электросистема кабины | |
| 60 | 2243.78.42.000 | Электросистема кабины | |
| 60 | 2243.78.42.000-01 | Электросистема кабины | |
| 60 | 2243В.78.42.000 | Электросистема кабины | |
| 60 | 2243С.78.42.000 | Электросистема кабины | |
| 60 | 2681.38.00.000 | Электросистема кабины | |
| 62 | У10.78.73.000 | Педаль | |
| 65 | У7810.7-9.01.00.850-01 | Кронштейн | |
| 66 | У7810.7-9.02.02.450-01 | Рычаг | |
| 67 | У7810.7-9.02.02.480-01 | Рычаг | |
| 68 | У7810.7-9.02.00.350-01 | Педаль | |
| 70 | ТО-18Д.09.00.003 | Пружина | |
| 71 | 361.78.10.003 | Проушина | |
| 72 | 535.78.01.003 | Табличка | |
| 74 | 2243.00.00.005 | Табличка | |
| 75 | 2243.00.00.006 | Табличка | |
| 77 | 2243А.00.00.005 | Табличка | |
| 78 | 2243А.00.00.006 | Табличка | |
| 80 | 2243С.00.00.005 | Табличка | |
| 81 | 2243С.00.00.006 | Табличка | |
| 82 | 2551.00.00.004-Б | Табличка | |
| 83 | 2551.00.00.005-Б | Табличка | |
| 86 | 2661.00.00.002 | Табличка | |
| 87 | 2661.00.00.003 | Табличка | |
| 90 | 2661.50.00.003 | Втулка | |
| 93 | 2661.50.00.006 | Ручка | |
| 94 | 2661.50.00.007 | Табличка маркировочная | |
| 94 | 2661.50.00.007-01 | Табличка маркировочная | |
| 94 | 2661.50.00.007-02 | Табличка маркировочная | |
| 94 | 2661.50.00.007-03 | Табличка маркировочная | |
| 94 | 2661.50.00.007-04 | Табличка маркировочная | |
| 94 | 2661.50.00.007-05 | Табличка маркировочная | |
| 94 | 2661.50.00.007-06 | Табличка маркировочная | |
| 94 | 2661.50.00.007-07 | Табличка маркировочная | |
| 96 | 2661.50.00.009 | Табличка | |
| 97 | 2661.50.00.011 | Планка | |
| 98 | 2661.50.00.012 | Планка | |
| 99 | 2661.50.00.014 | Обивка | |
| 100 | 2661.50.00.015 | Крышка | |
| 101 | 2661.50.00.016 | Трубка | |
| 102 | 2661.50.00.016-01 | Трубка | |
| 103 | 2661.50.00.017 | Гайка | |
| 104 | 2661.50.00.018 | Прокладка | |
| 105 | 2661.50.00.019 | Уголок | |
| 106 | 2661.50.00.021 | Кронштейн | |
| 107 | 2661.50.00.022 | Прокладка | |
| 108 | 2661.50.00.023 | Кронштейн | |
| 109 | 2661.50.00.024 | Прокладка | |
| 110 | 2661.50.00.025 | Зажим | |
| 111 | 2661.50.00.026 | Уголок | |
| 112 | 2661.50.00.027 | Проушина | |
| 113 | 2661.50.00.028 | Крышка | |
| 116 | 2661.50.00.032 | Кронштейн | |
| 117 | 2661.50.00.033 | Табличка | |
| 118 | 2661.50.00.034 | Кулиса | |
| 120 | 2661.50.00.036 | Табличка | |
| 121 | 2661.50.00.037 | Кожух | |
| 129 | 2661.50.05.001 | Коврик | |
| 129 | 2661.50.05.001-01 | Коврик | |
| 129 | 2661.50.05.001-02 | Коврик | |
| 130 | 2661.50.05.002 | Прокладка | |
| 130 | 2661.50.05.002-01 | Прокладка | |
| 130 | 2661.50.05.002-02 | Прокладка | |
| 131 | 2661.50.05.003 | Коврик | |
| 132 | 2661.50.05.004 | Прокладка | |
| 136 | 2661.50.05.008 | Обивка | |
| 137 | 2661.50.05.009 | Обивка | |
| 137 | 2661.50.05.009-01 | Обивка | |
| 138 | 2661.50.05.011 | Обивка | |
| 138 | 2661.50.05.011-01 | Обивка | |
| 140 | 2661.50.05.013 | Обивка | |
| 141 | 2661.50.00.014 | Обивка | |
| 142 | 2661.50.05.015 | Обивка | |
| 143 | 2661.50.05.016 | Обивка | |
| 144 | 2661.50.05.017 | Обивка | |
| 146 | 2661.50.05.019 | Обивка | |
| 147 | 2661.50.05.021 | Обивка | |
| 148 | 2661.50.05.023 | Обивка | |
| 149 | 2661.50.05.024 | Обивка | |
| 150 | 2661.50.05.025 | Обивка | |
| 151 | 2661.50.05.026 | Обивка | |
| 152 | 2661.50.05.027 | Обивка | |
| 153 | 2661.50.05.028 | Обивка | |
| 154 | 2661.50.05.029 | Обивка | |
| 155 | 2661.50.05.031 | Обивка | |
| 157 | 2661.50.05.033 | Обивка | |
| 158 | 2661.50.05.034 | Обивка | |
| 159 | 2661.50.05.035 | Обивка | |
| 160 | 2661.50.05.036 | Обивка | |
| 161 | 2661.50.05.037 | Обивка | |
| 168 | 2661.50.06.055 | Панель левая | |
| 169 | 2661.50.06.056 | Панель правая | |
| 169 | 2661.50.06.056-01 | Панель правая | |
| 170 | 2661.50.06.057 | Панель передняя | |
| 171 | 2661.50.06.058 | Панель боковая | |
| 172 | 2661.50.06.059 | Крышка | |
| 172 | 2661.50.06.059-01 | Крышка | |
| 172 | 2661.50.06.059-02 | Крышка | |
| 173 | 2661.50.06.061 | Кожух моторедуктора | |
| 174 | 2661.50.06.062 | Кожух моторедуктора | |
| 174 | 2661.50.06.062-01 | Кожух моторедуктора | |
| 175 | 2661.50.06.063 | Панель | |
| 175 | 2661.50.06.063-01 | Панель | |
| 178 | 2661.50.08.901 | Стекло | |
| 179 | 2661.50.08.902 | Стекло | |
| 182 | 2661.50.08.908-Б | Стекло | |
| 183 | 2661.50.08.909-Б | Стекло | |
| 188 | 6622.15.05.005 | Крышка | |
| 190 | 6712.12.02.807 | Табличка | |
| 194 | Д565.7125-02А | Рычаг | |
| 195 | ТО-18.02.04.119 | Пружина | |
| 197 | ТО-28.15.10.007 | Ручка | |
| 199 | У10.78.10.002 | Табличка | |
| 204 | У7810.7.00.00.022 | Табличка | |
| 205 | У7810.7.02.00.401-01 | Ось | |
| 207 | У7810.7-5.01.00.253 | Кольцо | |
| 208 | У7810.7-5.02.00.331 | Втулка | |
| 209 | У7810.7-9.00.00.001-01 | Табличка | |
| 211 | У7810.7-9.01.00.021-01 | Скоба | |
| 212 | У7810.7-9.01.00.028-01 | Шайба | |
| 215 | У7810.7-9.02.00.005-02 | Кулиса | |
| 219 | УКТ-01.00.007 | Табличка | |
| 224 | М8-6gx16.88.35.0115 | Болт | |
| 225 | М8-6gx20.88.35.0115 | Болт | |
| 226 | М8-6gx40.88.35.0115 | Болт | |
| 227 | M10-6gx25.88.35.0115 | Болт | |
| 230 | М20-6gx55.88.35.0115 | Болт | |
| 232 | М6-6gx16.88.35.0115 | Болт | |
| 235 | В.М4-6gx12.46.0115 | Винт | |
| 238 | В.М5-6gx10.46.0115 | Винт | |
| 241 | В.М6-6gx30.46.0115 | Винт | |
| 245 | М6-6Н.8.35.0115 | Гайка | |
| 246 | М8-6Н.8.35.0115 | Гайка | |
| 247 | М10-6Н.8.35.0115 | Гайка | |
| 251 | 4.65Г.0115 | Шайба | |
| 252 | 6.65Г.0115 | Шайба | |
| 253 | 8.65Г.0115 | Шайба | |
| 254 | 10.65Г.0115 | Шайба | |
| 256 | 20.65Г.0115 | Шайба | |
| 257 | С.6.02.Ст3.0115 | Шайба | |
| 258 | С.8.02.Ст3.0115 | Шайба | |
| 259 | С.10.02.Ст3.0115 | Шайба | |
| 261 | С.5.02.Ст3.0115 | Шайба | |
| 262 | С.6.02.Ст3.0115 | Шайба | |
| 263 | С.8.02.Ст3.0115 | Шайба | |
| 264 | С.10.02.Ст3.0115 | Шайба | |
| 266 | 3,2x32.019 | Шплинт | |
| 267 | 4x36.019 | Шплинт | |
| 268 | 2,5x25.019 | Шплинт | |
| 270 | 6x9 | Шпонка | |
| 272 | 1-4x25 | Шуруп | |
| 274 | 6-12d11х40.45.Ц15.хр | Ось | |
| 275 | 6-12d11x60.45. Ц15.хр | Ось | |
| 276 | 6-16d11x32.45. Ц15.хр | Ось | |
| 277 | 6-8d11x32.45. Ц15.хр | Ось | |
| 285 | ОЭОВ-95/2 | Фильтр | |
| 286 | 008-B37/C-42D | Электродвигатель вентилятора 008-B37/C-42D | |
| 287 | 251688890002 | Тройник | |
| 288 | 10211431000 | Воздуховод | |
| 289 | 102114310000 | Воздуховод | |
| 290 | 102114310000 | Воздуховод | |
| 291 | 102114310000 | Воздуховод | |
| 292 | 102114310000 | Воздуховод | |
| 293 | 34003230 | Дифростер | |
| 294 | 34003280 | Дифростер | |
| 295 | Poly-90 | Шторка | |
| 296 | 50-70/9A7W2 | Зажим TORRO | |
| 297 | 150.95301 | Воздухораспределитель | |
| 300 | 102114310000 | Воздуховод | |
| 301 | C3AT-04,24V | Омыватель электрический | |
| 303 | 80-8201035 | Зеркало внутреннее | |
| 304 | A 300-4071 | Хомут | |
| 305 | 70-3912151 | Крышка аптечки | |
| 306 | 70-3912152 | Корпус аптечки | |
| 307 | 70-3912153 | Кронштейн аптечки | |
| 308 | A30.09.011 | Крючок | |
| 309 | TSP 0325092 | Фильтр | |
| 310 | 535A-5713062 | Буфер | |
| 312 | 70-6708189 | Ось | |
| 315 | A30.04.017 | Колпачок | |
| 316 | A30.04.017-01 | Колпачок | |
| 318 | КСЧ-300 | Стяжка кабельная | |
| 319 | WF-4216 | Винт самонарезной | |
| 320 | A30.04.017-02 | Колпачок | |
| 321 | 3,0x10,0 DIN 7337 | Заклепка потайная PIAS | |
| 325 | САКД-458.201.030 | Зеркало наружное | |
| 331 | 50-4607064 | Втулка |
Содержащиеся в справочниках-каталогах запасные части и детали не предлагаются к продаже, а носят исключительно информационный характер