Вернуться на главную
Поиск
Каталоги запчастей к технике
Спецтехника
Амкодор
Амкодор-211
Электросистема 211.37.00.000
Каталог запасных частей к технике: Амкодор-211. Электросистема 211.37.00.000
zoom-in
zoom-out
enlarge
shrink
circle-right
circle-left
file-text2
info
cart
Тип техники
Не выбрано
Легковые автомобили
Грузовые автомобили и прицепы
Автобусы
Сельхозтехника
Спецтехника
Двигатели
Мототехника
Марка
Не выбрано
Ammann
BOMAG
CARMIX
CASE IH
Changlin
ChengGong
Dimex
Doosan
DYNAPAC
Foton
HAMM
Hidromek
Hitachi
Hyundai
JCB
JLG
John Deere
Komatsu
LIEBHERR
LiuGong
Lonking (LongGong)
Luneng
MANITOU
Mitsuber
New Holland
PENGPU
RM-Terex
SANY
SDLG
SEM
Shantui
Shehwa HBXG
Soosan
TIGARBO
VOGELE
Volvo
WAY
WIRTGEN
XCMG
XGMA
Xiamen
YTO
Yuchai
Zoomlion
Автокран
АЗСМ
Алтайлесмаш
Амкодор
АОМЗ
Атек
АТЗ
Балканкар Рекорд
БелАЗ
Беловеж
Борекс
Брянский Арсенал
Булат
ВЭКС
ГАЗ
Геомаш
Гидромаш
Донекс
Дормаш
Дормашина
Дорэлектромаш
ДЭЗ
ЕлАЗ
ЗЗГТ
Ижнефтемаш
Канаш-электрокар
КЗКТ
ККЗ
Клевер
Клинцовский автокрановый завод
КМЗ
КМЗ 1 Мая
Ковровец
Коммаш
Кранэкс
КЭЗ
КЭМЗ
ЛЗА
МАЗ
МЗИК
МЗКМ
МЗКТ
Михневский РМЗ
МоАЗ
Мозырский МЗ
МТЗ
ОЗП
Онежец
ПАО "ТЗА"
ППС Детва
Промтрактор
ПТЗ
Раскат
СпецАгрегат
ТВЭКС
ТТМ
УВЗ
Угличмаш
УЗТМ
ХТЗ
ЧЗКМ
ЧСДМ
ЧТЗ
ЭКСКО
ЭКСМАШ
ЮрМаш
Модель
Не выбрано
2561 (2021)
352C (2019)
Амкодор-208А (2006)
Амкодор-208В (2006)
Амкодор-211 (2009)
Амкодор-211 (2011)
Амкодор-211nev (2009)
Амкодор-211Е (2014)
Амкодор-211Е (2016)
Амкодор-2243В (2012)
Амкодор-2541 (2013)
Амкодор-2541 (2021)
Амкодор-2551 (2011)
Амкодор-2551 (2020)
Амкодор-2661-01 (2011)
Амкодор-2662 (2015)
Амкодор-2904 (2020)
Амкодор-320 (2009)
Амкодор-320 (2011)
Амкодор-320СЕ (2013)
Амкодор-3225 (2018)
Амкодор-325 (ТО-18К) (2006)
Амкодор-327 (ТО-18Д) (2003)
Амкодор-332B, 332B4 (2008)
Амкодор-332С-01 (2006)
Амкодор-332С4 (2016)
Амкодор-332С4 (2018)
Амкодор-332С4, 332С4-02 (2008)
Амкодор-333 (ТО-18Б) (2004)
Амкодор-333А (ТО-18Б2) (2006)
Амкодор-333В (ТО-18Б3)
Амкодор-333В, 332С (2008)
Амкодор-342 (ТО-28) (2004)
Амкодор-342А (ТО-28А)
Амкодор-342В (ТО-18А) (2006)
Амкодор-342В, 342С4, 342Р (2008)
Амкодор-342В, 342С4, 342Р (2010)
Амкодор-342С (2006)
Амкодор-342С-03 (2008)
Амкодор-342С4 (2018)
Амкодор-351 (2006)
Амкодор-352 (2006)
Амкодор-352 (2008)
Амкодор-352 (2021)
Амкодор-352 (352C, 352Л) (2008)
Амкодор-352-10 (2010)
Амкодор-352-10 (2021)
Амкодор-352C (2006)
Амкодор-352СА (2017)
Амкодор-361 (2006)
Амкодор-37 (2012)
Амкодор-371 (2009)
Амкодор-371 (2014)
Амкодор-371А (2009)
Амкодор-451A (2006)
Амкодор-451A(2011) (2011)
Амкодор-527 (2009)
Амкодор-6223 (2007)
Амкодор-6223А (2007)
Амкодор-6223А (2016)
Амкодор-6223Е (2014)
Амкодор-6622 (2007)
Амкодор-6622А (2014)
Амкодор-6712B (2013)
Амкодор-6712А (2007)
Амкодор-702 (2006)
Амкодор-702EA (2007)
Амкодор-702EA(2012) (2012)
Амкодор-702EВ (2012)
Амкодор-702В (ТО-49-40) (2003)
Амкодор-702Е (2008)
Амкодор-702ЕМ-03 (2010)
Амкодор-732 (2015)
Амкодор-732 (2016)
Амкодор-8047А (2007)
Амкодор-91 (ДЗ-133ЭЦ) (2006)
Амкодор-9211А1 (2010)
Амкодор-9531 (ДЭ-226) (2006)
Амкодор-Е16 (2011)
Амкодор-Е25 (2017)
Амкодор-ЕР30 (2017)
Амкодор-ТО-18А (2000)
ГМП 2541.17.00.010-А (2013)
ГМП серии 120 модели G160.17.15.000 (2021)
ГМП серии У35615 модели 332.17.15.000 (2018)
ГМП серии У35615 модели 332С4.17.00.010-А 2018 (2018)
Мост ведущий неуправляемый 10Н.23.00.000 (2019)
Мост ведущий неуправляемый 10НР.24.00.000 (2019)
Мост ведущий неуправляемый 25Н (2018)
Мосты ведущие (2018)
Мосты ведущие серии 342 (2015)
Мосты серии 451 (2019)
Рабочие органы Амкодор-352 (2010)
Т400-70 (2020)
Схема
>
Не выбрано
Погрузчик с бортовым поворотом 211.00.00.000
Установка cиловая 211.10.00.000, 211.10.00.000-01
Установка cиловая 211.10.00.000, 211.10.00.000-01
Установка воздухоочистителя 211.11.00.000-Б
Топливная система 211.11.01.000
Установка системы выпуска отработавших газов 211.12.00.000
Система охлаждения дизеля 211.13.00.000
Блок радиаторов 211.13.00.100
Редуктор привода насосов 211.42.00.000-В и 211.42.00.000-В-01
Редуктор привода насосов 211.42.00.000-В и 211.42.00.000-В-01
Редуктор привода насосов 211.42.00.000-В и 211.42.00.000-В-01
Насос 211.42.00.100-А
Насос 211.42.00.300
Управление подачей топлива и останов дизеля 208В.11.08.000
Установка привода хода и колёс 211.26.00.000, 211.26.00.000-01, 211.26.00.000-02
Установка привода хода и колёс 211.26.00.000, 211.26.00.000-01, 211.26.00.000-02
Установка привода хода и колёс 211.26.00.000, 211.26.00.000-01, 211.26.00.000-02
Редуктор колеcный 211.26.01.000
Редуктор колеcный 211.26.01.000
Водило с сателлитами 211.26.01.100
Водило с сателлитами 211.26.01.300-А
Ступица с тормозом 208А.26.02.000
Колесo 208А.31.01.010
Колесо 211.31.01.010
Рама 211.28.00.000-Б
Электросистема 211.37.00.000
Электросистема 211.37.00.000
Электросистема 211.37.00.000
Электросистема кабины 211.50.18.000
Электросистема кабины 211.50.18.000
Схема гидравлическая принципиальная 211.45.00.000 Г3
Гидросистема 211.45.00.000, 211.45.00.000-01, 211.45.00.000-02
Гидросистема 211.45.00.000, 211.45.00.000-01, 211.45.00.000-02
Гидросистема 211.45.00.000, 211.45.00.000-01, 211.45.00.000-02
Гидросистема 211.45.00.000, 211.45.00.000-01, 211.45.00.000-02
Гидросистема погрузочного оборудования 211.45.05.000, 211.45.05.000-01, 211.45.05.000-02
Гидросистема погрузочного оборудования 211.45.05.000, 211.45.05.000-01, 211.45.05.000-02
Гидросистема погрузочного оборудования 211.45.05.000, 211.45.05.000-01, 211.45.05.000-02
Гидросистема погрузочного оборудования 211.45.05.000, 211.45.05.000-01, 211.45.05.000-02
Гидросистема погрузочного оборудования 211.45.05.000, 211.45.05.000-01, 211.45.05.000-02
Гидроцилиндр подъема стрелы ДЗ-133.45.04.000 С
Гидроцилиндр поворота ковша 208A.45.05.500-03
Гидросистема управления 211.45.10.000-Б
Гидросистема управления 211.45.10.000-Б
Гидросистема управления 211.45.10.000-Б
Оборудование рабочее 211.46.00.000, 211.46.00.000-01, 211.46.00.000-02
Оборудование рабочее 211.46.00.000, 211.46.00.000-01, 211.46.00.000-02
Сцепка 208A.46.02.010, 208A.46.02.010-01
Гидроцилиндр сцепки 208А-45.05.600, 208A-45.05.600-01T
Сцепка механическая 211.46.02.010
Снегоочиститель фрезерно-роторный 208.46.55.000
Снегоочиститель фрезерно-роторный 208.46.55.000
Захват рулонов 208.46.39.000
Гидроцилиндр ДЗ-133.24.03.000
Эскаваторное оборудование 208В.70.00.000
Эскаваторное оборудование 208В.70.00.000
Управление экскаваторным оборудованием 208В.70.10.000
Гидросистема 208В.70.12.000
Гидросистема 208В.70.12.000
Гидроцилиндр 208В.70.12.100, 208В.70.12.100-01
Гидроцилиндр 208В.70.12.200
Гидроцилиндр 208В.70.12.300
Установка кабины 211.50.00.000
Кабина 211.50.10.000
Кабина 211.50.10.000
Кабина 211.50.10.000
Кабина 211.50.10.000
Кабина 211.50.10.000
Кабина 211.50.10.000
Кабина 211.50.10.000
Дверь 211.50.33.000
Гидросистема кабины 211.45.20.000
Установка опрокидывающего механизма кабины 211.60.00.000
Установка отопителя 211.81.00.000
Облицовка 211.84.00.000
Облицовка 211.84.00.000
Облицовка 211.84.00.000
Капот 211.84.01.100-А1
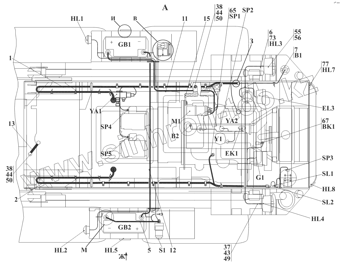
1
2
5
6
7
11
12
13
15
37
38
38
43
44
44
49
50
50
55
65
67
73
77
Позиция на иллюстрации
Заводской номер детали
Название детали
1
211.37.00.100-Б
Жгут 1
2
211.37.00.150-Г
Жгут 2
4
211.37.00.250
Сигнализатор
5
211.37.00.300
Провод 32
6
211.37.00.350
Провод 0
7
211.37.00.400
Прижим
11
208А.37.00.650
Провод 30
12
208А.37.00.700
Провод 31
13
208А.37.00.800
Провод М-2
14
208А.37.00.900
Провод М-4
15
ТО-27-2АУХЛ-1200.02.750
Провод м2
18
211.37.00.001
Прокладка
19
211.37.00.002
Кронштейн
20
211.37.00.003
Прокладка
21
ТО-18А.42.00.005-02
Тяга
23
ДЭ-224А.47.00.003
Втулка
24
У22-2.37-50.025-01
Хомут
25
У22-2.37-50.025-03
Хомут
27
У22-2.37-50.002-05
Втулка
28
М6-6gx12.88.35.0115
Болт
29
М6-6gx16.88.35.0115
Болт
30
М8-6gx35.88.35.0115
Болт
32
B.М3-6gx25.46.0115
Винт
33
B.М6-6gx16.46.0115
Винт
35
М3-6H.8.35.0115
Гайка
36
М5-6H.8.35.0115
Гайка
37
М6-6H.8.35.0115
Гайка
38
М8-6H.8.35.0115
Гайка
39
М12-6H.8.35.0115
Гайка
41
365Г0115
Шайба
42
565Г0115
Шайба
43
665Г0115
Шайба
44
865Г0115
Шайба
45
1265Г0115
Шайба
47
С.3.02.Ст3.0115
Шайба
48
С.5.02.Ст3.0115
Шайба
49
С.6.02.Ст3.0115
Шайба
50
С.8.02.Ст3.0115
Шайба
51
С.12.02.Ст3.0115
Шайба
54
А24-10
Лампа
55
А24-21-3
Лампа
58
6СТ-88А
Батарея аккумуляторная
59
БП-11-06
Блок предохранителей
61
ПР118Б-01
Предохранитель
62
1212.3737-02
Выключатель
65
ДАДМ-03
Датчик аварийного давления масла
67
ДУТЖ
Датчик
68
ДУТЖ-03
Датчик
69
711.3747-11
Реле 711.3747-11
70
8724.304/013
Фара рабочая
71
ПФ130-Б
Фонарь передний
73
TH188ТО37.458.075-2005
Устройство светосигнальное
74
РНЦ10-001
Розетка
76
3212.3731
Световозвращатель боковой
77
3202.3731
Световозвращатель задний 3202.3731
85
SEL.3.223200x4,5
Кабельная стяжка
Содержащиеся в справочниках-каталогах запасные части и детали не предлагаются к продаже, а носят исключительно информационный характер
Дополнительная информация
×
Название:
Номер:
Примечание: