Вернуться на главную
Поиск
Каталоги запчастей к технике
Спецтехника
Амкодор
352C
352С.00.00.000 Погрузчик универсальный
Каталог запасных частей к технике: Амкодор 352C. 352С.00.00.000 Погрузчик универсальный
zoom-in
zoom-out
enlarge
shrink
circle-right
circle-left
file-text2
info
cart
Тип техники
Не выбрано
Легковые автомобили
Грузовые автомобили и прицепы
Автобусы
Сельхозтехника
Спецтехника
Двигатели
Мототехника
Марка
Не выбрано
Ammann
BOMAG
CARMIX
CASE IH
Changlin
ChengGong
Dimex
Doosan
DYNAPAC
Foton
HAMM
Hidromek
Hitachi
Hyundai
JCB
JLG
John Deere
Komatsu
LIEBHERR
LiuGong
Lonking (LongGong)
Luneng
MANITOU
Mitsuber
New Holland
PENGPU
RM-Terex
SANY
SDLG
SEM
Shantui
Shehwa HBXG
Soosan
TIGARBO
VOGELE
Volvo
WAY
WIRTGEN
XCMG
XGMA
Xiamen
YTO
Yuchai
Zoomlion
Автокран
АЗСМ
Алтайлесмаш
Амкодор
АОМЗ
Атек
АТЗ
Балканкар Рекорд
БелАЗ
Беловеж
Борекс
Брянский Арсенал
Булат
ВЭКС
ГАЗ
Геомаш
Гидромаш
Донекс
Дормаш
Дормашина
Дорэлектромаш
ДЭЗ
ЕлАЗ
ЗЗГТ
Ижнефтемаш
Канаш-электрокар
КЗКТ
ККЗ
Клевер
Клинцовский автокрановый завод
КМЗ
КМЗ 1 Мая
Ковровец
Коммаш
Кранэкс
КЭЗ
КЭМЗ
ЛЗА
МАЗ
МЗИК
МЗКМ
МЗКТ
Михневский РМЗ
МоАЗ
Мозырский МЗ
МТЗ
ОЗП
Онежец
ПАО "ТЗА"
ППС Детва
Промтрактор
ПТЗ
Раскат
СпецАгрегат
ТВЭКС
ТТМ
УВЗ
Угличмаш
УЗТМ
ХТЗ
ЧЗКМ
ЧСДМ
ЧТЗ
ЭКСКО
ЭКСМАШ
ЮрМаш
Модель
Не выбрано
2561 (2021)
352C (2019)
Амкодор-208А (2006)
Амкодор-208В (2006)
Амкодор-211 (2009)
Амкодор-211 (2011)
Амкодор-211nev (2009)
Амкодор-211Е (2014)
Амкодор-211Е (2016)
Амкодор-2243В (2012)
Амкодор-2541 (2013)
Амкодор-2541 (2021)
Амкодор-2551 (2011)
Амкодор-2551 (2020)
Амкодор-2661-01 (2011)
Амкодор-2662 (2015)
Амкодор-2904 (2020)
Амкодор-320 (2009)
Амкодор-320 (2011)
Амкодор-320СЕ (2013)
Амкодор-3225 (2018)
Амкодор-325 (ТО-18К) (2006)
Амкодор-327 (ТО-18Д) (2003)
Амкодор-332B, 332B4 (2008)
Амкодор-332С-01 (2006)
Амкодор-332С4 (2016)
Амкодор-332С4 (2018)
Амкодор-332С4, 332С4-02 (2008)
Амкодор-333 (ТО-18Б) (2004)
Амкодор-333А (ТО-18Б2) (2006)
Амкодор-333В (ТО-18Б3)
Амкодор-333В, 332С (2008)
Амкодор-342 (ТО-28) (2004)
Амкодор-342А (ТО-28А)
Амкодор-342В (ТО-18А) (2006)
Амкодор-342В, 342С4, 342Р (2008)
Амкодор-342В, 342С4, 342Р (2010)
Амкодор-342С (2006)
Амкодор-342С-03 (2008)
Амкодор-342С4 (2018)
Амкодор-351 (2006)
Амкодор-352 (2006)
Амкодор-352 (2008)
Амкодор-352 (2021)
Амкодор-352 (352C, 352Л) (2008)
Амкодор-352-10 (2010)
Амкодор-352-10 (2021)
Амкодор-352C (2006)
Амкодор-352СА (2017)
Амкодор-361 (2006)
Амкодор-37 (2012)
Амкодор-371 (2009)
Амкодор-371 (2014)
Амкодор-371А (2009)
Амкодор-451A (2006)
Амкодор-451A(2011) (2011)
Амкодор-527 (2009)
Амкодор-6223 (2007)
Амкодор-6223А (2007)
Амкодор-6223А (2016)
Амкодор-6223Е (2014)
Амкодор-6622 (2007)
Амкодор-6622А (2014)
Амкодор-6712B (2013)
Амкодор-6712А (2007)
Амкодор-702 (2006)
Амкодор-702EA (2007)
Амкодор-702EA(2012) (2012)
Амкодор-702EВ (2012)
Амкодор-702В (ТО-49-40) (2003)
Амкодор-702Е (2008)
Амкодор-702ЕМ-03 (2010)
Амкодор-732 (2015)
Амкодор-732 (2016)
Амкодор-8047А (2007)
Амкодор-91 (ДЗ-133ЭЦ) (2006)
Амкодор-9211А1 (2010)
Амкодор-9531 (ДЭ-226) (2006)
Амкодор-Е16 (2011)
Амкодор-Е25 (2017)
Амкодор-ЕР30 (2017)
Амкодор-ТО-18А (2000)
ГМП 2541.17.00.010-А (2013)
ГМП серии 120 модели G160.17.15.000 (2021)
ГМП серии У35615 модели 332.17.15.000 (2018)
ГМП серии У35615 модели 332С4.17.00.010-А 2018 (2018)
Мост ведущий неуправляемый 10Н.23.00.000 (2019)
Мост ведущий неуправляемый 10НР.24.00.000 (2019)
Мост ведущий неуправляемый 25Н (2018)
Мосты ведущие (2018)
Мосты ведущие серии 342 (2015)
Мосты серии 451 (2019)
Рабочие органы Амкодор-352 (2010)
Т400-70 (2020)
Схема
>
Не выбрано
352С.00.00.000 Погрузчик универсальный
352С.00.00.000 Погрузчик универсальный
352С.00.00.000 Погрузчик универсальный
352С.00.00.000 Погрузчик универсальный
352С.00.00.000 Погрузчик универсальный
342.17.00.000 Установка ГМП
332С4.03.00.000 Установка ГМП
352.35.05.000 Гидросистема тормозов
352.35.05.000 Гидросистема тормозов
352.35.05.000 Гидросистема тормозов
УГА2-01.01.000 Блок разгрузочный
УГА2-05.01.000 Кран тормозной
352.34.07.000 Гидросистема рулевого управления
352.34.07.000 Гидросистема рулевого управления
352.34.07.000 Гидросистема рулевого управления
352.34.07.000 Гидросистема рулевого управления
352.34.07.000 Гидросистема рулевого управления
342В.34.07.200-Б Гидроцилиндр
Ц080040.00.000-В Гидроцилиндр
КГЦ 632-02.80-56-400 Гидроцилиндр
352.34.07.070 Клапан приоритетный в сборе со штуцерами
ТО-28А.78.01.000 Клапан разгрузочный
352С.01.00.000 Рама
352С.01.00.000 Рама
350.28.03.000 Установка противовеса
350.28.05.000 Установка противовеса
350.02.00.000 Установка силовая
350.02.00.000 Установка силовая
350.02.00.000 Установка силовая
350.02.00.000 Установка силовая
350.02.01.000-Б Установка радиаторов
350.02.01.000-Б Установка радиаторов
350.02.04.000 Редуктор
350.02.04.000 Редуктор
350.02.05.000 Система заправки РОМ
ТО-28А.02.03.000 Воздухоочиститель
332В.10.11.000 Топливопровод
332В.10.12.000 Топливопровод
ТО-28А.02.00.900-В Установка демпфера
ТО-28А.02.16.000 Воздухоочиститель
ТО-28А.02.19.000 Бак топливный
350.02.00.000 Установка силовая
350.02.00.000 Установка силовая
350.02.01.000Т Установка радиаторов
350.02.01.000Т Установка радиаторов
352С.10.00.000 Установка силовая
352С.10.00.000 Установка силовая
352С.10.00.000 Установка силовая
352С.10.15.005 Установка подогревателя предпускового
352С.10.15.005 Установка подогревателя предпускового
352С.10.15.005 Установка подогревателя предпускового
352С.10.15.200 Электросистема подогревателя предпускового дизельного 14ТС-10 АКР
352С.10.15.200 Электросистема подогревателя предпускового дизельного 14ТС-10 АКР
352С.10.15.200 Электросистема подогревателя предпускового дизельного 14ТС-10 АКР
350.04.00.000 Установка карданных валов
ТО-28А.04.00.100 Вал
352С.30.00.000 Установка мостов и колес
350.05.01.000 Рамка балансирная
350.05.01.000Т Рамка балансирная
350С.31.01.000 Колесо
352Л.05.05.000 Система смазки
352С.29.00.000 Установка мостов и колес
352С.31.01.000 Колесо
350.07.00.000 Гидросистема ГМП
350.07.00.000 Гидросистема ГМП
350.07.00.000 Гидросистема ГМП
ТО-28А.07.05.000 Фильтр магистральный
ТО-28А.07.07.000 Фильтр магистральный
350.17.14.005 Установка системы охлаждения ГМП
350.17.14.005 Установка системы охлаждения ГМП
350.09.00.000-В Управление
350.09.00.000-В Управление
350.09.00.000-В Управление
350.09.02.000 Тяга
350.09.03.000 Тяга
350.09.03.000-Б Тяга
350.09.05.000 Тяга
350.09.06.000 Тяга
350.09.06.000-Б Тяга
350.09.07.000 Тяга
ТО-18Б.79.02.000 Тяга
ТО-18Б.79.03.000 Тяга
ТО-18Б.79.11.000 Тяга
ТО-18Б.79.05.000 Тяга
ТО-18Б.79.07.000 Тяга
ТО-18Б.79.12.000 Тяга
ТО-18Б.79.09.000 Тяга
ТО-18Б.79.10.000 Тяга
ТО-18Б.79.13.000 Тяга
ТО-18Б.79.14.000 Тяга
ТО-18Б.79.15.000 Тяга
ТО-18Д.09.02.000 Механизм управления
352.85.00.000 Облицовка
352.85.00.000 Облицовка
352.85.00.000 Облицовка
352.85.00.000 Облицовка
352.85.00.000 Облицовка
352.85.00.000 Облицовка
332С4.13.23.000-Б Крыло
332С4.13.25.000 Лестница
352.85.25.000 Лестница
332С4.13.32.000 Корпус
332С4.13.31.000 Корпус
332С4.84.21.000 Лестница
350.13.29.000 Лестница
352.85.13.000 Лестница
ТО-18Б.83.01.000 Лестница
ТО-18Б.83.23.000 Крыло
350.13.10.000 Крыло
350.13.19.000 Крыло
ТО-18Б.83.24.000 Крыло
350.13.13.000 Лестница
ТО-18Д.13.15.000 Крыло
350.13.14.000 Крыло
ТО-18Д.13.16.000 Крыло
350.13.15.000 Крыло
ТО-28А.13.18.000 Крыло
350.13.09.000 Крыло
350.13.00.000Т-Б Облицовка
350.13.00.000Т-Б Облицовка
350.13.00.000Т-Б Облицовка
350С4.14.00.000 Оборудование погрузочное
342С4.14.03.000 Тяга
350С4.14.06.000 Стрела
350С4.14.04.000 Коромысло
342С4.37.00.000 Электросистема
342С4.37.00.000 Электросистема
342С4.37.00.000 Электросистема
211.37.00.250-Б Сигнализатор
342В.11.00.000Т Электросистема
342В.11.00.000Т Электросистема
342В.11.00.000Т Электросистема
352.13.00.000Т-Б Система охлаждения гидробака
352С.46.00.000-Б Гидросистема рабочего оборудования
352С.46.00.000-Б Гидросистема рабочего оборудования
352С.46.00.000-Б Гидросистема рабочего оборудования
350С.46.13.000 Гидроцилиндр стрелы
350С.46.14.000 Гидроцилиндр ковша
352.46.15.000 Гидробак
352С.46.10.000 Подключение насосов
352С.46.10.000 Подключение насосов
352С.46.11.000 Управление гидрораспределителем
352С.46.11.000 Управление гидрораспределителем
352.46.09.040 Блок управления
ТО-28А.76.09.015 Блок управления
ТО-28А.76.09.030 Блок управления
ТО-28А.76.09.040 Установка пневмоаккумулятора с блоком гидроклапанов
ТО-28А.76.09.050 Установка блока питания
ТО-28А.76.09.070 Установка блока питания
КГЦ634.140-80-800 Гидроцилиндр
КГЦ635.180-80-S Гидроцилиндр
352С.18.00.000 Пневмосистема
342С.45.40.000 Адаптер
ТО-28.50.04.000 Гидросистема адаптера
208А.45.05.600 Гидроцилиндр
КГЦ 731.63-36/36-115 Гидроцилиндр
СО1.81.00.000 Система отопления
СО1.81.00.000 Система отопления
352С.10.15.005 Установка подогревателя предпускового
352С.10.15.005 Установка подогревателя предпускового
352С.10.15.005 Установка подогревателя предпускового
352С.10.15.200 Электросистема подогревателя предпускового дизельного 14ТС-10 АКР
352С.10.15.200 Электросистема подогревателя предпускового дизельного 14ТС-10 АКР
352С.10.15.200 Электросистема подогревателя предпускового дизельного 14ТС-10 АКР
СО1.81.02.000 Доработка кабины
СО1.81.02.000 Доработка кабины
СО1.81.38.000 Электросистема
352С.21.00.000 Ковш
352С.45.06.000 Ковш
СС1.85.00.010 Система централизованной смазки
СС1.85.37.000 Электросистема централизованной смазки BEKA-MAX
СС1.85.39.000 Электросистема централизованной смазки LINCOLN
352С.50.00.000 Установка кабины
352С.50.00.000 Установка кабины
352С.50.00.000 Установка кабины
352С.50.00.000 Установка кабины
352С.50.00.000 Установка кабины
352С.50.00.000 Установка кабины
352С.50.00.000 Установка кабины
352С.50.00.000 Установка кабины
352.81.01.000Т Установка компрессора
2661.81.01.000 Установка компрессора
ТО-28А.91.10.000-Б Установка компрессора
352С.50.37.000 Подключение компрессора
ТО-18Б.85.01.000 Стойка
ТО-18Б.85.02.000 Стойка
ТО-18Б.85.04.000 Стойка
ТО-18Б.85.05.000 Стойка
ТО-28.50.00.000-Б Адаптер
ТО-28.50.04.000 Гидросистема адаптера
208А.45.05.600 Гидроцилиндр
КГЦ 731.63-36/36-115 Гидроцилиндр
ТО-28А.20.00.000 Установка трубопроводов отопителя
ТО-28А.20.00.000 Установка трубопроводов отопителя
ТО-28А.20.00.000 Установка трубопроводов отопителя
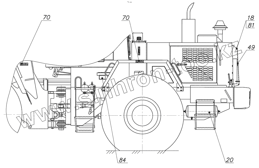
18
20
49
70
70
81
84
Позиция на иллюстрации
Заводской номер детали
Название детали
1
342.17.00.000-11
Установка ГМП
1
342.17.00.000-13
Установка ГМП
1
342.17.00.000-13Т
Установка ГМП
2
332С4.03.00.000-29
Установка ГМП
2
332С4.03.00.000-32
Установка ГМП
2
332С4.03.00.000-29Т
Установка ГМП
3
352.35.05.000
Гидросистема тормозов
3
352.35.05.000Т
Гидросистема тормозов
4
352.34.07.000
Гидросистема рулевого управления
4
352.34.07.000Т
Гидросистема рулевого управления
6
352С.01.00.000
Рама
6
352С.01.00.000Т
Рама
7
350.02.00.000Т
Установка силовая
7
352С.10.00.000
Установка силовая
7
350.02.00.000
Установка силовая
8
350.04.00.000-01
Установка карданных валов
9
352С.30.00.000
Установка мостов и колес
9
352С.29.00.000
Установка мостов и колес
9
352С.30.00.000-01
Установка мостов и колес
10
350.07.00.000
Гидросистема ГМП
11
350.07.00.000-01
Гидросистема ГМП
11
350.17.14.005Т
Установка системы охлаждения ГМП
12
350.09.00.000-05-В
Управление
13
350.13.00.000-01Т-Б
Облицовка
13
352.85.00.000-04
Облицовка
13
352.85.00.000-05
Облицовка
15
350С4.14.00.000
Оборудование погрузочное
15
350С4.14.00.000Т
Оборудование погрузочное
16
342С4.37.00.000
Электросистема
16
342В.11.00.000Т
Электросистема
17
352.13.00.000Т-Б
Система охлаждения гидробака
18
352С.00.00.100-Б
Держатель
19
352С.46.00.000-Б
Гидросистема рабочего оборудования
19
352С.46.00.000Т-Б
Гидросистема рабочего оборудования
20
352С.18.00.000
Пневмосистема
21
342С.45.40.000
Адаптер
23
СО1.81.00.000
Система отопления
24
СО1.81.00.000-01
Система отопления
25
СО1.81.00.000-02
Система отопления
26
352.85.00.000-06
Облицовка
26
352.85.00.000-07
Облицовка
28
352С.21.00.000-01
Ковш
28
352С.45.06.000
Ковш
29
СС1.85.00.010
Система централизованной cмазки
29
СС1.85.00.010Т
Система централизованной смазки
30
СС1.85.00.010-02
Система централизованной смазки
30
СС1.85.00.010-02Т
Система централизованной смазки
31
352С.50.00.000-02
Установка кабины
31
352С.50.00.000
Установка кабины
32
ТО-18Д.19.00.000
Башмак
33
352С.50.00.000-22
Установка кабины
33
352С.50.00.000-10Т
Установка кабины
33
352С.50.00.000-26
Установка кабины
34
ТО-28.50.00.000-Б
Адаптер
34
ТО-28.50.00.000Т-Б
Адаптер
35
ТО-28А.20.00.000
Установка трубопроводов отопителя
36
352С.50.00.000-01
Установка кабины
36
352С.50.00.000-03
Установка кабины
37
352С.50.00.000-27
Установка кабины
37
352С.50.00.000-23
Установка кабины
38
332В.00.00.007
Знак
39
320.00.00.005
Знак Место крепления
40
352С.00.00.001-Л
Табличка маркировочная
40
352С.00.00.004-Ж
Табличка маркировочная
41
352С.00.00.001-01-Л
Табличка маркировочная
41
352С.00.00.004-01-Ж
Табличка маркировочная
45
352С.00.00.002
Табличка индекс
46
352С.00.00.005-В
Табличка «Схема смазки»
46
352С.00.00.006-Г
Табличка
47
352С.00.00.005-01-В
Табличка «Схема смазки»
47
352С.00.00.006-01-Г
Табличка «Схема смазки»
48
352С.00.00.006-02-Г
Табличка
48
352С.00.00.005-02-В
Табличка «Схема смазки»
49
352С.00.00.007
Сетка москитная
51
ТО-18Б.2.00.00.006
Табличка Давление в шинах 0,35МРа
52
ТО-18Б.81.00.003
Табличка
53
ТО-18Д.00.00.004
Чехол
59
ТО-28А.00.00.011
Знак ОАО Амкодор
60
ТО-28А.00.00.012
Табличка Логотип ОАО АМКОДОР
60
352.00.00.003
Табличка Логотип ОАО АМКО- ДОР
63
ТО-28А.00.00.015
Знак Центр тяжести
64
ТО-28А.00.00.017
Табличка Место подъема
67
ТО-28А.00.00.019
Табличка "Давление в шинах 0,27 МПа"
69
ТО-28А.00.00.022
Знак Место установки домкрата
70
ТО-49.00.00.003
Табличка
72
УКТ-01.00.014
Знак
74
УКТ-01.00.003
Знак Опасность пореза
75
УКТ-01.00.004
Знак Опасность раздавливания
76
УКТ-01.00.005
Знак Опасность защемления
77
УКТ-02.00.001
Знак Заправочная емкость
80
7x16,5
Пломба свинцовая
81
3,2x20.019
Шплинт
82
pias 3,0x16,0
Заклепка потайная
83
51Р
Светоотражатель красный
84
50Р
Светоотражатель оранжевый
88
0,6-О-С
Проволока
89
1,2-С-I
Проволока
Содержащиеся в справочниках-каталогах запасные части и детали не предлагаются к продаже, а носят исключительно информационный характер
Дополнительная информация
×
Название:
Номер:
Примечание: