Каталог запасных частей к технике: ЮМЗ-6КЛ, (6КМ). Привод муфты сцепления
1
2
3
4
5
6
7
7
8
9
10
11
12
13
14
15
16
17
18
19
20
21
22
23
24
25
25
25
26
27
27
28
28
29
29
30
30
30
31
31
32
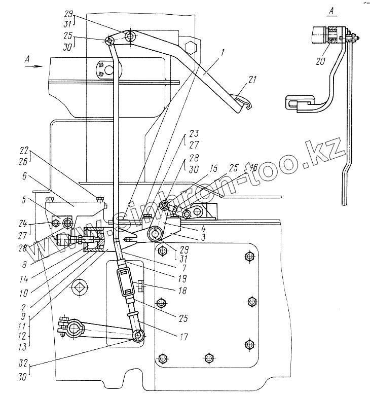
| Позиция на иллюстрации | Заводской номер детали | Название детали | |
|---|---|---|---|
| 45Т-1602190-В-01 | 45Т-1602190-В-01 | Тяга | |
| 45-1602190-Г-01 | 45-1602190-Г-01 | Тяга | |
| 45Т-1602210-01 | 45Т-1602210-01 | Тяга | |
| 45-1602090 | 45-1602090 | Сервоусилитель | |
| 45Т-1602010-В-03 | 45Т-1602010-В-03 | Привод муфты сцепления | |
| 45Т-1602010-В-01 | 45Т-1602010-В-01 | Привод муфты сцепления | |
| 45Т-1602200-01 | 45Т-1602200-01 | Кронштейн | |
| 36-3503036-А | 36-3503036-А | Вилка тяги регулировочная | |
| 1 | 45Т-1602120-В-01 | Педаль | |
| 2 | 45-1602140 | Стакан сервоусилителя | |
| 3 | 45Т-1602170-А-01 | Кронштейн | |
| 4 | 45Т-1602180-01 | Рычаг | |
| 5 | 45Т-1602220-01 | Кронштейн | |
| 6 | 45Т-1602250-01 | Кронштейн | |
| 7 | 45-1602290-1 | Тяга | |
| 7 | 45Т-1602290-В-01 | Тяга | |
| 8 | 45-1602023-Б | Винт сервоусилителя | |
| 9 | 45-1602092 | Шайба | |
| 10 | 45-1602093-А | Упор | |
| 11 | 45-1602094 | Пружина малая | |
| 12 | 45-1602095 | Пружина большая | |
| 13 | 45-1602096 | Пружина | |
| 14 | 45-1602097 | Кольцо пружинное | |
| 15 | 45Т-1602211 | Тяга | |
| 16 | 45Т-1602212 | Наконечник | |
| 17 | 45-1602430 | Вилка тяги | |
| 18 | 45Т-4616052 | Муфта | |
| 19 | 45-3503131 | Гайка | |
| 20 | 45-6800054 | Втулка | |
| 21 | А13.33.002-02 | Чехол | |
| 22 | М8х25.7796 | Болт | |
| 23 | М10х30.7796 | Болт | |
| 24 | М10.5915 | Гайка | |
| 25 | М12х1,25.5915 | Гайка | |
| 26 | 8.65Г | Шайба | |
| 27 | 10.65Г | Шайба | |
| 28 | 12.02 | Шайба | |
| 29 | 20.02 | Шайба | |
| 30 | 3,2х20 | Шплинт | |
| 31 | 4х40 | Шплинт | |
| 32 | 6-12В12х32 | Ось |
Содержащиеся в справочниках-каталогах запасные части и детали не предлагаются к продаже, а носят исключительно информационный характер