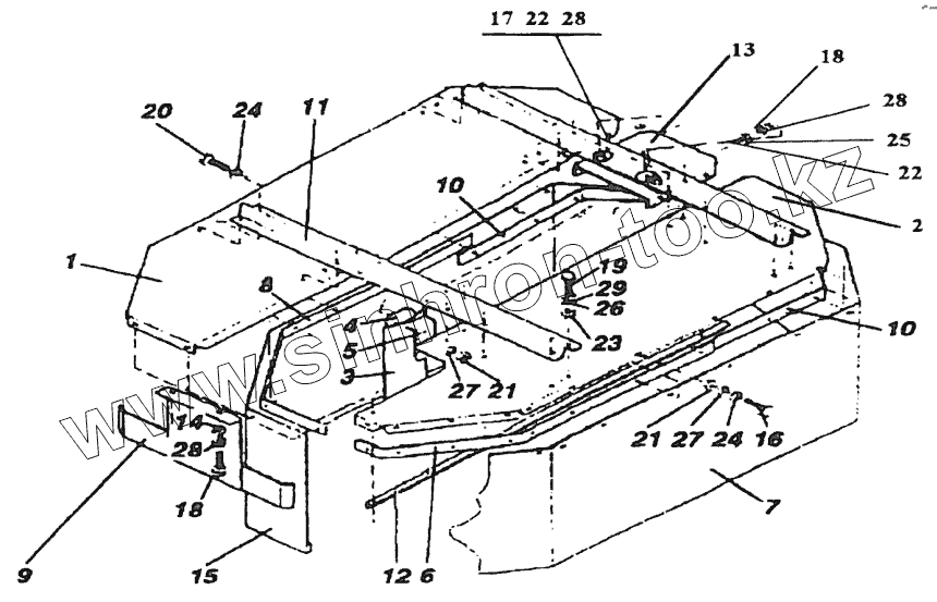
Каталог запасных частей к технике: Wirax Z069. Кожух 1
1
2
3
4
5
6
7
8
9
10
10
11
12
13
14
15
16
17
18
18
19
20
21
21
22
22
23
24
24
25
26
27
27
28
28
28
29
| Позиция на иллюстрации | Заводской номер детали | Название детали | |
|---|---|---|---|
| Кожух | Кожух | Кожух, комплект | |
| 1 | 8245-036-030-216 | Передний кожух | |
| 2 | 8245-036-030-229 | Задний кожух | |
| 3 | 8245-036-030-040 | Стойка | |
| 4 | 8245-036-030-053 | Дистанционная шайба | |
| 5 | 8245-036-030-066 | Шайба | |
| 6 | 8245-036-030-068 | Задняя левая дуга | |
| 7 | 8245-036-030-196 | Задний фартук | |
| 8 | 8245-036-030-285 | Передняя левая дуга | |
| 9 | 8245-036-030-101 | Кожух, комплект. | |
| 10 | 8245-036-030-272 | Правая дуга | |
| 11 | 8245-036-030-244 | Рейка | |
| 12 | 8245-036-030-257 | Угольник | |
| 13 | 8245-036-030-053 | Средний кожух | |
| 14 | 8245-036-030-170 | Круглая шайба | |
| 15 | 8245-036-030-183 | Передний фартук | |
| 16 | PN-85/M-82105 | Винт | |
| 17 | PN-85/M-82105 | Винт | |
| 18 | PN-85/M-82105 | Винт | |
| 19 | PN-85/M-82105 | Винт | |
| 20 | PN-85/M-82105 | Винт | |
| 21 | PN-86/M-82144 | Гайка | |
| 22 | PN-86/M-82144 | Гайка | |
| 23 | PN-86/M-82144 | Гайка | |
| 24 | PN-59/M-82030 | Круглая шайба | |
| 25 | PN-59/M-82030 | Круглая шайба | |
| 26 | PN-59/M-82030 | Круглая шайба | |
| 27 | PN-77/M-82008 | Пружинная шайба | |
| 28 | PN-77/M-82008 | Пружинная шайба | |
| 29 | PN-77/M-82008 | Пружинная шайба |
Содержащиеся в справочниках-каталогах запасные части и детали не предлагаются к продаже, а носят исключительно информационный характер