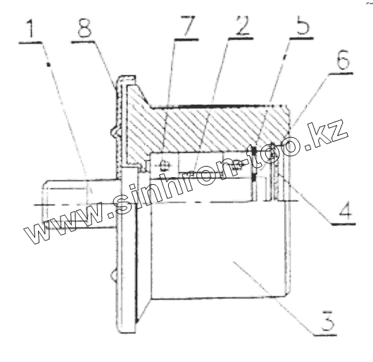
Каталог запасных частей к технике: Wirax Копатель картофеля. Поворотный ролик ZK2-2
1
2
3
4
5
6
7
8
| Позиция на иллюстрации | Заводской номер детали | Название детали | |
|---|---|---|---|
| 1 | ZK2-2/1 | Ось | |
| 2 | ZK2-2/5 | Дистанционная трубка | |
| 3 | ZK2-2/6а | Корпус ролика | |
| 4 | ZK2-2/6 | Заглушка | |
| 5 | PN78/М-82005 | Тугое кольцо | |
| 6 | PN86/М-82144 | Гайка | |
| 7 | PN87/М-82402 | Подшипник | |
| 8 | PN77/М-82005 | Шайба |
Содержащиеся в справочниках-каталогах запасные части и детали не предлагаются к продаже, а носят исключительно информационный характер