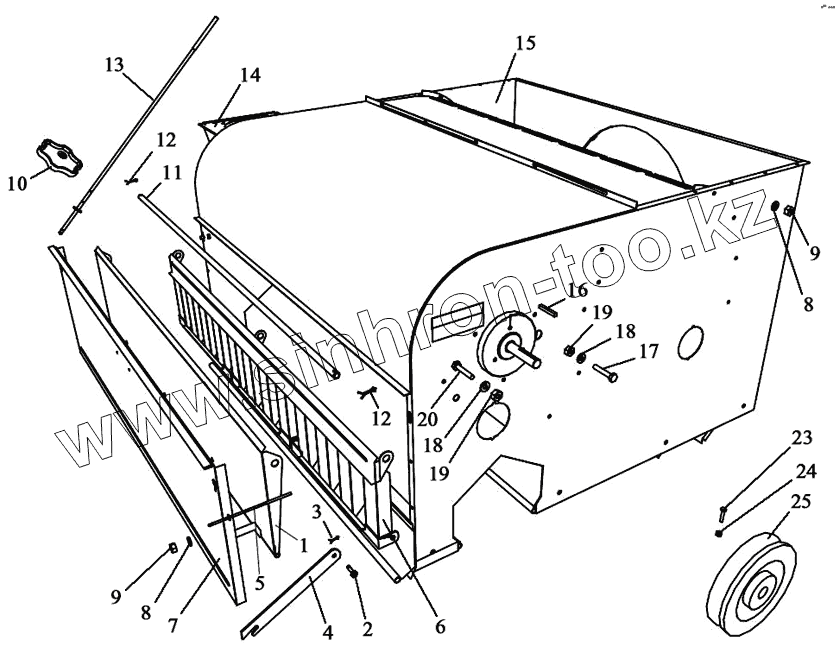
Каталог запасных частей к технике: Воронежсельмаш ЗВС-20А. Камера приемная
1
2
3
4
5
6
7
8
8
9
9
10
11
12
12
13
14
15
16
17
18
18
19
19
20
23
24
25
| Позиция на иллюстрации | Заводской номер детали | Название детали | |
|---|---|---|---|
| 1 | ЗВТ 81.100 | Перегородка | |
| 2 | ОСД 6193 | Ось | |
| 3 | Шплинт 2,5х20 | Шплинт 2,5х20 | |
| 4 | ОВИ 03.507-01 | Штанга | |
| 5 | ОВИ 03.614-01 | Крючок | |
| 6 | ЗВТ 81.130 | Делитель | |
| 7 | ЗВТ 81.444 | Стенка | |
| 8 | Шайба 6.02 | Шайба 6.02 | |
| 9 | Гайка М6 | Гайка М6 | |
| 10 | ОВИ 03.003 | Маховик | |
| 11 | ЗВТ 81.607 | Ось | |
| 12 | Шплинт 3,2х20 | Шплинт 3,2х20 | |
| 13 | ЗВТ 81.190 | Тяга | |
| 14 | ЗВТ 81.050 | Устройство питающее | |
| 15 | ЗВТ 81.020 | Корпус | |
| 16 | Шпонка 2-8х7х56 | Шпонка 2-8х7х56 | |
| 17 | Винт ВМ8х16 | Винт ВМ8х16 | |
| 18 | Шайба 8.65Г | Шайба 8.65Г | |
| 19 | Гайка М8 | Гайка М8 | |
| 20 | Болт М8х16 | Болт М8х16 | |
| 23 | ОВБ 6335 | Винт | |
| 24 | Гайка М10 | Гайка М10 | |
| 25 | Н 209.006 А | Шкив |
Содержащиеся в справочниках-каталогах запасные части и детали не предлагаются к продаже, а носят исключительно информационный характер