Каталог запасных частей к технике: ВгТЗ ДТ-75В, ДТ-75БВ, ДТ75Н. Топливная система дизеля СМД-18Н
1
2
3
4
5
6
7
8
9
10
11
12
13
14
15
16
17
18
19
20
21
22
23
24
25
26
27
28
29
29
30
30
31
31
32
33
34
35
36
36
37
39
39
40
41
42
43
44
44
45
45
45
46
47
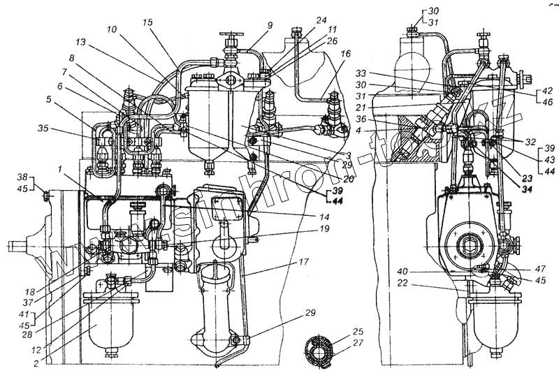
| Позиция на иллюстрации | Заводской номер детали | Название детали | |
|---|---|---|---|
| 1 | В12.80.16.001 | Насос топливный ЛСТН 49010 | |
| 2 | А23.30000.01 | Топливный фильтр грубой очистки ФГ-25 ТУ 23.1.215-76 | |
| 3 | Э09-161-000.1 | Многоступенчатый топливный фильтр 2СТФ-3 | |
| 4 | 111.1112010.02 | Форсунка | |
| 5 | 14Н-15С3-4 | Топливопровод к первому цилиндру | |
| 6 | 14Н-15С4-5 | Топливопровод ко второму цилиндру | |
| 7 | 14Н-15С5-4 | Топливопровод к третьему цилиндру | |
| 8 | 14Н-15С6-4 | Топливопровод к четвертому цилиндру | |
| 9 | 14-15С7-1 | Трубка слива | |
| 10 | 20-15С8 | Топливопровод слива | |
| 11 | 14Н-15С10-1 | Топливопровод слива | |
| 12 | 22-15С26 | Трубка от фильтра грубой очистки | |
| 13 | 14БН-15С14 | Трубка от фильтра к насосу | |
| 14 | 14-15С15-Б | Топливопровод перепуска | |
| 15 | 14БН-15С16-1 | Трубка от помпы к фильтру | |
| 16 | 17КН-15С17 | Топливопровод от форсунок к коллектору | |
| 17 | 14-1513-6 | Трубка топливоотводящая | |
| 18 | СМД7-1539-А | Прокладка | |
| 19 | СМД7-1536 | Болт поворотного угольника | |
| 20 | 141540 | Планка зажима | |
| 21 | 14Н-1544 | Кронштейн | |
| 22 | 14-1547-1 | Пластина | |
| 23 | 14-1567 | Прокладка | |
| 24 | 14-1570 | Болт зажимной | |
| 25 | 14-1571 | Прокладка | |
| 26 | 14-1572 | Прокладка | |
| 27 | 14-1573 | Хомут | |
| 28 | 14-1574-1 | Кронштейн | |
| 29 | 20-1504 | Хомут | |
| 30 | СМД7-1590-А | Болт зажимной | |
| 31 | СМД7-1591-А | Прокладка | |
| 32 | 14-1594-А | Кронштейн | |
| 33 | 14-1595 | Болт зажимной | |
| 34 | 14-1597 | Прокладка | |
| 35 | 14-1598 | Планка зажима | |
| 36 | 60-15123.00 | Кольцо уплотнительное | |
| 36 | М10-6gх85.56.016 | Болт ГОСТ 7795-70 | |
| 37 | 54.15.434 | Прокладка | |
| 39 | М8-6gх25.56.016 | Болт ГОСТ 7796-70 | |
| 40 | М10-6gх25.56.016 | Болт ГОСТ 7796-70 | |
| 41 | М10-6gх30.56.016 | Болт ГОСТ 7796-70 | |
| 42 | М14-6gх40.56.016 | Болт ГОСТ 7796-70 | |
| 43 | М8-6Н.6.016 | Гайка ГОСТ 2524-70 | |
| 44 | 8.65Г.05 | Шайба ГОСТ 6402-70 | |
| 45 | 10.65Г.05 | Шайба ГОСТ 6402-70 | |
| 46 | 14.65Г.05 | Шайба ГОСТ 6402-70 | |
| 47 | 10х1,5-04.05 | Шайба ГОСТ 10450-78 |
Содержащиеся в справочниках-каталогах запасные части и детали не предлагаются к продаже, а носят исключительно информационный характер