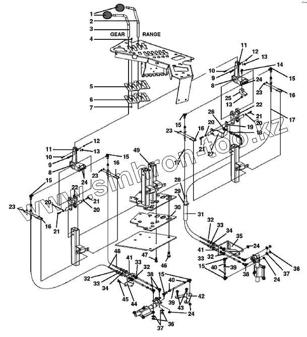
Каталог запасных частей к технике: Versatile серии HHT. 8OPC03b Панель рычажного механизма переключения
1
2
3
4
5
6
7
8
8
9
9
10
10
11
11
12
12
13
13
13
14
15
15
15
15
15
15
16
16
16
16
17
17
18
19
20
20
20
20
21
21
21
21
22
22
23
23
23
23
24
24
24
24
24
25
25
25
25
25
26
27
27
27
28
29
30
31
32
32
32
32
33
33
33
33
34
34
36
36
37
37
38
38
39
39
40
40
41
41
42
43
44
45
46
47
48
49
| Позиция на иллюстрации | Заводской номер детали | Название детали | |
|---|---|---|---|
| 1 | 9706938 | Рычаг переключения (красный) | |
| 2 | 86033064 | Рычаг HHP L4WD | |
| 3 | 86033063 | Рычаг переключения передач HHP L4WD | |
| 4 | V84360 | Винт №10x3.8 | |
| 5 | 86018620 | Накладка пластины переключателя передач | |
| 6 | 86018627 | Накладка пластины переключателя передач | |
| 7 | 9804276 | Гайка M6 Cl-8 Pl | |
| 8 | 86017944 | Узел | |
| 9 | 9671714 | Болт шестигранный FLG M 8x25 8.8PL | |
| 10 | 86025725 | Болт M5х40мм | |
| 11 | 86017936 | Верхняя вилка | |
| 12 | 86511996 | Контргайка М5 | |
| 13 | 9804277 | Гайка M8 Cl-8 Pl | |
| 14 | 120061 | Болт M8x60мм Cl-8.8 Pl | |
| 15 | 86020205 | Шаровый наконечник 5/16 | |
| 16 | 86019053 | U-образный болт 0.25X25.40X14.22X16.0 | |
| 17 | 86032533 | Трос 5/16-24 Unf-2A, длина 2100мм | |
| 18 | 86031605 | Наконечник выключателя блокировки | |
| 19 | 86035778 | Кронштейн, толщина 0.075dm | |
| 20 | 9790555 | Шайба 0.469X0.750X0.095 HDN | |
| 21 | 86505834 | Болт шестигранный 0.44x1.25GR8 PL | |
| 22 | 86017935 | Нижняя вилка | |
| 23 | 9626558 | Гайка G5 1/4dm-20 | |
| 24 | 86531356 | Контргайка стальная 0.313NF GRBPL | |
| 25 | 86035764 | Фиксатор переключателя | |
| 25 | 86033112 | Фиксатор переключателя | |
| 25 | 86029302 | Кронштейн крепления кабеля | |
| 26 | 87310 | Гайка 0.56Unf Gr-2 Pl | |
| 27 | 86033107 | Кронштейн переключателя | |
| 27 | 86035765 | Кронштейн | |
| 28 | 86012470 | Изолирующая трубка, длина 44,0 | |
| 29 | 2747 | Накладка соединительная, нейлоновая, регулируемая | |
| 30 | 86017942 | Уплотняющая пластина | |
| 31 | 9707360 | Защитный рукав, ширина 92мм, длина 700мм, нейлон | |
| 32 | 86020476 | Гайка M18 Gr-8 Cl-4 | |
| 33 | 86012106 | Шайба специальная 19.5MM | |
| 34 | 86528128 | Уплотняющее кольцо, внутр. o 1,00, 1/4GT, внеш. o | |
| 36 | 86020409 | Контргайка с нейлоновой вставкой 0.375NF GR5PL | |
| 37 | 9672981 | Шайба 10.00х15.80х1.14 | |
| 38 | 86018875 | Специальный наконечник с шипом | |
| 39 | 86018138 | Поворотный рычаг | |
| 40 | 87307 | Гайка 5/16 Pl | |
| 41 | 86017980 | Прокладка компрессора | |
| 42 | 86029299 | Кронштейн шарнира | |
| 43 | 9804268 | Болт M12x40 Cl-8.8 | |
| 44 | 86035805 | Кронштейн | |
| 45 | 9706685 | Гайка M12х1.75 | |
| 46 | 9804262 | Болт M10x30 Cl-8.8 | |
| 47 | 412356 | Болт M6х20мм | |
| 48 | 86034107 | Трос рычага коробки передач | |
| 49 | 86032370 | Кронштейн |
Содержащиеся в справочниках-каталогах запасные части и детали не предлагаются к продаже, а носят исключительно информационный характер