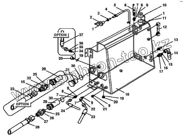
Каталог запасных частей к технике: Versatile серии HHT. 6HTC01 Схема подключения гидробака
1
1
2
3
4
5
6
7
7
7
8
8
9
9
9
9
10
11
12
13
14
15
15
16
17
18
19
19
20
20
21
22
23
24
25
25
26
27
28
29
29
30
30
31
32
33
34
35
36
37
| Позиция на иллюстрации | Заводской номер детали | Название детали | |
|---|---|---|---|
| 1 | 9804255 | Болт M6x16 Cl-8.8 Pl | |
| 2 | 9704438 | Клапан | |
| 3 | 86010532 | Шланговое соединение 5/8x1/2NPT | |
| 4 | V21193 | Хомут | |
| 5 | 86010608 | Шланг высокого давления 5/8x900 | |
| 6 | 86032876 | Рукав 1/2dmх400мм 100r1 | |
| 7 | 9992298 | Кольцо уплотнительное 0.489 IDX0.070 THK BUNA | |
| 8 | 9992305 | Штуцер 1-3/6orfsx3/4orb | |
| 9 | 128825 | Кольцо уплотнительное 0.644 IDX0.087 THK BUNA | |
| 10 | 9705728 | Колпачок патрубка наливного | |
| 11 | 86514335 | Контргайка с нейлоновой вставкой M6 класс 10 PL | |
| 12 | 9705718 | Стекло смотровое уровня масла | |
| 13 | 9824802 | Датчик температуры двигателя и трансмиссии | |
| 14 | 86032870 | Рукав 1dmх550мм 100r1 | |
| 15 | 9824050 | Кольцо уплотнительное 0.926 IDX0.070 THK BU | |
| 16 | 9824055 | Штуцер 1-7/16orfsx1-5/16orb | |
| 17 | 167268 | Кольцо уплотнительное HYD/F 1.171IDx0.116TH | |
| 18 | 86031877 | Гидробак HHP-L4wd | |
| 19 | 167266 | Кольцо уплотнительное вн. O 0.924xтолщина 0.116 | |
| 20 | 163410 | Пробка 1-1/16orb | |
| 21 | 214389 | Пробка 7/8, 3/4dm 16unf-2A | |
| 22 | 86512032 | Фитинг 45, 3/4orb 13/16ofs | |
| 23 | 86032832 | Рукав 1/2dmх2125мм 100r1 | |
| 24 | 86032866 | Рукав 1/2dmх3050мм 100r17 | |
| 25 | 570186 | Кольцо уплотнительное 1.60 IDX1.88 THK NITR | |
| 26 | 9840325 | Штуцер 1-11/16orfs 1-5/8orb | |
| 27 | 9824050 | Кольцо уплотнительное 0.926 IDX0.070 THK BU | |
| 28 | 86032851 | Рукав 1.25dmх2700мм 100r1 | |
| 29 | 86032678 | Фильтр всасывающей линии гидробака | |
| 30 | 9846875 | Кольцо уплотнительное 2.327 IDX0.114 THK BUNA | |
| 31 | 86033651 | Пробка 32-Orb, 2-1/2x12 Unf-2A | |
| 32 | 86033262 | Штуцер 1-7/16orfs 1-5/8orb | |
| 33 | 86033144 | Рукав 3/4dmх2525мм 100r1 | |
| 34 | NA | Отсутствует спецификация для данного чертежа | |
| 35 | 86033233 | Клапан гидравлический, 5-Psi, 1.188orfs 1.062orb 12un-2A | |
| 36 | 9991976 | Кольцо уплотнительное 0.739 IDX0.070 THK BUNA | |
| 37 | 86033153 | Рукав 3/4dmх1500мм 100r1 |
Содержащиеся в справочниках-каталогах запасные части и детали не предлагаются к продаже, а носят исключительно информационный характер