Каталог запасных частей к технике: Versatile серии HHT. 3ELC01 Жгут кабины, главный, HHP
1
1
1
1
1
1
1
20
21
22
23
24
25
26
26
26
26
26
26
26
26
26
27
27
27
27
27
27
27
27
27
28
28
28
28
28
28
28
28
28
29
31
33
35
36
37
38
39
40
41
41
41
42
42
42
43
45
45
45
46
46
46
47
47
47
48
48
48
49
49
49
50
53
54
54
54
55
55
55
56
56
56
57
60
63
65
66
67
69
70
71
72
73
74
75
76
77
80
81
82
83
84
84
84
85
85
85
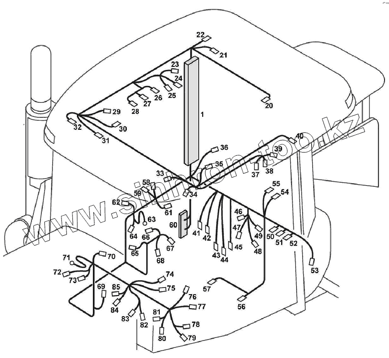
| Позиция на иллюстрации | Заводской номер детали | Название детали | |
|---|---|---|---|
| 1 | 86034114 | Электропроводка кабины | |
| 1 | 86031375 | Жгут кабины главный, HHP-L4wd | |
| 1 | 86036198 | Электропроводка кабины | |
| 1 | 86035072 | Жгут кабины | |
| 20 | 86032810 | Динамики радио, 70Вт, 60/22 кГц | |
| 21 | 86032810 | Динамики радио, 70Вт, 60/22 кГц | |
| 22 | 86031381 | Жгут крыши кабины | |
| 23 | 9846123 | Лампа - освещения кабины - 12 В, 10 Вт | |
| 24 | 9846123 | Лампа - освещения кабины - 12 В, 10 Вт | |
| 25 | 9846123 | Лампа - освещения кабины - 12 В, 10 Вт | |
| 26 | 86032814 | Магнитола AM / FM + Cd, L4WD | |
| 26 | 86032815 | Магнитола AM / FM L4WD | |
| 26 | 86023026 | Магнитола DELUXE CD, AM/FM L4WD + Genesis | |
| 26 | 86023025 | Магнитола DELUXE кассетная, AM/FM L4WD + Genesis | |
| 26 | 86023024 | Магнитола кассетная, AM/FM L4WD + Genesis | |
| 27 | 86023024 | Магнитола кассетная, AM/FM L4WD + Genesis | |
| 27 | 86023025 | Магнитола DELUXE кассетная, AM/FM L4WD + Genesis | |
| 27 | 86023026 | Магнитола DELUXE CD, AM/FM L4WD + Genesis | |
| 27 | 86032814 | Магнитола AM / FM + Cd, L4WD | |
| 27 | 86032815 | Магнитола AM / FM L4WD | |
| 28 | 86023025 | Магнитола DELUXE кассетная, AM/FM L4WD + Genesis | |
| 28 | 86032815 | Магнитола AM / FM L4WD | |
| 28 | 86032814 | Магнитола AM / FM + Cd, L4WD | |
| 28 | 86023024 | Магнитола кассетная, AM/FM L4WD + Genesis | |
| 28 | 86023026 | Магнитола DELUXE CD, AM/FM L4WD + Genesis | |
| 29 | 86033164 | Лампа - индикатор 14 В, 10 А | |
| 31 | 86032810 | Динамики радио, 70Вт, 60/22 кГц | |
| 33 | 9821739 | Переключатель стеклоочистителя | |
| 35 | 86032810 | Динамики радио, 70Вт, 60/22 кГц | |
| 36 | 86031225 | Жгут | |
| 37 | 9846123 | Лампа - освещения кабины - 12 В, 10 Вт | |
| 38 | 9846123 | Лампа - освещения кабины - 12 В, 10 Вт | |
| 39 | 9846123 | Лампа - освещения кабины - 12 В, 10 Вт | |
| 40 | 9821299 | Переключатель подсветки поручня кабины | |
| 41 | 86032923 | Электропроводка QSX15 Engine | |
| 41 | 86035081 | Жгут QSX15 Engine | |
| 42 | 86032923 | Электропроводка QSX15 Engine | |
| 42 | 86035081 | Жгут QSX15 Engine | |
| 43 | 86031376 | Жгут задней рамы | |
| 45 | 86032899 | Электропроводка сихронизатора трансмиссии | |
| 45 | 86032723 | Жгут, 1407 АКПП, HHP | |
| 46 | 86032687 | Модуль мультиплексной электроники | |
| 46 | 86034344 | Модуль мультиплексной электроники | |
| 47 | 86032687 | Модуль мультиплексной электроники | |
| 47 | 86034344 | Модуль мультиплексной электроники | |
| 48 | 86032687 | Модуль мультиплексной электроники | |
| 48 | 86034344 | Модуль мультиплексной электроники | |
| 49 | 86032687 | Модуль мультиплексной электроники | |
| 49 | 86034344 | Модуль мультиплексной электроники | |
| 50 | 86033779 | Коннектор для 86034114 WHA, CUMMINS | |
| 53 | 9707239 | Лампа 12В | |
| 54 | 86029094 | Модуль контроля | |
| 54 | 86032930 | Жгут | |
| 55 | 86029094 | Модуль контроля | |
| 55 | 86032930 | Жгут | |
| 56 | 86032542 | Сидение оператора в сборе | |
| 56 | 86032544 | Сидение оператора, ткань | |
| 57 | 86512116 | Шток выключателя | |
| 60 | 86032312 | Пластина латунная, ширина 25.0 длина 200.0 толщина 6.35мм | |
| 63 | 86032980 | Дроссель - блок ручного контроля электроники HHP-L | |
| 65 | 86500340 | Прикуриватель | |
| 66 | 86019436 | Переключение круиз-контроля | |
| 67 | 86019437 | Переключатель включения/отключения круиз-контроля | |
| 69 | 9821734 | Потенциометр | |
| 70 | 86500903 | Переключатель зажигания в сборе | |
| 71 | 9846855 | Переключатель - шток NO/NC педали тормоз/сцепление | |
| 72 | 9824815 | Переключатель остановки двигателя | |
| 73 | 9824815 | Переключатель остановки двигателя | |
| 74 | 9845883 | Переключатель сигнала поворота | |
| 75 | 9845884 | Кнопка включения подачи эфира | |
| 76 | 9824811 | Переключатель главный LT 4 PSN | |
| 77 | 9846855 | Переключатель - шток NO/NC педали тормоз/сцепление | |
| 80 | 9993093 | Переключатель включения сигнала аварийного состояния | |
| 81 | 9993093 | Переключатель включения сигнала аварийного состояния | |
| 82 | 86507086 | Сигнализация звуковая (0 - 20dBa) | |
| 83 | 86507086 | Сигнализация звуковая (0 - 20dBa) | |
| 84 | 86031954 | Приборная панель HHP-L4WD | |
| 84 | 86034343 | Модуль комбинации приборов без ПО | |
| 85 | 86031954 | Приборная панель HHP-L4WD | |
| 85 | 86034343 | Модуль комбинации приборов без ПО |
Содержащиеся в справочниках-каталогах запасные части и детали не предлагаются к продаже, а носят исключительно информационный характер