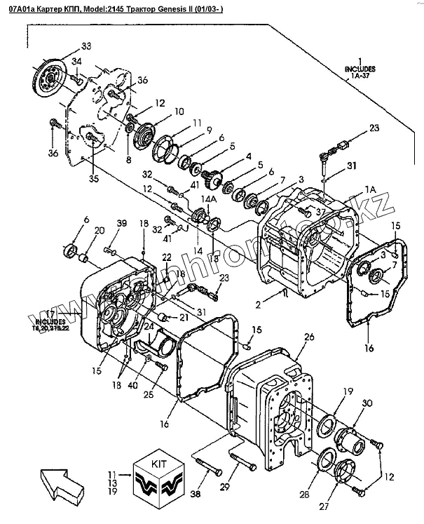
Каталог запасных частей к технике: Versatile серии GENESIS. 07A01a Картер КПП
1
1
1
1
1
1
1
1A
2
3
3
4
5
5
5
5
5
6
6
6
6
6
6
6
7
7
8
9
9
9
10
11
11
12
12
12
13
13
14
14A
15
15
15
15
16
16
17
17
17
18
18
18
18
18
19
19
20
20
20
21
21
21
22
23
23
23
23
23
23
24
25
26
26
26
26
26
27
27
27
27
27
28
29
29
29
30
31
31
32
32
33
34
35
36
36
37
37
37
38
39
40
41
41
| Позиция на иллюстрации | Заводской номер детали | Название детали | |
|---|---|---|---|
| 1 | 86500173 | 16КПП 30kph | |
| 1 | 86500174 | КПП 40kph | |
| 1 | 86508998 | 16КПП 9 L/CRP 30KPH | |
| 1 | 86508999 | КПП в сборе 18 скоростей | |
| 1A | 86500866 | Корпус | |
| 2 | 80744 | Фиксатор | |
| 3 | 86500892 | Стопорное кольцо | |
| 4 | 86500839 | Шестерня первичного вала, 42 зуба | |
| 5 | 86500813 | Обойма подшипника внутренняя | |
| 5 | 86513688 | Обойма подшипника внутренняя диам.внутр.50 толщина 28мм | |
| 6 | 86500815 | Обойма подшипника наружная | |
| 6 | 86513689 | Обойма подшипника наружная диам.наруж.90 толщина 28мм | |
| 7 | 86500891 | Упор подшипника | |
| 8 | 86500761 | Уплотнение масляное внут. O2,57 х внеш. O1,88 х 0, | |
| 9 | 86500797 | Кольцо уплотнительное ARP258 | |
| 9 | FKF37030258 | Уплотнительное кольцо | |
| 10 | 86500864 | Корпус подшипника | |
| 11 | 86500873 | Набор прокладок | |
| 12 | 86505975 | Болт | |
| 13 | 86500867 | Набор прокладок | |
| 14 | 86500865 | Корпус подшипника | |
| 14A | 86509113 | Кольцо уплотнительное | |
| 15 | 86505157 | Штифт 1/2 x 1.00dm | |
| 16 | 86500752 | Уплотнение центрального корпуса трансмиссии | |
| 17 | 86507380 | Корпус | |
| 17 | 86511889 | Корпус | |
| 18 | 86500821 | Шарик | |
| 18 | FKF7400018D | Шарик | |
| 19 | 86500883 | Набор прокладок трансмиссии | |
| 20 | 86500734 | Втулка 1.50 х 1.629dm, КПП | |
| 20 | FK4008023 | Втулка 1-1/2 x 1.629dm | |
| 21 | 86500735 | Втулка 1.50 х 1.35dm, КПП | |
| 21 | FK4008024 | Втулка 1-1/2 x 1.35dm | |
| 22 | 86500762 | Перепускной клапан системы смазывания КПП | |
| 23 | 86027316 | Датчик скорости | |
| 23 | 86030257 | Датчик скорости магнитный | |
| 23 | 86502050 | Датчик скорости | |
| 24 | 86500753 | Стакан | |
| 25 | 280643 | Болт 3/8dm-16x5/8dm | |
| 26 | 86500872 | Корпус | |
| 26 | 86507381 | Корпус | |
| 26 | 86509067 | Корпус | |
| 27 | 86500877 | Корпус подшипника | |
| 27 | 86509068 | Корпус подшипника | |
| 27 | 86517218 | Корпус подшипника | |
| 28 | 86500878 | Прокладка | |
| 28-a | 86500878 | Прокладка | |
| 28-b | 86500878 | Прокладка | |
| 28-c | 86500878 | Прокладка | |
| 28-d | 86500878 | Прокладка | |
| 28-e | 86500878 | Прокладка | |
| 29 | 86518627 | Болт G8p 62 x 8.50 | |
| 29 | FKF10070136 | Болт | |
| 30 | 86500882 | Корпус подшипника | |
| 31 | 128825 | Кольцо уплотнительное 0.644 IDX0.087 THK BUNA | |
| 32 | 278548 | Пробка 7/16 - 20 orb | |
| 33 | 9825201 | Амортизатор в сборе | |
| 34 | 88434 | Болт G5 3/8dm-16x3/4dm | |
| 35 | 43138 | Болт M10x1.5x20 Cl 8.8 | |
| 36 | 120091 | Болт M16x2x60 Cl-8.8 | |
| 37 | 374890 | Болт M20x2.5x60 CL-8.8 | |
| 37 | 80374890 | Болт M20 Cl 8.8 | |
| 38 | 86518628 | Болт G8 5/8dm-11x9-1/2dm | |
| 39 | 86509065 | Стержень | |
| 40 | 87016 | Шайба Sae 0.380 Pl, сталь | |
| 41 | 129270 | Кольцо уплотнительное 0.414 IDX0.072 THK BUNA |
Содержащиеся в справочниках-каталогах запасные части и детали не предлагаются к продаже, а носят исключительно информационный характер