Каталог запасных частей к технике: Versatile серии 2000. 11D02 Набор габаритных фар
1
1
1
2
3
4
5
6
6
7
8
9
10
11
12
13
14
15
16
17
20
21
22
23
24
25
26
27
28
29
30
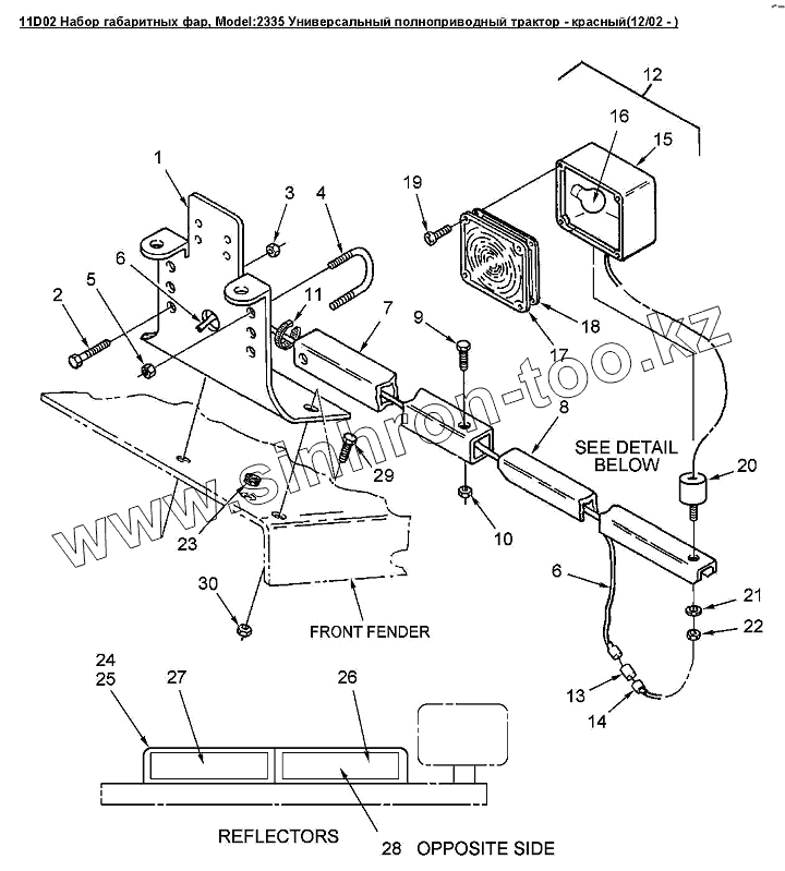
| Позиция на иллюстрации | Заводской номер детали | Название детали | |
|---|---|---|---|
| 1 | 86030149 | Крепление для трубы, правое | |
| 1 | 9707662 | Кронштейн, | |
| 1 | 86030144 | Крепление для трубы, левое | |
| 2 | 86011090 | Болт шестигранный FLG M10x70 8.8PL | |
| 3 | 43395 | Контргайка M10x1.5 | |
| 4 | 9707663 | U-образный болт М8x80x54x25 | |
| 5 | 86505868 | Гайка шестигранная USR M 8 PL | |
| 6 | 86001638 | Жгут выносного фонаря | |
| 7 | 86029308 | Труба для внешнего крепления маячка | |
| 8 | 9707661 | Регулируемая опора сигнальной лампы | |
| 9 | 9804266 | Болт M12x25 8.8PL | |
| 10 | 43436 | Гайка M12 Usr Pl | |
| 11 | 2748 | Хомут 185мм | |
| 12 | 86012742 | Маяк проблесковый | |
| 13 | V86061 | Раз'ем | |
| 14 | 86002450 | Раз'ем | |
| 15 | 9672309 | Сигнальный фонарь | |
| 16 | 529068 | Лампа #1156 12В | |
| 17 | 86032624 | Рассеиватель желтый, сигнальный/сигнальная фара | |
| 20 | 86012666 | Соединительный винт | |
| 21 | 83925303 | Стопорная шайба M12 PL | |
| 22 | 9804279 | Гайка M12x1.75dm | |
| 23 | 86050361 | Кольцо уплотнительное, диам.внут. 3/8 наруж. 1 1/16 толщина 3/16dm | |
| 24 | 86029111 | Правый кронштейн фары | |
| 25 | 86029112 | Левый кронштейн фары | |
| 26 | 86026766 | Отражатель красный | |
| 27 | 86026768 | Люминесцентная лампа | |
| 28 | 86026767 | Отражатель желтый | |
| 29 | 43776 | Болт CL 8.8, M12 x 1.75 x 30 | |
| 30 | 43436 | Гайка M12 Usr Pl |
Содержащиеся в справочниках-каталогах запасные части и детали не предлагаются к продаже, а носят исключительно информационный характер