Каталог запасных частей к технике: Versatile серии 2000. 09A01 Топливный бак и топливопроводы
1
1
1
1
1
1
2
2
2
2
2
2
2
2
2
2
3
3
3
4
4
5
5
5
6
6
6
7
7
8
8
9
9
10
10
11
11
11
11
12
12
12
12
12
13
13
13
14
14
14
15
15
16
16
17
17
18
18
18
18
19
19
19
20
20
21
21
21
22
22
23
23
24
24
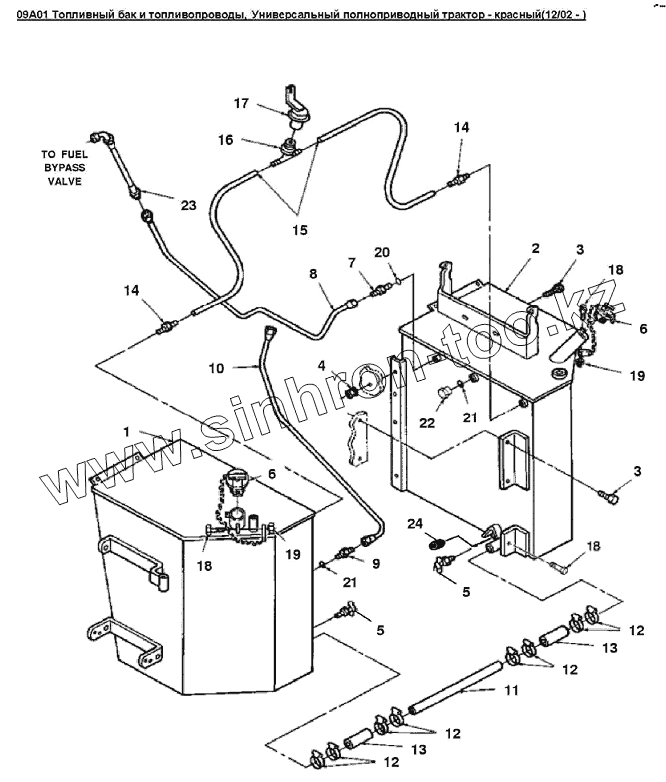
| Позиция на иллюстрации | Заводской номер детали | Название детали | |
|---|---|---|---|
| 1 | 86027835 | Левый топливный бак BVI | |
| 1 | 86031887 | Топливный бак, левый | |
| 1 | 86027835 | Левый топливный бак BVI | |
| 1 | 86026154 | Левый топливный бак | |
| 1 | 86026154 | Левый топливный бак | |
| 1 | 86031887 | Топливный бак, левый | |
| 2 | 86031888 | Бак топливный сварной правый в сборе, L4wd | |
| 2 | 86036644 | Топливный бак, правый | |
| 2 | 86035150 | Правый топливный бак L4wd | |
| 2 | 86031888 | Бак топливный сварной правый в сборе, L4wd | |
| 2 | 86027834 | Правый топливный бак BVI | |
| 2 | 86026153 | Правый топливный бак | |
| 2 | 86026153 | Правый топливный бак | |
| 2 | 86027834 | Правый топливный бак BVI | |
| 2 | 86035150 | Правый топливный бак L4wd | |
| 2 | 86036644 | Топливный бак, правый | |
| 3 | 9804272 | Болт M16x2x50 Cl-8.8 | |
| 3 | 9804272 | Болт M16x2x50 Cl-8.8 | |
| 4 | 86512498 | Гайка шестигранная FLG M16 класс 10 PL | |
| 4 | 86512498 | Гайка шестигранная FLG M16 класс 10 PL | |
| 5 | 9671406 | Сливной кран 1/4 NPT топливного бака | |
| 5 | 9671406 | Сливной кран 1/4 NPT топливного бака | |
| 6 | 86001359 | Крышка топливного бака, o 76,0 | |
| 6 | 86001359 | Крышка топливного бака, o 76,0 | |
| 7 | 128818 | Штуцер 3/4MJICx3/4MORB | |
| 7 | 128818 | Штуцер 3/4MJICx3/4MORB | |
| 8 | 86013883 | Трубопровод возврата топлива | |
| 8 | 86013883 | Трубопровод возврата топлива | |
| 9 | 86071 | Штуцер 7/8MJICx3/4MORB | |
| 9 | 86071 | Штуцер 7/8MJICx3/4MORB | |
| 10 | 9706445 | Патрубок топливовсасывающий L4WD | |
| 10 | 9706445 | Патрубок топливовсасывающий L4WD | |
| 11 | 86027836 | Уровнительный патрубок, o 46,8, красный | |
| 11 | 86026155 | Соединительная трубка | |
| 11 | 86026155 | Соединительная трубка | |
| 11 | 86027836 | Уровнительный патрубок, o 46,8, красный | |
| 12 | V17778 | Хомут 2.75dm | |
| 12 | V17778 | Хомут 2.75dm | |
| 13 | 9672328 | Рукав 2 X 8.0 100R4 | |
| 13 | 9672328 | Рукав 2 X 8.0 100R4 | |
| 14 | 86001133 | Фитинг 1/2 X 1/2NPT | |
| 14 | 86001133 | Фитинг 1/2 X 1/2NPT | |
| 15 | 86050293 | Шланг, внутр. O 1/2dm, 1270 | |
| 15 | 86050293 | Шланг, внутр. O 1/2dm, 1270 | |
| 16 | 9707645 | Тройник 1/2 x 1/2npt | |
| 16 | 9707645 | Тройник 1/2 x 1/2npt | |
| 17 | 9704438 | Клапан | |
| 17 | 9704438 | Клапан | |
| 18 | 9804255 | Болт M6x16 Cl-8.8 Pl | |
| 18 | 9804255 | Болт M6x16 Cl-8.8 Pl | |
| 19 | 86514335 | Контргайка с нейлоновой вставкой M6 класс 10 PL | |
| 19 | 86514335 | Контргайка с нейлоновой вставкой M6 класс 10 PL | |
| 20 | 128825 | Кольцо уплотнительное 0.644 IDX0.087 THK BUNA | |
| 20 | 128825 | Кольцо уплотнительное 0.644 IDX0.087 THK BUNA | |
| 21 | 167269 | Кольцо уплотнительное вн. O 0.8xтолщина 0.09 N | |
| 21 | 167269 | Кольцо уплотнительное вн. O 0.8xтолщина 0.09 N | |
| 22 | 214389 | Пробка 7/8, 3/4dm 16unf-2A | |
| 22 | 214389 | Пробка 7/8, 3/4dm 16unf-2A | |
| 23 | 86030078 | Шланг 1/2 X 2400 100R1 | |
| 23 | 86030078 | Шланг 1/2 X 2400 100R1 | |
| 24 | 129912 | Пробка 1/4-18 | |
| 24 | 129912 | Пробка 1/4-18 |
Содержащиеся в справочниках-каталогах запасные части и детали не предлагаются к продаже, а носят исключительно информационный характер