Каталог запасных частей к технике: Versatile серии 2000. 07D08 Части всасывающей линии 12 МКПП
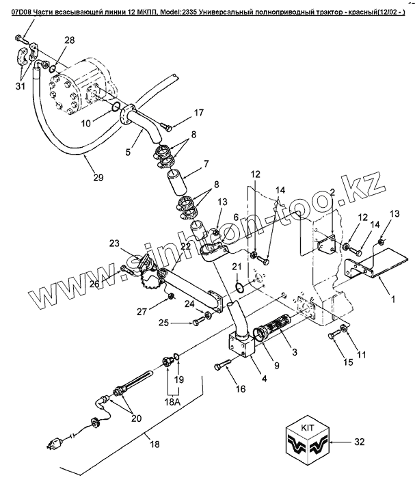
1
2
3
4
5
6
7
8
8
9
10
11
12
12
13
13
14
14
15
16
17
18
18А
19
20
21
22
23
24
25
26
27
28
29
30
31
32
| Позиция на иллюстрации | Заводской номер детали | Название детали | |
|---|---|---|---|
| 1 | 86019049 | Экран защитный | |
| 2 | 86001249 | Кронштейн | |
| 3 | 86001246 | Фильтр всасывания | |
| 4 | 86019048 | Всасывающий патрубок, нижний | |
| 5 | 86019047 | Трубка | |
| 6 | 86001250 | Хомут | |
| 7 | 86001245 | Патрубок | |
| 8 | 86050202 | Зажим 2.5 | |
| 9 | 86001247 | Кольцо уплотнительное JIS P50, трансмиссия | |
| 10 | 86001244 | Уплотнительное кольцо JIS P44 | |
| 11 | 86001252 | Шайба уплотнительная | |
| 12 | 140046 | Шайба стопорная M12 PL | |
| 13 | 337475 | Гайка M12х1.75 | |
| 14 | 9670066 | Болт M12x1.75x30 Cl-8.8 | |
| 15 | 9670066 | Болт M12x1.75x30 Cl-8.8 | |
| 16 | 86509604 | Винт с гексагональной головкой с фланцами M12x75 | |
| 17 | 280410 | Винт с гексагональной головкой 0.44x1.00 Gr8 Pl | |
| 18 | V109029 | Подогреватель | |
| 18А | 86509503 | Адаптер гидросистемы .825 Od | |
| 19 | 9626929 | Кольцо уплотнительное вн. O 1.048xтолщина 0.116 | |
| 20 | 86001373 | Подогреватель масла в картере КПП | |
| 21 | 510185 | Уплотнительное кольцо | |
| 22 | 9705727 | Трубка-фильтр КПП | |
| 23 | 9705728 | Колпачок патрубка наливного | |
| 24 | 44183 | Шайба 13.00X24.00X2.5 HDN PL | |
| 25 | 87689 | Болт шестигранный 0.50x1.50GR5 PL | |
| 26 | 86511892 | Болт шестигранный FLG USR M 6 X 16 PL | |
| 27 | 86514335 | Контргайка с нейлоновой вставкой M6 класс 10 PL | |
| 28 | 27286 | Уплотнительное кольцо внут. O 0,984, толщина 0,139 | |
| 29 | 9862010 | Рукав 3/4dmх515мм 100R1 | |
| 30 | 9670285 | Болт Gr8 3/8dm16x1dm | |
| 31 | 9790708 | Хомут | |
| 32 | 86020168 | Набор уплотнений и прокладок |
Содержащиеся в справочниках-каталогах запасные части и детали не предлагаются к продаже, а носят исключительно информационный характер