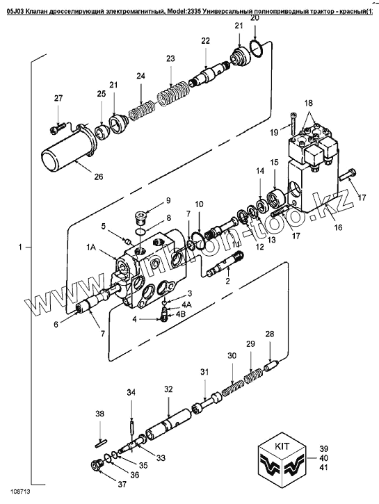
Каталог запасных частей к технике: Versatile серии 2000. 05J03 Клапан дросселирующий электромагнитный
1
2
3
4
4A
4B
9
10
11
12
13
14
15
16
17
17
18
19
20
21
21
22
23
24
25
26
27
28
29
30
31
32
34
35
35a
36
37
38
39
40
41
| Позиция на иллюстрации | Заводской номер детали | Название детали | |
|---|---|---|---|
| 1 | V106713 | Корпус | |
| 2 | 90362 | Корпус затвора | |
| 3 | 9672608 | Шарик | |
| 4 | 86018333 | Клапан с седлом в сборе | |
| 4A | 9673139 | Кольцо уплотнительное пробкового крана | |
| 4B | 86513328 | Кольцо уплотнительное вн. O 0.301 X толщина 0.064 | |
| 9 | 86508737 | Пробка 7/8 - 14unf | |
| 10 | 9672549 | Кольцо 120 | |
| 11 | 86001541 | Шток | |
| 12 | 49894 | Стопорное кольцо диам.0.625dm | |
| 13 | V90357 | Шайба | |
| 14 | V90354 | Шайба | |
| 15 | V107230 | Поршень | |
| 16 | V90356 | Корпус катушки клапана | |
| 17 | 86613 | Болт 1/4dm-20x3-1/2dm | |
| 18 | 86001183 | Клапан электрический распределителя | |
| 19 | 9704233 | Болт | |
| 20 | V84260 | Уплотнительное кольцо, внут.диам.1.250dm толщина 0.06dm | |
| 21 | 86001181 | Тарелка пружины | |
| 22 | V90345 | Шток | |
| 23 | V90347 | Пружина | |
| 24 | V90348 | Пружина | |
| 25 | V90349 | Фиксатор | |
| 26 | V90350 | Колпачок | |
| 27 | 84070 | Болт 1/4dm-20x1dm | |
| 28 | 86500464 | Игла | |
| 29 | V89382 | Пружина внешняя | |
| 30 | V89382 | Пружина внешняя | |
| 31 | V89384 | Золотник | |
| 32 | 86001179 | Трубка расходомера | |
| 34 | V87913 | Штифт | |
| 35 | 86511345 | Кольцо уплотнительное Buna-N-70, Id-0.18in Thk-0. | |
| 35a | V89386 | Кольцо | |
| 36 | 167269 | Кольцо уплотнительное вн. O 0.8xтолщина 0.09 N | |
| 37 | 86500461 | Пробка | |
| 38 | 87455 | Штифт 11/8dmx1dm | |
| 39 | V92558 | Уплотнение | |
| 40 | V92555 | Уплотнение | |
| 41 | V92554 | Комплект уплотнительный |
Содержащиеся в справочниках-каталогах запасные части и детали не предлагаются к продаже, а носят исключительно информационный характер