Каталог запасных частей к технике: Vaderstad Carrier CR420-820. System disc CR 500-820, -4099
1
2
3
4
5
6
7
8
8
9
9
10
10
10
11
12
13
14
15
16
17
18
19
20
21
22
23
24
25
26
27
28
29
30
31
32
33
34
34
35
36
37
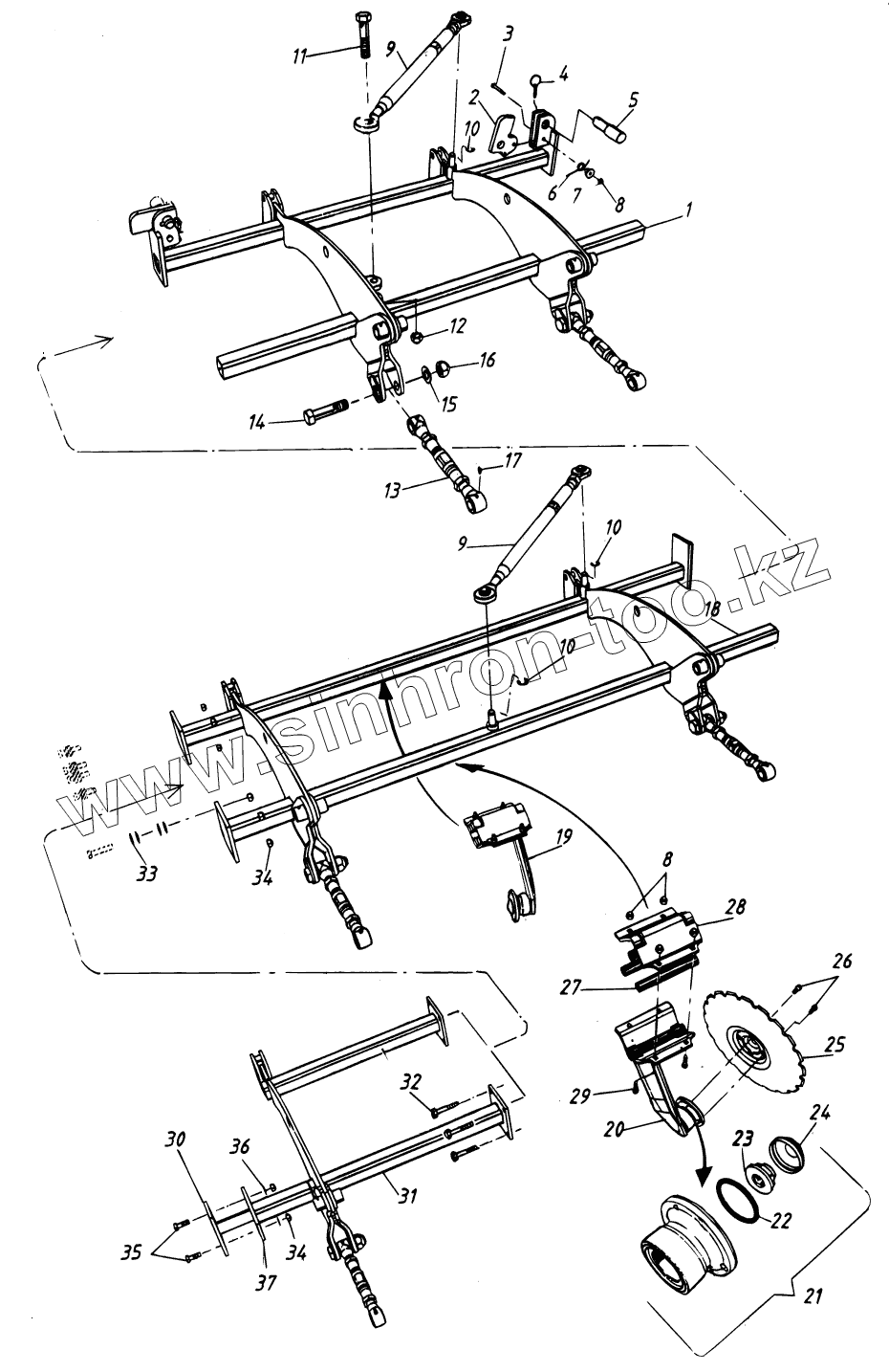
| Позиция на иллюстрации | Заводской номер детали | Название детали | |
|---|---|---|---|
| 1 | 432663 | Frame | |
| 2 | 432610 | Plate | |
| 3 | 50001209021 | Screw | |
| 4 | 420324 | Ring pin | |
| 5 | 432044 | Axle | |
| 6 | 414842 | Spring | |
| 7 | 432878 | Sleeve | |
| 8 | 51011200021 | Lock nut | |
| 9 | 444775 | Push rod | |
| 10 | 54021900091 | Circlip | |
| 11 | 50002410021 | Screw | |
| 12 | 51022400021 | Lock nut | |
| 13 | 432557 | Push rod | |
| 14 | 432660 | Screw | |
| 15 | 52003000041 | Washer | |
| 16 | 51023000011 | Lock nut | |
| 17 | 408473 | Grease nipple | |
| 18 | 432910 | Frame | |
| 18 | 432909 | Frame | |
| 18 | 432908 | Frame | |
| 18 | 432667 | Frame | |
| 18 | 432666 | Frame | |
| 18 | 432907 | Frame | |
| 19 | 433627 | Disc arm | |
| 20 | 433628 | Disc arm | |
| 21 | 440488 | Hub | |
| 22 | 424961 | O-ring | |
| 23 | 428550 | Nut | |
| 24 | 424916 | Plastic cap | |
| 25 | 444687 | Disc | |
| 26 | 424928 | Screw, tapered | |
| 27 | 411746 | Rubber rod | |
| 28 | 307168 | Cover | |
| 29 | 428571 | Carriage bolt | |
| 30 | 429050 | Bracket | |
| 31 | 432911 | Frame | |
| 31 | 432912 | Frame | |
| 32 | 50001607021 | Screw | |
| 33 | 52061600091 | Spring washer | |
| 34 | 51021600021 | Lock nut | |
| 35 | 50001604511 | Screw | |
| 36 | 52001600041 | Washer | |
| 37 | 429049 | Bracket | |
| 37 | 429048 | Bracket |
Содержащиеся в справочниках-каталогах запасные части и детали не предлагаются к продаже, а носят исключительно информационный характер