Вернуться на главную
Поиск
Каталоги запчастей к технике
Сельхозтехника
РСМ
РСМ-142 "Acros" вариант
Привод очистки
Каталог запасных частей к технике: РСМ-142 "Acros" вариант. Привод очистки
zoom-in
zoom-out
enlarge
shrink
circle-right
circle-left
file-text2
info
cart
Тип техники
Не выбрано
Легковые автомобили
Грузовые автомобили и прицепы
Автобусы
Сельхозтехника
Спецтехника
Двигатели
Мототехника
Марка
Не выбрано
AGCO
Amity
CASE IH
DongFeng
Fortschritt
Foton
Franz Kleine
Gaspardo
Great Plains
KRONE
KUHN
Lemken
Lovol
MacDon
Massey Ferguson
New Holland
TIGARBO
Vaderstad
Versatile
Wirax
Агро
Агротехмаш
Бобруйскагромаш (ОАО «УКХ «Бобруйскагромаш»)
БЭМЗ
ВгТЗ
Воронежсельмаш
ВТЗ
Гомсельмаш
ДКЗ
ЗАО "Техника-сервис"
ЗиД
КЗК
Кировец-Ландтехник
Клевер
Красная Звезда
Лидагропроммаш
Лидсельмаш
ЛТЗ
Машстройхолдинг
Минитракторы
Мордовагромаш
МТЗ
Навигатор-Новое машиностроение
Нефтекамский автозавод
ПТЗ
Ремком
РСМ
Сибсельмаш
ТеКЗ
ТКЗ
ХЗТСШ
ХТЗ
ЮМЗ
Модель
Не выбрано
CK-5М-1 «Нива»
CK-5М-1 «Нива» (2002)
Vector-450 (Часть 1) (2018)
Vector-450 (Часть 2) (2018)
Дон (общий каталог)
Дон 1200
Дон 1200Б
Дон 1500А
Дон 1500Б
Жатка 3518050-12010 (2020)
Жатка S300.27 (2020)
Жатка ЖЗТ-9 (2020)
Жатка ЖКС (2020)
Жатка ЖСУ-700 (2020)
Жатка ЖСУ-703 (2020)
Жатка РСМ-081.27 (2010)
Жатка РСМ-081.27 (2020)
Жатка РСМ-081.27 (вариант) (2010)
Жатка РСМ-100.70, 1401.70 (2007)
Жатка РСМ-161.27 (2020)
Платформа-подборщик РСМ-081.08 (2020)
Платформа-подборщик РСМ-091.08 (2020)
ППК-81 Argus (2020)
РСМ 2375 (2020)
РСМ-100 (Дон-680) (2002)
РСМ-100 (Дон-680М) (2010)
РСМ-101 "Вектор" (2010)
РСМ-101 "Вектор" (вариант) (2010)
РСМ-10Б "Дон-1500Б" (2006)
РСМ-1401 (2009)
РСМ-142 "Acros" (2010)
РСМ-142 "Acros" вариант (2010)
РСМ-142 (Acros-550) (2020)
РСМ-152 "Acros-590/595 Plus" Часть 1 (2020)
РСМ-152 "Acros-590/595 Plus" Часть 2 (2020)
РСМ-161 (Часть 1) (2015)
РСМ-161 (Часть 2) (2015)
РСМ-181 "Torum-740" (2010)
РСМ-181 "Torum-740" (вариант) (2010)
Стол рапсовый RSM001.00.000К (2020)
Тележка для перевозки жатки РСМ-142.29 (2020)
Тележка РСМ-142.29 (2009)
Тележка транспортная ТТ-4000 (2020)
Энергосредство ЭС-1 (2009)
Схема
>
Не выбрано
Камера наклонная
Шасси
Колесо ведущее
Секция молотильная
Секция молотильная
Площадка входа
Ограждение
Механизм поворота лестницы
Элеватор зерновой
Элеватор зерновой
Элеватор колосовой
Элеватор колосовой
Рабочее место
Рабочее место
Рабочее место
Рабочее место
Рабочее место
Опора кабины передняя
Опора кабины задняя
Коммуникации управления тормозами
Бункер
Шнек выгрузной
Установка моторная (двигатель 6СТА8.3)
Установка моторная (двигатель ЯМЗ)
Система питания воздухом двигателя ЯМЗ
Предочиститель инерционный
Установка моторная (двигатель QSC8,3-275)
Система питания воздухом двигателя Cummins
Установка глушителя
Установка фильтров воздушных
Измельчитель-разбрасыватель
Привод измельчителя
Устройство натяжное
Механизм натяжения
Система ГСТ фирмы Danfoss
Система ГСТ фирмы Linde
Система ГСТ фирмы Eaton
Основная гидросистема с гидравликой фирмы Елец
Основная гидросистема с гидравликой фирмы Bucher
Система рулевого управления
Система привода мотовила
Гидроцилиндр
Капот (двигатель Cummins 6СТА8,3)
Капот (двигатель Cummins QSC8,3)
Капот (двигатель ЯМЗ-236БК)
Капот
Капот
Капоты (правая сторона)
Щит
Капоты (левая сторона)
Щит
Капоты (задняя часть)
Установка бачка расширительного (ЯМЗ)
Установка бачка расширительного (Cummins 6СТА8,3)
Установка бачка расширительного (Cummins QSC8,3)
Установка светосигнальных приборов
Схема ременных и цепных передач комбайна (левая сторона)
Схема ременных и цепных передач комбайна (правая сторона)
Рычаг натяжной
Система питания воздухом двигателя ЯМЗ и система выхлопа отработавших газов
Рама
Трубопровод
Крепление блока радиаторов и воздухозаборника
Опора и кронштейн
Блок радиаторов
Воздухозаборник
Тандем насосов
Насос аксиально-поршневой
Насос аксиально-поршневой
Шкив
Рама
Трубопровод
Крепление блока радиаторов и воздухозаборника
Опора и кронштейн
Блок радиаторов
Воздухозаборник
Тандем насосов
Насос аксиально-поршневой
Насос аксиально-поршневой
Насос аксиально-поршневой
Насос аксиально-поршневой
Пневмосистема двигателя ЯМЗ
Рама
Трубопровод
Крепление блока радиаторов и воздухозаборника
Опора и кронштейн
Блок радиаторов
Воздухозаборник
Тандем насосов
Насос аксиально-поршневой
Насос аксиально-поршневой
Шкив натяжной. Натяжник
Битер
Вал верхний
Транспортер цепной
Гидромотор. Труба с роликами
Установка рамки
Рама
Стан решетный
Решето
Щиток и стан решета
Доска транспортирующая
Доска стрясная
Вентилятор
Контрпривод вентилятора
Блок шнеков
Рукоятка
Привод очистки
Рычаг
Рычаг
Подвеска
Подвеска
Мост управляемых колес
Мост ведущих колес
Мост ведущих колес
Мост ведущих колес
Механизм управления коробкой передач
Решето верхнее
Борт
Удлинитель
Крылач вентилятора
Шкив вариатора ведомый
Фланцы
Кожух и уплотнитель
Колесо управляемое
Колесо управляемое
Гидромотор фирмы "Данфос"
Гидромотор "Линде"
Гидромотор "Еатон"
Рычаг
Установка силового привода
Блок молотильный
Блок молотильный
Механизм подъема подбарабанья
Площадка входа
Панель
Механизм подъема подбарабанья
Панель правая
Барабан молотильный
Барабан с редуктором
Барабан с редуктором
Подбарабанье
Шкив вариатора ведущий
Вал торсиона
Битер отбойный
Бич левый
Бич правый
Вариатор барабана
Вариатор барабана
Гидрораспределитель
Гидрораспределитель
Механизм сигнализации положения наклонной камеры
Гидроблоки
Крыша
Крыша
Панель левая
Панель правая
Установка бака топливного
Бак топливный
Ролик
Шкив натяжной
Ролик
Ролик
Ролик
Ролик
Шкив натяжной
Контр привод
Контр привод
Установка гидробака
Ферма
Ложемент
Устройство домолачивающее
Соломотряс
Коленчатые валы соломотряса
Экран
Крепление крышки охладителя
Крышка
Дверь
Дверь
Колонка рулевая
Колонка рулевая
Пульт управления
Пульт управления
Крепление троса дистанционного управления 172-L-TT-50-1500
Рычаг управления движением
Рычаг
Рычаг стояночного тормоза
Рычаги
Блок педалей
Отопитель
Сиденье
Стороение верхнее
Основание
Секция крыши
Секция крыши
Панель передняя
Рычаг
Колено
Кожух шнека
Дно
Шнек наклонный
Элеватор зерновой
Редуктор
Ось
Шнек
Шнек выгрузной
Блок измельчителя
Разбрасыватель
Щиток
Противорез
Общий вид комбайна зерноуборочного самоходного
Схема деления комбайна на составные части
Схема деления комбайна на составные части
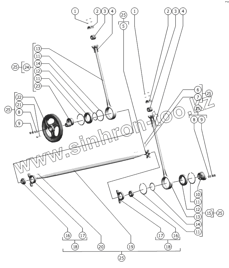
1
1
2
2
3
3
4
4
5
6
7
8
8
9
9
10
11
11
11
11
12
12
13
13
14
14
15
16
16
17
17
18
18
19
20
21
22
23
24
25
25
25
25
25
25
25
Позиция на иллюстрации
Заводской номер детали
Название детали
1
М10-6Н.6.019 ГОСТ 5915-70
Гайка
2
РСМ-10.01.01.305
Хомут
3
РСМ-10.01.06.004
Втулка
4
М10-6gх80.88.35.019 ГОСТ 7798-70
Болт
5
РСМ-10Б.01.01.003А
Звёздочка
6
М6х20.22Н ТУ 23.4617472.07-91
Винт
7
М6-6Н.6.019 ГОСТ 5915-70
Гайка
8
С.16.01.019 ГОСТ 11371-78
Шайба
9
М16-6Н.6.019 ГОСТ 5915-70
Гайка
10
РСМ-10Б.01.01.202
Ступица
11
С150 ГОСТ 13943-86
Кольцо
12
2180120КС17
Подшипник
13
РСМ-10Б.01.01.250
Шатун привода очистки
14
С100 ГОСТ 13942-86
Кольцо
15
РСМ-10Б.01.01.240
Шатун в сборе правый
16
1680208К10С27 ТУ 37.006.084-90
Подшипник
17
РСМ-10Б.01.01.203
Корпус подшипника
18
РСМ-10Б.01.01.300
Опора
19
РСМ-10Б.01.01.601
Вал
20
8х7х63 ГОСТ 23360-78
Шпонка
21
РСМ-10.01.01.306
Шпонка или РСМ-10.01.01.626
22
РСМ-10.01.01.104А
Шкив
23
РСМ-10Б.01.01.201
Ступица
24
РСМ-10Б.01.01.230
Шатун в сборе левый
25
РСМ-10Б.01.01.220А
Привод очистки
Содержащиеся в справочниках-каталогах запасные части и детали не предлагаются к продаже, а носят исключительно информационный характер
Дополнительная информация
×
Название:
Номер:
Примечание: