Вернуться на главную
Поиск
Каталоги запчастей к технике
Сельхозтехника
РСМ
РСМ-100 (Дон-680М)
Площадка входа
Каталог запасных частей к технике: РСМ-100 (Дон-680М). Площадка входа
zoom-in
zoom-out
enlarge
shrink
circle-right
circle-left
file-text2
info
cart
Тип техники
Не выбрано
Легковые автомобили
Грузовые автомобили и прицепы
Автобусы
Сельхозтехника
Спецтехника
Двигатели
Мототехника
Марка
Не выбрано
AGCO
Amity
CASE IH
DongFeng
Fortschritt
Foton
Franz Kleine
Gaspardo
Great Plains
KRONE
KUHN
Lemken
Lovol
MacDon
Massey Ferguson
New Holland
TIGARBO
Vaderstad
Versatile
Wirax
Агро
Агротехмаш
Бобруйскагромаш (ОАО «УКХ «Бобруйскагромаш»)
БЭМЗ
ВгТЗ
Воронежсельмаш
ВТЗ
Гомсельмаш
ДКЗ
ЗАО "Техника-сервис"
ЗиД
КЗК
Кировец-Ландтехник
Клевер
Красная Звезда
Лидагропроммаш
Лидсельмаш
ЛТЗ
Машстройхолдинг
Минитракторы
Мордовагромаш
МТЗ
Навигатор-Новое машиностроение
Нефтекамский автозавод
ПТЗ
Ремком
РСМ
Сибсельмаш
ТеКЗ
ТКЗ
ХЗТСШ
ХТЗ
ЮМЗ
Модель
Не выбрано
CK-5М-1 «Нива»
CK-5М-1 «Нива» (2002)
Vector-450 (Часть 1) (2018)
Vector-450 (Часть 2) (2018)
Дон (общий каталог)
Дон 1200
Дон 1200Б
Дон 1500А
Дон 1500Б
Жатка 3518050-12010 (2020)
Жатка S300.27 (2020)
Жатка ЖЗТ-9 (2020)
Жатка ЖКС (2020)
Жатка ЖСУ-700 (2020)
Жатка ЖСУ-703 (2020)
Жатка РСМ-081.27 (2010)
Жатка РСМ-081.27 (2020)
Жатка РСМ-081.27 (вариант) (2010)
Жатка РСМ-100.70, 1401.70 (2007)
Жатка РСМ-161.27 (2020)
Платформа-подборщик РСМ-081.08 (2020)
Платформа-подборщик РСМ-091.08 (2020)
ППК-81 Argus (2020)
РСМ 2375 (2020)
РСМ-100 (Дон-680) (2002)
РСМ-100 (Дон-680М) (2010)
РСМ-101 "Вектор" (2010)
РСМ-101 "Вектор" (вариант) (2010)
РСМ-10Б "Дон-1500Б" (2006)
РСМ-1401 (2009)
РСМ-142 "Acros" (2010)
РСМ-142 "Acros" вариант (2010)
РСМ-142 (Acros-550) (2020)
РСМ-152 "Acros-590/595 Plus" Часть 1 (2020)
РСМ-152 "Acros-590/595 Plus" Часть 2 (2020)
РСМ-161 (Часть 1) (2015)
РСМ-161 (Часть 2) (2015)
РСМ-181 "Torum-740" (2010)
РСМ-181 "Torum-740" (вариант) (2010)
Стол рапсовый RSM001.00.000К (2020)
Тележка для перевозки жатки РСМ-142.29 (2020)
Тележка РСМ-142.29 (2009)
Тележка транспортная ТТ-4000 (2020)
Энергосредство ЭС-1 (2009)
Схема
>
Не выбрано
Общий вид комбайна кормоуборочного самоходного с роторной жаткой
Общий вид комбайна кормоуборочного самоходного с травяной жаткой
Общий вид комбайна кормоуборочного самоходного с платформой-подборщиком
Схема деления на составные части
Схема деления на составные части
Жатка роторная ЖР-4000
Проставка
Звёздочка
Муфта предохранительная
Муфта предохранительная
Блок звёздочек
Битер
Битер
Жатка
Рама
Крепеж балки навески
Крепеж балки навески
Крепеж делителя
Делитель
Балка навески
Балка навески
Делитель
Делитель
Привод угловой
Режущий аппарат
Редуктор
Редуктор
Редуктор
Редуктор
Редуктор
Стакан
Редуктор
Редуктор
Редуктор
Редуктор
Стакан
Муфта фрикционная
Опора
Аппарат питающий
Аппарат питающий
Каркас
Вальцы
Редуктор верхних вальцев
Редуктор верхних вальцев
Блок пружин
Уголок
Валец
Шкив
Валец
Валец
Редуктор верхних вальцев
Звездочка и толкатель
Рычаг и опоры
Рычаг
Аппарат питающий
Растяжка
Поддон
Уголки
Рычаг
Редуктор
Редуктор
Редуктор
Редуктор
Редуктор
Корпус редуктора
Блок шестерён
Механизм переключения
Механизм переключения
Механизм переключения
Гидроцилиндр блокировки диапазонов
Аппарат измельчающий
Каркас
Растяжка
Брус
Опора
Барабан
Пружина натяжения
Шкив
Шкив
Барабан
Площадка входа
Площадка входа
Площадка входа
Площадка входа
Площадка
Площадка
Лестница
Рабочее место
Рабочее место
Рабочее место
Дверь
Дверь
Колонка рулевая
Колонка рулевая
Рычаг управления движением
Рычаг подачи топлива
Рычаг стояночного тормоза
Рычаг переключения диапазонов
Блок педалей
Шасси
Рама
Редуктор
Редуктор
Механизм натяжения
Натяжник
Установка гидронасоса
Натяжное устройство
Контрпривод
Мост управляемых колёс
Мост управляемых колёс
Мост управляемых колёс
Мост ведущих колес
Мост ведущих колес
Колесо ведущее
Колесо управляемое
Капот
Капот
Капот
Капот
Капот
Капот
Капот
Капот
Крыло
Капот
Капот
Щиток
Капот
Капот
Рама капота
Опора и радиатор масляный
Капот
Люк
Крышка и люк
Рама
Бак топливный
Установка аккумуляторных батарей
Ступенька
Противовес
Прицеп
Ящик
Установка моторная с двигателем ЯМЗ-238ДК-1
Установка моторная с двигателем ЯМЗ-238ДК-1
Установка моторная с двигателем ЯМЗ-238ДК-1
Установка моторная с двигателем ЯМЗ-238ДК-1
Воздухозаборник
Клапан эжектора
Рама
Блок радиаторов
Блок радиаторов
Щиток
Рамка
Радиатор водяной
Конфузор
Конфузор
Устройство поворотное
Устройство поворотное
Силосопровод
Электрооборудование рабочего места
Свето-сигнальные приборы
Монтаж электрооборудования
Гидрооборудование
Гидрооборудование
Гидрооборудование
Гидравлическая схема соединений
Схема ременных и цепных передач комбайна (левая сторона)
Схема кинематическая жатки роторной с проставкой
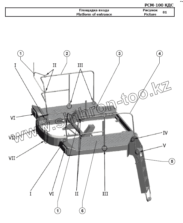
1
1
2
3
4
5
6
Позиция на иллюстрации
Заводской номер детали
Название детали
1
РСМ-100.01.00.610
Кронштейн зеркала
2
РСМ-100.07.00.770
Поручень
3
РСМ-100.06.00.190А
Рукоятка
4
РСМ-100.07.00.780
Поручень
5
РСМ-100.07.00.200А
Лестница
6
РСМ-100.07.04.300
Площадка
7
Гайка М6-6H.6.019
Гайка М6-6H.6.019
8
Шайба 6Т 65Г 019
Шайба 6Т 65Г 019
9
Шайба С.6х1,4.01.019
Шайба С.6х1,4.01.019
10
ОТ-19.01.01.01
Бампер
11
Шайба C 6х1,4.01.019
Шайба C 6х1,4.01.019
12
Болт М6-6gx20.48.019
Болт М6-6gx20.48.019
13
Винт В.М6-6gх25.48.019
Винт В.М6-6gх25.48.019
14
Винт В.М6-6gх16.48.019
Винт В.М6-6gх16.48.019
15
Шайба С.10.01.019
Шайба С.10.01.019
16
Гайка М10-6H.6.019
Гайка М10-6H.6.019
17
Шайба 10Т 65Г 019
Шайба 10Т 65Г 019
18
Болт М10х20.46.019
Болт М10х20.46.019
19
Болт М12-6gx35.88.35.019
Болт М12-6gx35.88.35.019
20
Шайба С.12х3.01.019
Шайба С.12х3.01.019
21
Шайба 12Т 65Г 019
Шайба 12Т 65Г 019
22
Гайка М12-6H.6.019
Гайка М12-6H.6.019
23
Болт М10-6gx35.88.35.019
Болт М10-6gx35.88.35.019
24
Болт М8-6gx20.88.35.019
Болт М8-6gx20.88.35.019
25
Винт 4х16.01.019
Винт 4х16.01.019
26
ОТ-19.01.01.03-01
Крышка
27
Гайка 3302-5301594
Гайка 3302-5301594
28
Фара 8702.3711-01
Фара 8702.3711-01
29
Шайба C 6х1,4.01.019
Шайба C 6х1,4.01.019
30
Винт В.М6-6gх20.48.019
Винт В.М6-6gх20.48.019
31
ОТ-19.01.01.02-01
Маска
32
ОТ-19.01.01.04-01
Накладка
33
ОТ-19.01.01.03
Крышка
34
Фонарь 26.3726
Фонарь 26.3726
35
ОТ-19.01.01.02
Маска
36
ОТ-19.01.01.04
Накладка
Содержащиеся в справочниках-каталогах запасные части и детали не предлагаются к продаже, а носят исключительно информационный характер
Дополнительная информация
×
Название:
Номер:
Примечание: