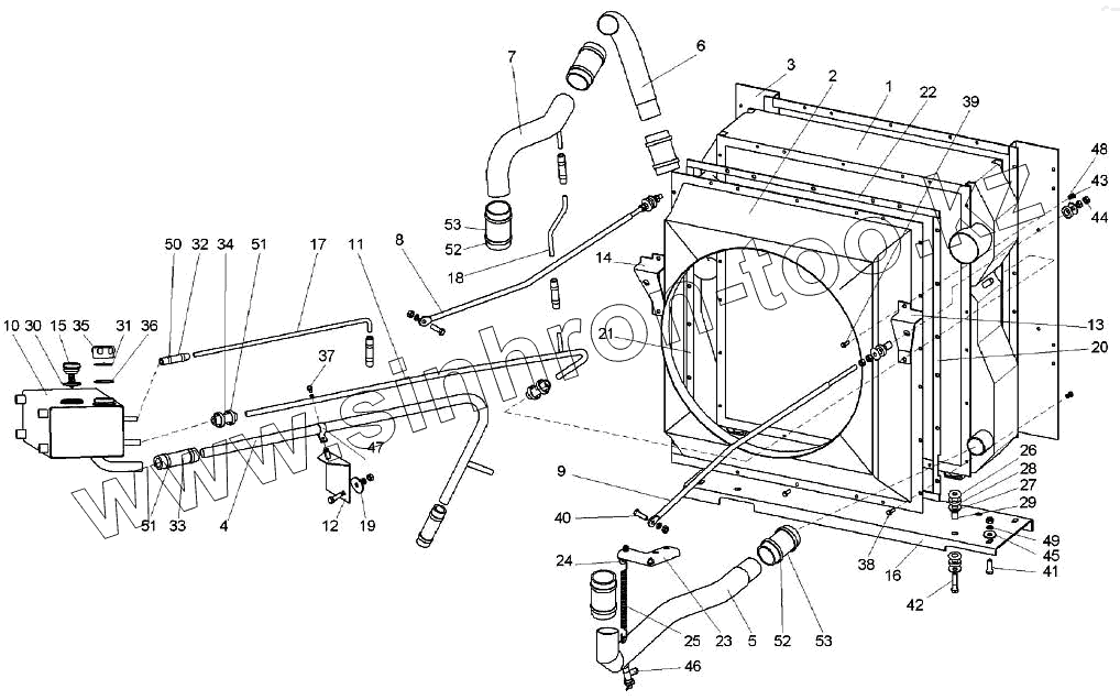
Каталог запасных частей к технике: ПТЗ К-744Р2. Система охлаждения двигателя 744P2-1300000-2
1
2
3
4
5
6
7
8
9
10
11
12
13
14
15
16
17
18
19
20
21
22
23
24
25
26
27
28
29
30
31
32
33
34
35
36
37
38
39
40
41
42
43
44
45
46
47
48
49
50
51
51
52
52
53
53
| Позиция на иллюстрации | Заводской номер детали | Название детали | |
|---|---|---|---|
| 1 | ОМ457-1301.000 | Блок радиаторов | |
| 2 | 744Р2-1300200-2 | Кожух вентилятора | |
| 3 | 744Р2-1300210-1 | Рамка | |
| 4 | 744Р2-1300310-1 | Труба | |
| 5 | 744Р2-1300320-3 | Труба | |
| 6 | 744Р2-1300330 | Труба | |
| 7 | 744Р2-1300340-1 | Труба | |
| 8 | 744Р2-1300350 | Стяжка | |
| 9 | 744Р2-1300360 | Стяжка | |
| 10 | 744Р2-1300370 | Бак расширительный | |
| 11 | 744Р2-1300380-1 | Труба | |
| 12 | 744Р2-1300390 | Кронштейн | |
| 13 | 744Р2-1300400-1 | Кронштейн | |
| 14 | 744Р2-1300400-1-01 | Кронштейн | |
| 15 | 700.1315000-1 | Клапан паровоздушный в сборе | |
| 16 | 744Р2-1300214-1 | Швеллер | |
| 17 | 744Р2-1300302 | Труба | |
| 18 | 744Р2-1300311 | Труба | |
| 19 | 744Р2-1300355 | Шайба | |
| 20 | 744Р2-1300378 | Прокладка | |
| 21 | 744Р2-1300379 | Прокладка | |
| 22 | 744Р2-1300381 | Прокладка | |
| 23 | 744Р2-1300391 | Кронштейн | |
| 24 | 744Р2-1300393 | Крюк | |
| 25 | 744Р2-1300394 | Ограничитель | |
| 26 | 700.1300027 | Шайба | |
| 27 | 700.1300027-1 | Шайба | |
| 28 | 700.1300028 | Кольцо | |
| 29 | 700.1300029 | Втулка | |
| 30 | 700.1300056 | Прокладка | |
| 31 | 700Б-1300013 | Заглушка | |
| 32 | 701.1000089 | Трубка | |
| 33 | 701.1504065-2 | Шланг | |
| 34 | 701.8100014-1 | Трубка | |
| 35 | 2256010-1300028-5 | Крышка | |
| 36 | 2256010-1301034 | Прокладка | |
| 37 | М8х16 | Болт | |
| 38 | М8х20 | Болт | |
| 39 | М8х25 | Болт | |
| 40 | М12х30 | Болт | |
| 41 | М12х40 | Болт | |
| 42 | 3М12х45 | Болт | |
| 43 | М8 | Гайка | |
| 44 | М12 | Гайка | |
| 45 | 12 | Шайба | |
| 46 | ВС11(Кр29) | Кран | |
| 47 | 28.28.9,0 | Скоба | |
| 48 | 8.65Г | Шайба | |
| 49 | 12.65Г | Шайба | |
| 50 | 12-22/9 | Хомут | |
| 51 | 25-40/9 | Хомут | |
| 52 | 60-80/12 | Хомут | |
| 53 | 60 | Рукав | |
| 54 | 65 | Рукав |
Содержащиеся в справочниках-каталогах запасные части и детали не предлагаются к продаже, а носят исключительно информационный характер