Каталог запасных частей к технике: ПТЗ К-744Р2. Схема пневматическая тормозной системы 742P2-3500000-3
1
2
2
2
2
3
4
4
5
6
7
8
8
8
9
10
10
10
10
10
11
12
13
14
14
14
14
15
16
16
17
18
19
20
21
22
23
23
23
23
23
23
23
23
24
25
26
27
28
29
30
31
32
33
34
34
35
36
37
37
37
38
38
39
40
40
41
41
42
43
43
43
44
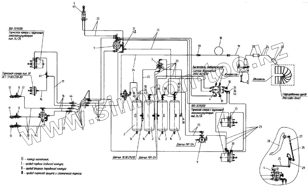
| Позиция на иллюстрации | Заводской номер детали | Название детали | |
|---|---|---|---|
| 1 | 100-3512010 | Регулятор давления в сборе | |
| 2 | 744Р-3500170 | Баллон воздушный | |
| 3 | 100-3515210 | Клапан защитный тройной | |
| 4 | 100-3514008 | Кран тормозной двухсекционный с рычагом | |
| 5 | 744Р1-3500140 | Кран ручной тормозной | |
| 6 | 744Р1-3500080 | Клапан управления тормозами прицепа с однопроводным приводом | |
| 7 | 744Р1-3500040 | Клапан управления тормозами прицепа с двухпроводным приводом | |
| 8 | Кр20-3520010 | Кран | |
| 9 | 744Р1-3500010 | Клапан ускорительный | |
| 10 | 100-3515310 | Клапан контрольного вывода | |
| 11 | П00-3521010 | Головка соединительная тип А | |
| 12 | 100-3521110 | Головка соединительная тип ПАЛМ красная | |
| 13 | 100-3521111 | Головка соединительная тип ПАЛМ голубая | |
| 14 | 100-3513110 | Кран слива конденсата | |
| 15 | 2765020-3500160 | Рукав | |
| 16 | 744Р1-3500017-01 | Труба | |
| 17 | 744Р1-3500017-02 | Труба | |
| 18 | 744Р2-3500100 | Труба | |
| 19 | 744Р2-3500101 | Труба | |
| 20 | 744Р2-3500304 | Труба | |
| 21 | 744Р2-3500330-1 | Труба | |
| 22 | 701.1504065-2 | Шланг | |
| 23 | 8282519066 | Трубка DIN 73378-10х1 РА11РНL | |
| 24 | 8282519046 | Трубка DIN 74324-15х1,5 РА12НIРНL | |
| 25 | 744Р-3500080 | Тяга | |
| 26 | 744Р-3500090 | Тяга | |
| 27 | 2256010-3500023 | Вилка | |
| 28 | 744Р-3500050 | Педаль | |
| 29 | 744Р-3500110 | Валик | |
| 30 | 8938313200 | Двойной угольник с гайкой | |
| 31 | 8935017834 | Тройник | |
| 32 | 8935017874 | Тройник | |
| 33 | 8934017744 | Угольник | |
| 34 | 8938904500 | Угольник с гайкой | |
| 35 | 8931047732 | Переходник | |
| 36 | 8931047752 | Переходник | |
| 37 | 8938034100 | Штуцер | |
| 38 | 8938034200 | Штуцер | |
| 39 | 8938034500 | Штуцер | |
| 40 | 8938034600 | Штуцер | |
| 41 | 8930220094 | Заглушка | |
| 42 | 8931047722 | Переходник | |
| 43 | 8915030524 | Гайка | |
| 44 | 8915030534 | Гайка |
Содержащиеся в справочниках-каталогах запасные части и детали не предлагаются к продаже, а носят исключительно информационный характер