Каталог запасных частей к технике: ПТЗ К-744Р2. Рама Э744Р2-2800000-05
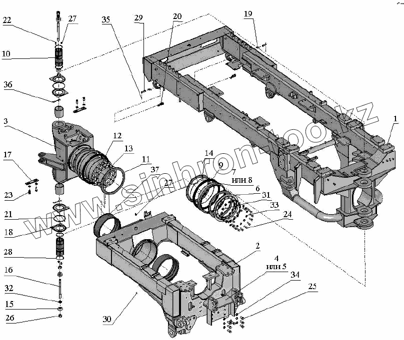
1
2
3
4
5
6
7
8
9
10
11
12
13
14
15
16
17
18
19
20
21
22
23
24
25
26
27
27
28
29
30
31
32
33
34
35
36
37
| Позиция на иллюстрации | Заводской номер детали | Название детали | |
|---|---|---|---|
| 1 | Э744Р2-2801000-5 | Полурама подмоторная | |
| 2 | 744Р1-2811000 | Полурама грузовая | |
| 3 | 744Р1-2801020 | Труба шарнира | |
| 4 | 744Р1-2800060 | Основание для ВОМа | |
| 5 | 744Р1-2800060-01 | Основание | |
| 6 | 2256010-2800017 | Крышка | |
| 7 | 2765020-2800016 | Обойма манжеты | |
| 8 | 744Р1-2800040 | Обойма манжеты | |
| 9 | 2765020-2800040 | Манжета | |
| 10 | 2765020-2800019 | Ось | |
| 11 | 2256010-2800013 | Кольцо | |
| 12 | 2256010-2800015 | Прокладка | |
| 13 | 2256010-2800015-01 | Прокладка | |
| 14 | 2256010-2800021 | Пружина | |
| 15 | 2765020-2800021 | Втулка | |
| 16 | 2765020-2800022 | Шпилька | |
| 17 | 700А.2800021 | Клин установочный | |
| 18 | 700А.2800033 | Шайба | |
| 19 | 700А.2800034-1 | Пружина | |
| 20 | 700А.2800035 | Защелка | |
| 21 | 700.2800016 | Лента уплотнительная | |
| 22 | М10х20 | Болт | |
| 23 | 3М16х40 | Болт | |
| 24 | М16х1,5х50 | Болт | |
| 25 | М20х1,5х50 | Болт | |
| 26 | М24 | Гайка | |
| 27 | 2.3.45.Ц6 | Масленка | |
| 28 | 090-100-58-1-3 | Кольцо | |
| 29 | 6-16В12х60 | Ось | |
| 30 | КГ1/8 | Пробка | |
| 31 | 16.01.019 | Шайба | |
| 32 | 24.01.019 | Шайба | |
| 33 | 16.65Г.05 | Шайба | |
| 34 | 20.65Г.05 | Шайба | |
| 35 | 3,2х20.016 | Шплинт | |
| 36 | КО1,6 | Проволока | |
| 37 | 744Р1-2811044 | Втулка |
Содержащиеся в справочниках-каталогах запасные части и детали не предлагаются к продаже, а носят исключительно информационный характер