Каталог запасных частей к технике: ПТЗ К-744Р2. Подшипники трактора
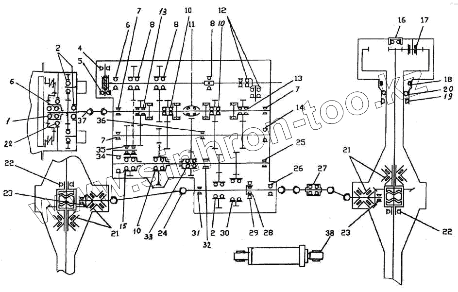
1
2
2
4
5
6
6
7
7
7
8
8
8
10
10
10
11
12
13
13
14
15
16
17
18
19
20
21
21
22
22
22
23
23
24
25
26
27
28
29
30
31
32
33
34
35
36
37
38
| Позиция на иллюстрации | Заводской номер детали | Название детали | |
|---|---|---|---|
| Вал карданный переднего моста | Вал карданный переднего моста | Вал карданный переднего моста | |
| Вал раздаточный | Вал раздаточный | Вал раздаточный | |
| Вал карданный опоры промежуточной | Вал карданный опоры промежуточной | Вал карданный опоры промежуточной | |
| Мост ведущий задний | Мост ведущий задний | Мост ведущий задний | |
| Редуктор привода насосов | Редуктор привода насосов | Редуктор привода насосов | |
| Мост ведущий задний | Мост ведущий задний | Мост ведущий задний | |
| Вал промежуточный коробки передач | Вал промежуточный коробки передач | Вал промежуточный коробки передач | |
| Вал грузовой коробки передач | Вал грузовой коробки передач | Вал грузовой коробки передач | |
| 1 | Подшипник 207 | Подшипник 207 | |
| 2 | Подшипник 118 | Подшипник 118 | |
| 4 | Подшипник 80201АС9 | Вал привода вала тахометра | |
| 5 | Подшипник 201 | Подшипник 201 | |
| 6 | Подшипник 308А | Вал привода насосов коробки передач | |
| 7 | Подшипник 2312КМ | Подшипник 2312КМ | |
| 8 | Подшипник 208 | Подшипник 208 | |
| 10 | Подшипник 214К5 | Вал ведущий коробки передач | |
| 11 | Подшипник 53516 | Вал ведущий коробки передач | |
| 12 | Подшипник 107 | Подшипник 107 | |
| 13 | Подшипник 42212Л2 | Вал ведущий коробки передач | |
| 14 | Подшипник 6-313 | Вал промежуточный коробки передач | |
| 15 | Подшипник 212 | Подшипник 212 | |
| 16 | Подшипник 209 | Подшипник 209 | |
| 17 | Подшипник 12312КМ | Мост ведущий передний | |
| 18 | Подшипник 2234КК | Мост ведущий передний | |
| 19 | Подшипник 32130Д | Мост ведущий передний | |
| 20 | Подшипник 130 | Подшипник 130 | |
| 21 | Подшипник 20-97520 | Подшипник 20-97520 | |
| 22 | Подшипник 122 | Подшипник 122 | |
| 23 | Подшипник 102313М | Подшипник 102313М | |
| 24 | Подшипник 804709К5 | Подшипник 804709К5 | |
| 25 | Подшипник 2314КМ | Подшипник 2314КМ | |
| 26 | Подшипник 218 | Подшипник 218 | |
| 27 | Подшипник 218 | Подшипник 218 | |
| 28 | Подшипник 643/50 | Вал раздаточный коробки передач | |
| 29 | Подшипник 6-220А | Вал раздаточный коробки передач | |
| 30 | Подшипник 120 | Подшипник 120 | |
| 31 | Подшипник 2218 | Вал раздаточный коробки передач | |
| 32 | Подшипник 102316 | Вал грузовой коробки передач | |
| 33 | Подшипник 36216 | Вал грузовой коробки передач | |
| 34 | Подшипник 412 | Подшипник 412 | |
| 35 | Подшипник 12309КМ | Подшипник 12309КМ | |
| 36 | Подшипник 92614 | Подшипник 92614 | |
| 37 | Подшипник 804707К4С10 | Вал карданный коробки передач | |
| 38 | Подшипник ШС50 | Цилиндры системы управления поворотом и системы навесного оборудования |
Содержащиеся в справочниках-каталогах запасные части и детали не предлагаются к продаже, а носят исключительно информационный характер