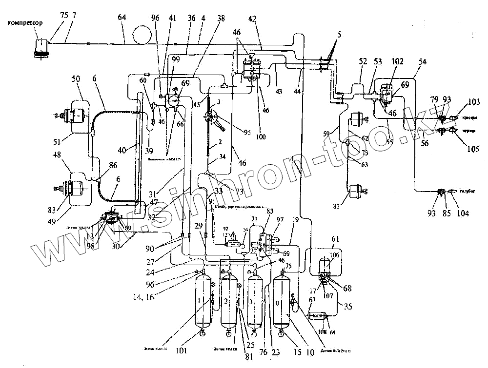
Каталог запасных частей к технике: ПТЗ K-744P1. Схема пневматическая соединений тормозной системы
1
2
3
4
5
6
6
7
10
12
13
14
15
16
17
19
21
22
23
24
25
26
27
29
30
31
32
33
34
35
36
38
39
40
41
42
43
44
45
46
46
46
46
46
46
47
48
49
50
51
52
53
54
55
56
59
60
61
62
63
64
66
67
68
69
69
69
69
69
73
73
75
75
76
79
81
83
83
83
85
86
90
91
92
93
93
95
96
96
97
98
99
100
101
102
103
104
105
106
107
108
| Позиция на иллюстрации | Заводской номер детали | Название детали | |
|---|---|---|---|
| 1 | 744Р-3500020 | Труба | |
| 2 | 744Р-3500130 | Рукав | |
| 3 | 744Р-3500130-01 | Рукав | |
| 4 | 2765020-3500100 | Труба | |
| 5 | 744Р-35000160 | Рукав | |
| 6 | 2765020-3500180 | Рукав | |
| 7 | 2765020-3500190 | Труба | |
| 10 | 700.35.13.000-1 | Баллон воздушный в сборе | |
| 12 | 744Р-3500011 | Переходник | |
| 13 | 744Р-3500012 | Переходник | |
| 14 | 744Р-3500014 | Переходник | |
| 15 | 744Р-3500015 | Переходник | |
| 16 | 744Р-3500016 | Штуцер | |
| 17 | 744Р-3500047 | Штуцер | |
| 19 | 744Р-3500018-02 | Труба | |
| 21 | 744Р-3500018-04 | Труба | |
| 22 | 744Р-3500018-05 | Труба | |
| 23 | 744Р-3500018-06 | Труба | |
| 24 | 744Р-3500018-07 | Труба | |
| 25 | 744Р-3500018-08 | Труба | |
| 26 | 744Р-3500018-09 | Труба | |
| 27 | 744Р-3500018-10 | Труба | |
| 29 | 744Р-3500018-12 | Труба | |
| 30 | 744Р-3500018-13 | Труба | |
| 31 | 744Р-3500018-14 | Труба | |
| 32 | 744Р-3500018-15 | Труба | |
| 33 | 744Р-3500018-16 | Труба | |
| 34 | 744Р-3500018-17 | Труба | |
| 35 | 744Р-3500018-18 | Труба | |
| 36 | 744Р-3500018-19 | Труба | |
| 38 | 744Р-3500018-021 | Труба | |
| 39 | 744Р-3500018-022 | Труба | |
| 40 | 744Р-3500018-23 | Труба | |
| 41 | 744Р-3500018-24 | Труба | |
| 42 | 744Р-3500018-25 | Труба | |
| 43 | 744Р-3500018-26 | Труба | |
| 44 | 744Р-3500018-27 | Труба | |
| 45 | 744Р-3500018-28 | Труба | |
| 46 | 744Р-3500018-29 | Труба | |
| 47 | 744Р-3500018-30 | Труба | |
| 48 | 744Р-3500018-31 | Труба | |
| 49 | 744Р-3500018-32 | Труба | |
| 50 | 744Р-3500018-33. | Труба | |
| 51 | 744Р-3500018-34 | Труба | |
| 52 | 744Р-3500018-35 | Труба | |
| 53 | 744Р-3500018-36 | Труба | |
| 54 | 744Р-3500018-37 | Труба | |
| 55 | 744Р-3500018-38 | Труба | |
| 56 | 744Р-3500018-39 | Труба | |
| 59 | 744Р-3500018-42 | Труба | |
| 60 | 744Р-3500018-43 | Труба | |
| 61 | 744Р-3500018-47 | Труба | |
| 62 | 744-3500017 | Труба | |
| 63 | 744-3500017-01 | Труба | |
| 64 | 2765020-3500011-04 | Труба | |
| 66 | 2765060-3500031 | Штуцер | |
| 67 | 2765060-3500029 | Пробка | |
| 68 | 2256010-3500036 | Штуцер | |
| 69 | 744Р-3500017 | Штуцер | |
| 73 | 2256010-3500071 | Тройник проходной | |
| 75 | 2256010-3500074 | Угольник | |
| 76 | 2256010-3500075 | Угольник | |
| 79 | 2256010-3500089-04 | Штуцер | |
| 81 | 700А.35.00.053 | Тройник | |
| 83 | 700А.35.00.063 | Штуцер | |
| 85 | 700.35.06.019-1 | Штуцер специальный | |
| 86 | 700.35.06.016-1 | Тройник | |
| 90 | [Рукав 10х17,5-1,5 ГОСТ 10362-76] | Рукав 10х17,5-1,5 ГОСТ 10362-76 | |
| 91 | [Рукав 6х14-1,6 ГОСТ 10362-76] | Рукав 6х14-1,6 ГОСТ 10362-76 | |
| 92 | [Клапан защитный одинарный Г-100-3515010 ОСТ 37.001.085-76] | Клапан защитный одинарный Г-100-3515010 ОСТ 37.001.085-76 | |
| 93 | [Кран разобщительный Кр-20-3520010 ТУ 37.306.359-77] | Кран разобщительный Кр-20-3520010 ТУ 37.306.359-77 | |
| 95 | 100-3537010 | Кран тормозной обратного действия с ручным управлением | |
| 96 | 100-3515310 | Клапан контрольного вывода | |
| 97 | 100-3515210 | Клапан защитный тройной | |
| 98 | 100-3518010 | Клапан ускорительный | |
| 99 | 100-3514008 | Кран тормозной двухсекционный с рычагом | |
| 100 | 100-3522010 | Клапан | |
| 101 | 100-3513110 | Кран слива конденсата | |
| 102 | 100-3522110 | Клапан управления тормозами прицепа с обновленным приводом | |
| 103 | 100-3521110 | Головка соединительная тип ПАЛМ красная | |
| 104 | 100-3521111 | Головка соединительная тип ПАЛМ голубая | |
| 105 | Г-100-3521010 | Головка соединительная типа «А» | |
| 106 | 4324102010 | Осушитель воздуха с регуляторов давления | |
| 107 | 4324071200 | Глушитель | |
| 108 | 9502050010 | Регенерационный баллон |
Содержащиеся в справочниках-каталогах запасные части и детали не предлагаются к продаже, а носят исключительно информационный характер