Каталог запасных частей к технике: МТЗ-923. Облицовка
922-8400005
1
2
3
4
4
4
5
5
5
5
6
7
8
9
10
11
12
12
12
12
13
13
13
13
13
14
14
14
15
16
17
18
19
20
21
22
23
24
25
26
27
28
28
29
30
31
32
32
32
33
33
33
34
35
36
37
38
38
38
38
39
40
41
42
43
44
44
44
45
46
47
48
49
50
51
53
54
54
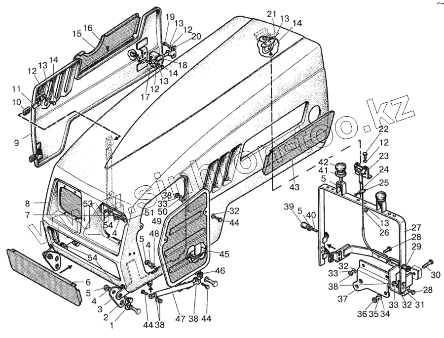
| Позиция на иллюстрации | Заводской номер детали | Название детали | |
|---|---|---|---|
| 922-8400005 | 922-8400005 | Облицовка в сборе | |
| 1 | ШЧ16 | Шайба | |
| 2 | 922-8400101 | Винт | |
| 3 | 922-8400104 | Опора | |
| 4 | ШП10 | Шайба | |
| 5 | М10 | Гайка | |
| 6 | 922-8401088 | Решетка | |
| 7 | 922-8402065 | Стойка | |
| 8 | 922-8402020 | Капот | |
| 9 | 922-8402320 | Боковина | |
| 10 | 90-8400013 | Накладка | |
| 11 | 922-8400014 | Захват | |
| 12 | ШЧ6 | Шайба | |
| 13 | ШП6 | Шайба | |
| 14 | М6х16 | Винт | |
| 15 | 922-8402380 | Решетка | |
| 16 | 4х10 | Шуруп | |
| 17 | 90-8402410 | Замок левый | |
| 18 | 90-8400056 | Втулка | |
| 19 | М6х20 | Винт | |
| 20 | 1321-8402095 | Фиксатор | |
| 21 | 1221-8402420 | Скоба | |
| 22 | М6х25 | Винт | |
| 23 | 80-8402410 | Замок | |
| 24 | ВМ5х12 | Винт | |
| 25 | 70-4803023 | Муфта | |
| 26 | М6 | Гайка | |
| 27 | 922-8402070 | Опора | |
| 28 | М8х40 | Болт | |
| 29 | 822-8400080 | Трос управления | |
| 30 | М12х55 | Болт | |
| 31 | 922-8402075 | Опора | |
| 32 | ШЧ8 | Шайба | |
| 33 | ШП8 | Шайба | |
| 34 | ШЧ12 | Шайба | |
| 35 | ШП12 | Шайба | |
| 36 | М12 | Гайка | |
| 37 | 822-8402110 | Экран | |
| 38 | М8 | Гайка | |
| 39 | 70-3401093 | Наконечник | |
| 40 | Шпилька М10х35 | Шпилька | |
| 41 | 1522-8400020 | Опора | |
| 42 | 80-3703016 | Амортизатор | |
| 43 | 922-8402023 | Решетка | |
| 44 | М8х30 | Болт | |
| 45 | 922-8402060 | Стойка | |
| 46 | 922-8400130 | Опора | |
| 47 | 21054 | Пневмоподъемник | |
| 48 | ШЧ10 | Шайба | |
| 49 | 822-8402130 | Решетка левая | |
| 50 | ШЧ8 | Шайба | |
| 51 | М10х20 | Болт | |
| 52 | ШЧ10 | Шайба | |
| 53 | 822-8402130-01 | Решетка правая | |
| 54 | 922-8400103 | Накладка |
Содержащиеся в справочниках-каталогах запасные части и детали не предлагаются к продаже, а носят исключительно информационный характер