Каталог запасных частей к технике: МТЗ-923. Электрооборудование по кабине
1
2
3
3
3
3
3
3
3
3
3
3
3
4
4
4
4
5
5
6
7
7
8
9
10
11
12
13
13
14
15
16
17
17
18
19
20
21
22
23
23
24
25
26
27
28
29
30
30
30
31
31
32
33
33
34
34
35
35
36
36
37
37
38
38
39
39
39
40
40
40
41
41
42
42
42
42
43
43
44
44
45
46
47
48
49
50
51
52
53
54
55
56
57
58
59
60
61
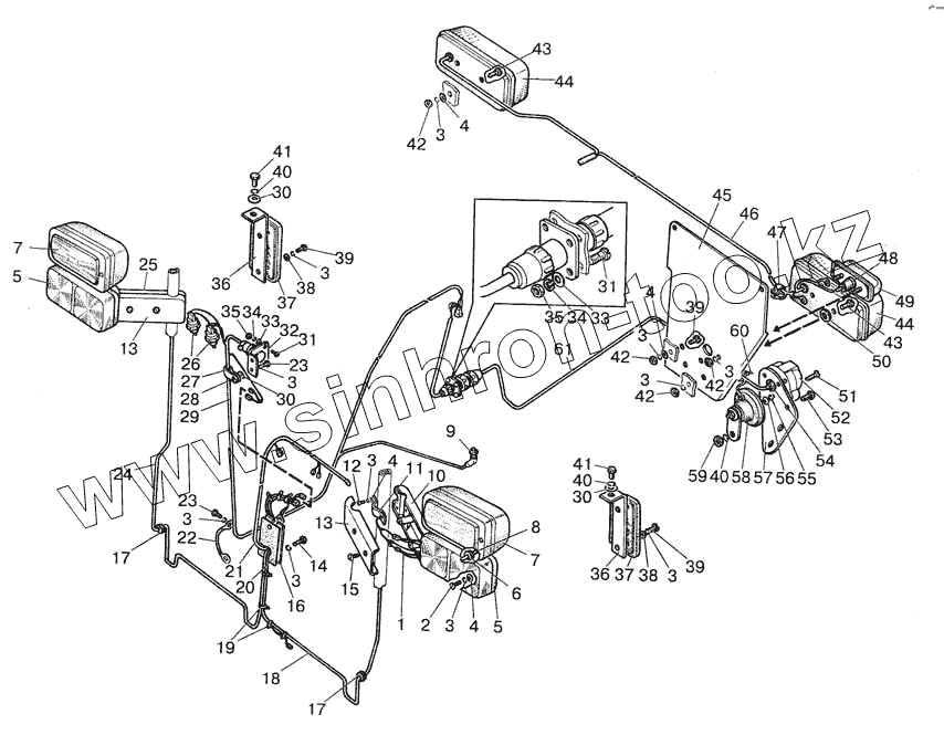
| Позиция на иллюстрации | Заводской номер детали | Название детали | |
|---|---|---|---|
| 1 | 923-3724140 | Жгут | |
| 2 | ВМ6х18 | Винт | |
| 3 | ШП6 | Шайба | |
| 4 | ШЧ6 | Шайба | |
| 5 | 3713.3712 | Фонарь передний | |
| 6 | 70-3723042-01 | Втулка | |
| 7 | 05.524.000 | Фара дорожная | |
| 8 | 923-3724141 | Жгут | |
| 9 | ВК409 | Выключатель | |
| 10 | 1522-3712005-01 | Кронштейн | |
| 11 | 1522-3712007 | Скоба | |
| 12 | М6х18 | Винт | |
| 13 | 1522-3712003 | Кронштейн | |
| 14 | М6х25 | Винт | |
| 15 | ВМ6х18 | Винт | |
| 16 | 923-3712017 | Кронштейн | |
| 17 | 923-3723042 | Втулка | |
| 18 | 923-3724142 | Жгут | |
| 19 | 80-3723045 | Манжета | |
| 20 | 923-3712016 | Прокладка | |
| 21 | 923-3724130 | Жгут | |
| 22 | 822-3724012 | Провод | |
| 23 | М6х12 | Винт | |
| 24 | 923-3724146 | Жгут | |
| 25 | 1522-3712005 | Кронштейн | |
| 26 | ВК12-2 | Выключатель | |
| 27 | ПР-32-04 | Уплотнитель | |
| 28 | 822-3723044 | Хомутик | |
| 29 | 923-3724100 | Жгут кабины | |
| 30 | ШЧ10 | Шайба | |
| 31 | ВМ3х16 | Винт | |
| 32 | 923-3723003 | Кронштейн | |
| 33 | ШЧ3 | Шайба | |
| 34 | ШП3 | Шайба | |
| 35 | М3 | Гайка | |
| 36 | Ф50-3731011 | Кронштейн | |
| 37 | 3202.3731 | Световозвращатель | |
| 38 | ШП6 | Шайба | |
| 39 | ВМ6х16 | Винт | |
| 40 | ШП8 | Шайба | |
| 41 | М8х14 | Болт | |
| 42 | М6 | Гайка | |
| 43 | ВМ6х20 | Винт | |
| 44 | 7303.3716 | Фонарь задний | |
| 45 | 923-3716011 | Кронштейн | |
| 46 | 923-3724160-Б | Жгут | |
| 47 | 70-1115012-04 | Хомутик | |
| 48 | 54.24.445-Б | Наконечник | |
| 49 | ФП131А | Фонарь освещения номерного знака | |
| 50 | 80-6708904 | Прокладка | |
| 51 | ВМ5х35 | Винт | |
| 52 | Р9-1 | Розетка | |
| 53 | М8х20 | Болт | |
| 54 | ЦИКС 754524009 | Чехол | |
| 55 | ШП5 | Шайба | |
| 56 | М5 | Гайка | |
| 57 | 923-3723041 | Кронштейн | |
| 58 | 20.3721-01 | Прибор звуковой сигнализации | |
| 59 | М8 | Гайка | |
| 60 | 80-3723045-01 | Манжета | |
| 61 | 923-3724201-Б | Жгут розетки |
Содержащиеся в справочниках-каталогах запасные части и детали не предлагаются к продаже, а носят исключительно информационный характер