Каталог запасных частей к технике: МТЗ-922. Механизм управления коробкой передач
1
1
2
2
3
4
4
5
6
6
6
7
8
9
10
11
12
13
14
15
16
17
17
17
18
19
19
20
20
21
21
21
21
22
22
22
22
23
23
24
24
25
26
27
27
28
29
30
31
32
33
34
35
36
37
38
39
40
41
42
43
44
45
46
46
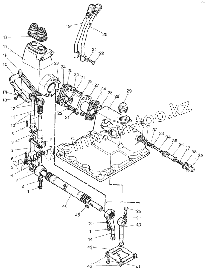
| Позиция на иллюстрации | Заводской номер детали | Название детали | |
|---|---|---|---|
| 1 | 922-1702021 | Болт | |
| 2 | 50-1702107 | Шайба | |
| 3 | 922-1702017 | Рычаг | |
| 4 | 922-1702020 | Вал | |
| 4 | 923-1702020 | Вал | |
| 5 | М12 | Гайка | |
| 6 | 3,8х18 | Шплинт | |
| 7 | 80-1702108 | Болт | |
| 8 | 922-1702018 | Вилка | |
| 9 | 12х32 | Палец | |
| 10 | 80С-1702074 | Вилка | |
| 11 | 77.37.117 | Пружина | |
| 12 | 142-1702032 | Сфера | |
| 13 | М6х14 | Болт | |
| 14 | ШП6 | Шайба | |
| 15 | 922-1702023 | Крышка | |
| 16 | 922-1702024 | Прокладка | |
| 17 | 922-1702011 | Корпус | |
| 17 | 922-1702090 | Корпус (1-18, 23, 24, 45, 46) | |
| 17 | 922-1702090-02 | Корпус (1-18, 23, 24, 45, 46) | |
| 18 | 922-1702019 | Чехол | |
| 19 | 922-1702060 | Рычаг | |
| 19 | 923-1702060 | Рычаг | |
| 20 | 922-1702050 | Рычаг | |
| 20 | 923-1702050 | Рычаг | |
| 21 | ШП10 | Шайба | |
| 22 | М10х30 | Болт | |
| 23 | ШЦК10х25 | Штифт | |
| 24 | 922-1702026 | Прокладка | |
| 25 | ВК12-4 | Выключатель блокировки промежуточного реле | |
| 26 | 923-1702023 | Заглушка | |
| 27 | 922-1702012 | Проставка | |
| 27 | 922-1702012-01 | Проставка | |
| 28 | 922-1702025 | Крышка | |
| 29 | ПК КГ1 1/4'' | Пробка | |
| 30 | М8 | Гайка | |
| 31 | ШЧ8 | Шайба | |
| 32 | А09.01.023 | Пружина | |
| 33 | ШЧ8 | Шайба | |
| 34 | 922-1702022 | Винт | |
| 35 | 80С-1702301 | Втулка | |
| 36 | 922-1702303 | Фиксатор | |
| 37 | 922-1702304 | Пружина | |
| 38 | 80-1702098 | Шайба | |
| 39 | 80С-1702302 | Корпус | |
| 40 | 70-1703011 | Рычаг | |
| 41 | М10х18 | Болт | |
| 42 | 50-1702107-А | Пластина стопорная | |
| 43 | 922-1703084 | Пластина | |
| 44 | 922-1702016 | Рычаг | |
| 45 | СШ611 | Шпонка 6x11 | |
| 46 | 922-1702015 | Труба | |
| 46 | 923-1702015 | Труба |
Содержащиеся в справочниках-каталогах запасные части и детали не предлагаются к продаже, а носят исключительно информационный характер