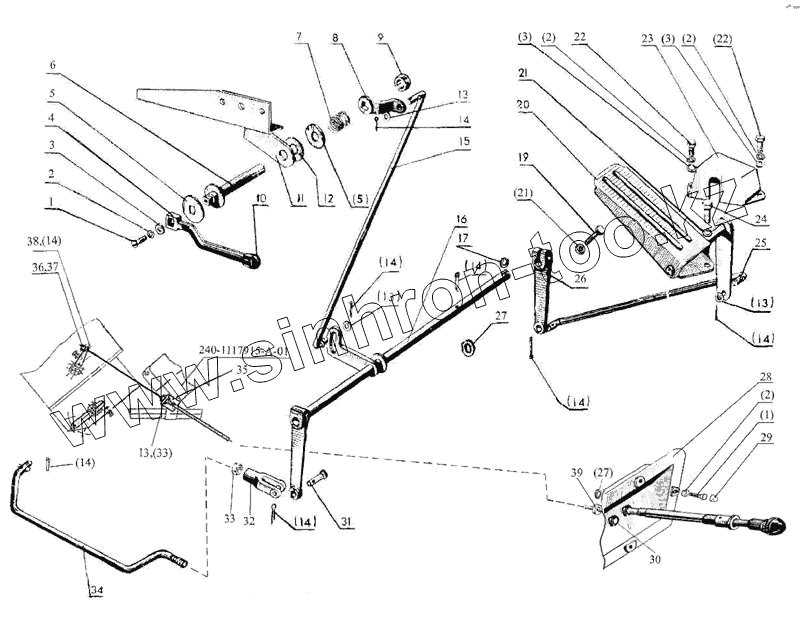
Каталог запасных частей к технике: МТЗ-90/92. Управление подачей топлива
70-1108005-Б1
1
1
2
2
2
2
3
3
3
4
5
5
6
7
8
9
10
11
12
13
13
13
13
14
14
14
14
14
14
14
14
15
16
17
19
20
21
21
22
22
23
24
25
26
27
27
28
29
30
31
32
33
33
34
35
36
37
38
39
| Позиция на иллюстрации | Заводской номер детали | Название детали | |
|---|---|---|---|
| 70-1108005-Б1 | 70-1108005-Б1 | Подача топлива | |
| 1 | М6х12 | Винт | |
| 2 | ШП6 | Шайба | |
| 3 | ШЧ6 | Шайба | |
| 4 | 70-1108271 | Рукоятка | |
| 5 | 50-1108148 | Шайба | |
| 6 | 70-1108260 | Валик | |
| 7 | А20-245-Б | Пружина | |
| 8 | 50-1108146 | Рычаг | |
| 9 | М14х1,5 | Гайка | |
| 10 | 70-3401093 | Наконечник | |
| 11 | 70-1108250 | Кронштейн | |
| 12 | 70-1108178 | Шайба | |
| 13 | ШЧ8 | Шайба | |
| 14 | 3,2x18 | Шплинт | |
| 15 | 70-1108167-Б1 | Тяга | |
| 16 | 70-1108230 | Валик | |
| 17 | 50-1108044 | Шпонка | |
| 19 | М8х25 | Болт | |
| 20 | 70-1108220 | Педаль | |
| 21 | ШП8 | Шайба | |
| 22 | М6х16 | Винт | |
| 23 | 70-1108244 | Коробка | |
| 24 | М8х20 | Болт | |
| 25 | 70-1108063 | Тяга | |
| 26 | 70Х-1108043 | Рычаг | |
| 27 | ШЧ12 | Шайба | |
| 28 | 70-1115020 | Щиток управления | |
| 29 | А30.04.017 | Колпачок | |
| 30 | 70-3723023 | Втулка | |
| 31 | 8x30 | Палец | |
| 32 | А20.213-А | Вилка | |
| 33 | М8 | Гайка | |
| 34 | 70-1108116 | Тяга | |
| 35 | 80-1108026 | Кронштейн | |
| 36 | 70-1310441 | Фиксатор | |
| 37 | М4х10 | Винт | |
| 38 | 80-1108317 | Бонка | |
| 39 | М12х1,25 | Гайка |
Содержащиеся в справочниках-каталогах запасные части и детали не предлагаются к продаже, а носят исключительно информационный характер